EasyManua.ls Logo

Commodore C16 - RF Modulator Layout and Schematic

Commodore C16
22 pages
Print Icon
To Next Page IconTo Next Page
To Next Page IconTo Next Page
To Previous Page IconTo Previous Page
To Previous Page IconTo Previous Page
Loading...
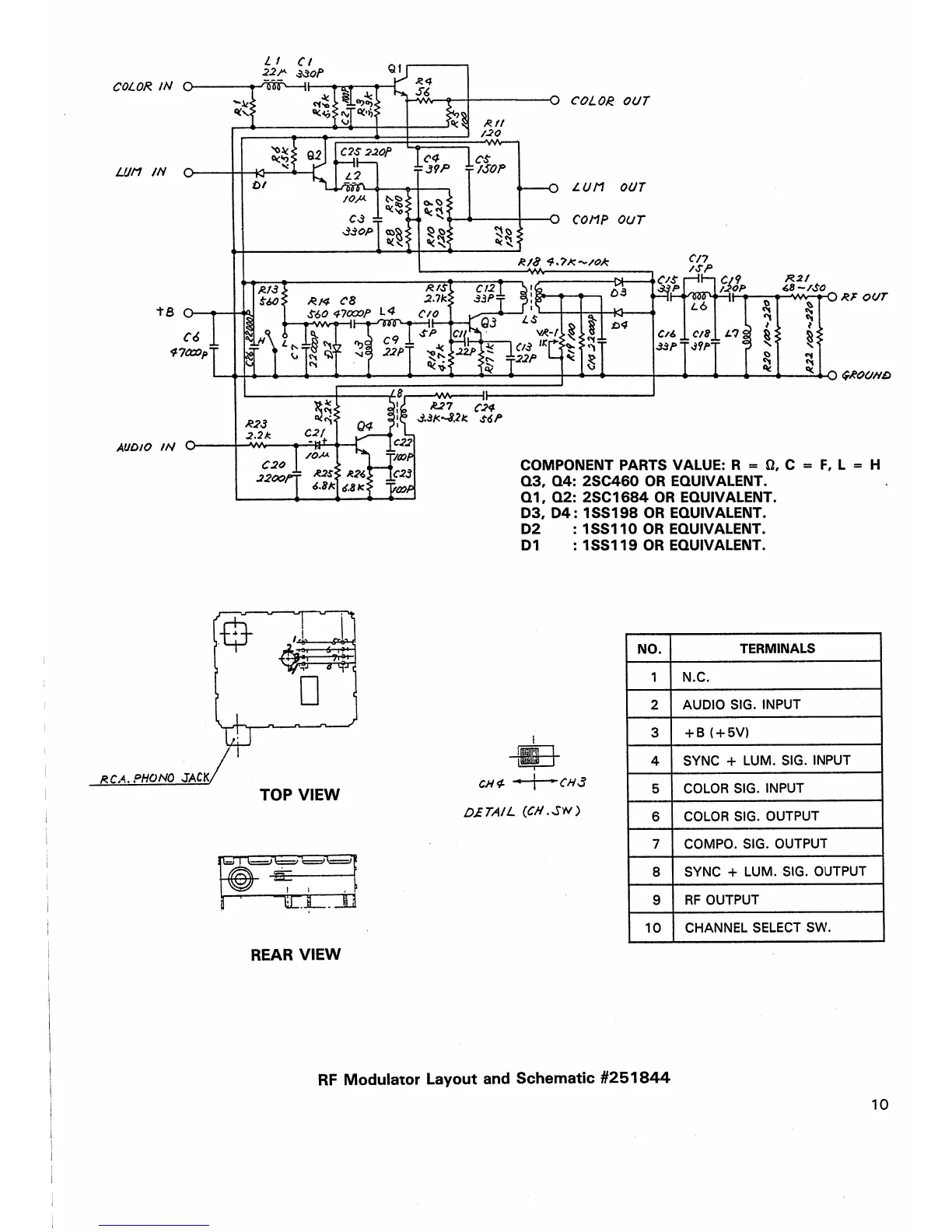
COLOR
IN
O
LUM
/N
ta
o
AUD/O /N
O
O
COLOR.
OUT
OUT
COMPONENT
PARTS
VALUE:
R
=
Q,
C
Q3,
Q4:
2SC460
OR
EQUIVALENT.
Q1,
Q2:
2SC1684
OR
EQUIVALENT.
D3,
D4:
1SS198
OR
EQUIVALENT.
D2
:
1SS110
OR
EQUIVALENT.
D1
:
1SS119
OR
EQUIVALENT.
F,
L
=
H
RCA.
PHONO
JAC
TOP
VIEW
NO.
1
2
3
4
5
6
7
8
9
10
TERMINALS
N.C.
AUDIO
SIG.
INPUT
+
B
(
+
5V)
SYNC
+
LUM.
SIG.
INPUT
COLOR
SIG.
INPUT
COLOR
SIG.
OUTPUT
COMPO.
SIG.
OUTPUT
SYNC
+
LUM.
SIG.
OUTPUT
RF
OUTPUT
CHANNEL
SELECT
SW.
REAR
VIEW
RF
Modulator
Layout
and
Schematic
#251844
10

Related product manuals