EasyManua.ls Logo

Compex energy - Page 128

Compex energy
Print Icon
To Next Page IconTo Next Page
To Next Page IconTo Next Page
To Previous Page IconTo Previous Page
To Previous Page IconTo Previous Page
Loading...
126
Español
Regulación de las energías de
estimulación
Cuando se pone en marcha el programa,
el Compex le invita a aumentar las
energías de estimulación, elemento clave
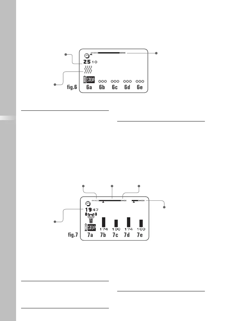
Duración del programa
en minutos y
segundos
El símbolo del humo
en movimiento
representa la
secuencia de
calentamiento
Barra de progresión
de la sesión. Para conocer
los detalles de su
funcionamiento,
ver el apartado siguiente
"Avance del programa"
6a Para pasar al modo pausa, pulse la tecla
Encender/Apagar.
6b c d e El Compex hace "bip" y los símbolos
de los cuatro canales pestañean, pasando
de + a 000: los cuatro canales están a 000
de energía. Debe Ud. subir la energía de
estimulación para iniciar la sesión. Para ello,
pulse en el + de las teclas de los canales
requeridos hasta alcanzar el nivel deseado.
Si desea aumentar la energía en los cuatro
canales a la vez, pulse la tecla "i", situada bajo la
tecla Encender/Apagar. Es posible así mismo
aumentar la energía en los tres primeros canales
al mismo tiempo, pulsando dos veces la tecla "i",
7a Para interrumpir momentáneamente el
programa, pulse la tecla Encender/Apagar.
Para reiniciar la sesión, sólo tiene que pulsar la
tecla +/- del canal 4. La sesión se vuelve a poner
en marcha con una energía equivalente al 80%
de la que se estaban utilizando antes de la
interrupción.
7 b c d e El nivel de las energías alcanzado
durante la fase de contracción se expresa
mediante un gráfico de barras negras, mientras
que en la fase de reposo activo se representa
por medio de un gráfico de barras rayadas.
Desarrollo de la sesión
Calentamiento Sesión de trabajo Relajación
Tiempo que queda
en minutos y
segundos antes
del final del
programa
Barra de duración
de los tiempos de
contracción y de reposo
activo.
Se muestra durante la
sesión de trabajo
para una estimulación eficaz. Consulte las
aplicaciones específicas en relación con el
nivel de energía que se debe alcanzar con
cada programa.
o en los dos primeros canales únicamente,
pulsando tres veces esta tecla. Cuando pulse la
tecla "i", los canales asociados aparecerán en
blanco sobre un fondo negro.
Avance del programa
La estimulación comienza después de
subir las energías de estimulación.
Los ejemplos que a continuación se
reproducen sirven como normas
generales.
Importante: Las energías de estimulación
durante la fase de reposo activo se fijan
automáticamente en un 50% de la energía de
estimulación de la fase de contracción. Puede
modificarlas durante la fase de reposo.
En dicho caso, las energías de estimulación de la
fase de reposo activo son totalmente
independientes de las energías de la fase de
contracción.
ENERGY2 FR DE IT ES EN:ENGY Man FR 31/01/08 14:36 Page 126

Table of Contents

Related product manuals