EasyManua.ls Logo

Compex energy - Page 56

Compex energy
Print Icon
To Next Page IconTo Next Page
To Next Page IconTo Next Page
To Previous Page IconTo Previous Page
To Previous Page IconTo Previous Page
Loading...
54
Deutsch
Einstellung der
Stimulationsenergie
Beim Start des Programms werden Sie
aufgefordert, die Stimulationsenergie, das
Schlüsselelement für den Erfolg der
Programmdauer in
Minuten und
Sekunden
Die oben abgebildeten
Heizschlangen
signalisieren die
Aufwärmphase
Fortschrittsanzeige der
Sitzung. Genauere
Informationen hierüber
enthält der folgende
Abschnitt "Fortschreiten
des Programms”
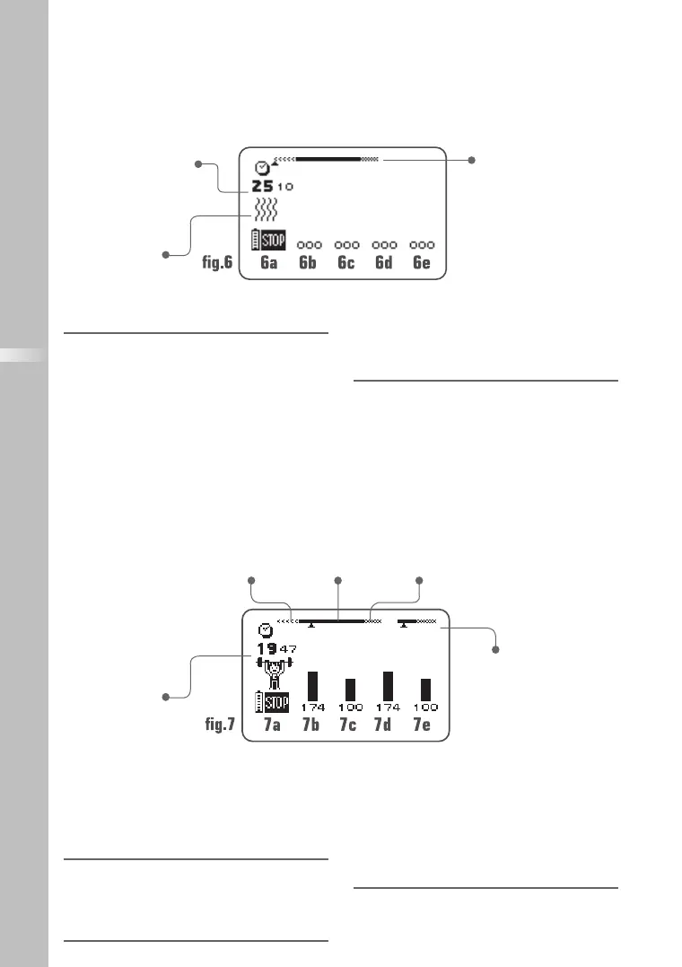
6a Durch Drücken der Ein/Aus-Taste schalten
Sie das Gerät auf Pause.
6b c d e Der Compex gibt ein Tonsignal, die
Symbole der vier Kanäle blinken und zeigen
alternierend + und 000: Die Stimulationsenergie
beträgt 0. Um mit der Stimulation zu beginnen,
erhöhen Sie die Stimulationsenergie Drücken Sie
dafür die +-Taste des jeweiligen Kanals, bis die
gewünschte Einstellung erreicht ist. Wenn Sie die
Energie auf allen vier Kanälen gleichzeitig erhöhen
möchten, drücken Sie die Taste "i" unterhalb der
Ein/Aus-Taste. Sie haben auch die Möglichkeit,
die Energie nur auf den ersten drei Kanälen
gleichzeitig zu erhöhen: Hierzu drücken Sie
zweimal die Taste "i". Und schließlich können Sie
7a Mit der Ein/Aus-Taste können Sie das
Programm zeitweise unterbrechen. Um das
Programm fortzusetzen, drücken Sie die Taste
+/- des Kanals 4. Nach einer Unterbrechung
beginnt die Stimulation mit einer Energie von
80% des Werts vor der Unterbrechung.
7 b c d e Die während der Kontraktionsphase
erreichte Energie wird mittels einer schwarzen
Balkendarstellung dokumentiert und die während
der aktiven Erholungsphase erreichte Energie
wird schraffiert angezeigt.
Ablauf der Sitzung
Aufwärmen Arbeitssitzung Entspannung
Restzeit (in Minuten
und Sekunden) bis
zum Ende des
Programms
Balken zur Anzeige der Dauer
der Kontraktionszeiten und der
aktuellen Phase (Kontraktions-
oder aktive Ruhephase)
Wird während der
Arbeitssequenz angezeigt
Behandlung, zu erhöhen. Die Höhe der je
nach Programm einzustellenden Energie
können Sie in den Spezifischen
Anwendungen nachschauen.
die Energie auch nur auf den ersten beiden
Kanälen erhöhen: Hierzu drücken Sie dreimal
diese Taste. Wenn Sie die Taste "i" drücken,
werden die verbundenen Kanäle in weiß auf
schwarzem Hintergrund angezeigt.
Fortschreiten des Programms
Die tatsächliche Stimulation beginnt erst
nach der Erhöhung der
Stimulationsenergie. Die unten
aufgeführten Beispiele reichen jedoch aus,
um die wichtigsten allgemeinen Regeln zu
veranschaulichen.
Anm.: Die Stimulationsenergie in der aktiven
Erholungsphase wird automatisch auf 50% der
Energie während der Kontraktionsphase
festgelegt. Sie können sie während der
Erholungsphase ändern. In diesem Fall ist die
Stimulationsenergie der Erholungsphase
vollkommen unabhängig von der während der
Kontraktionsphase abgegebenen Energie.
ENERGY2 FR DE IT ES EN:ENGY Man FR 31/01/08 14:35 Page 54

Table of Contents

Related product manuals