EasyManua.ls Logo

CONSTRUCTA CA328355 - Grundeinstellungen

CONSTRUCTA CA328355
Print Icon
To Next Page IconTo Next Page
To Next Page IconTo Next Page
To Previous Page IconTo Previous Page
To Previous Page IconTo Previous Page
Loading...
Grundeinstellungen de
11
12 Grundeinstellungen
Sie können Ihr Gerät auf Ihre Bedürfnisse einstellen.
12.1 Übersicht über die Grundeinstellungen
Hier erhalten Sie eine Übersicht über die Grundein-
stellungen und die werksseitig voreingestellten Werte.
An-
zeige
Auswahl
Automatische Kindersicherung
– Ausgeschaltet
1
– Eingeschaltet
– Manuelle und automatische Kindersiche-
rung sind ausgeschaltet.
Signalton
– Bestätigungssignal und Fehlbedienungs-
signal sind ausgeschaltet. Das Hauptschalter-
signal bleibt eingeschaltet.
– Nur das Fehlbedienungssignal ist einge-
schaltet.
– Nur das Bestätigungssignal ist einge-
schaltet.
– Bestätigungssignal und Fehlbedienungs-
signal sind eingeschaltet.
1
Energieverbrauchsanzeige
Erfragen Sie die Netzspannung bei ihrem
Elektrizitätsversorger.
– Verbrauchsanzeige ist ausgeschaltet.
1
– Verbrauchsanzeige bei Netzspannung
230V.
– Verbrauchsanzeige bei Netzspannung
400V.
– Verbrauchsanzeige bei Netzspannung
220V.
– Verbrauchsanzeige bei Netzspannung
240V.
Automatischer Timer
– Ausgeschaltet.
1
⁠- – Dauer, nach der die Kochstellen aus-
schalten.
Dauer des Timer-Ende-Signals
– 10Sekunden.
1
– 30Sekunden.
– 1Minute.
Zuschaltung der Heizkörper
– Ausgeschaltet
– Eingeschaltet
– Die letzte Einstellung vor dem Ausschal-
ten der Kochstelle.
1
Auf die Werkseinstellung zurücksetzen
– Ausgeschaltet.
1
– Eingeschaltet.
1
Werkseinstellung
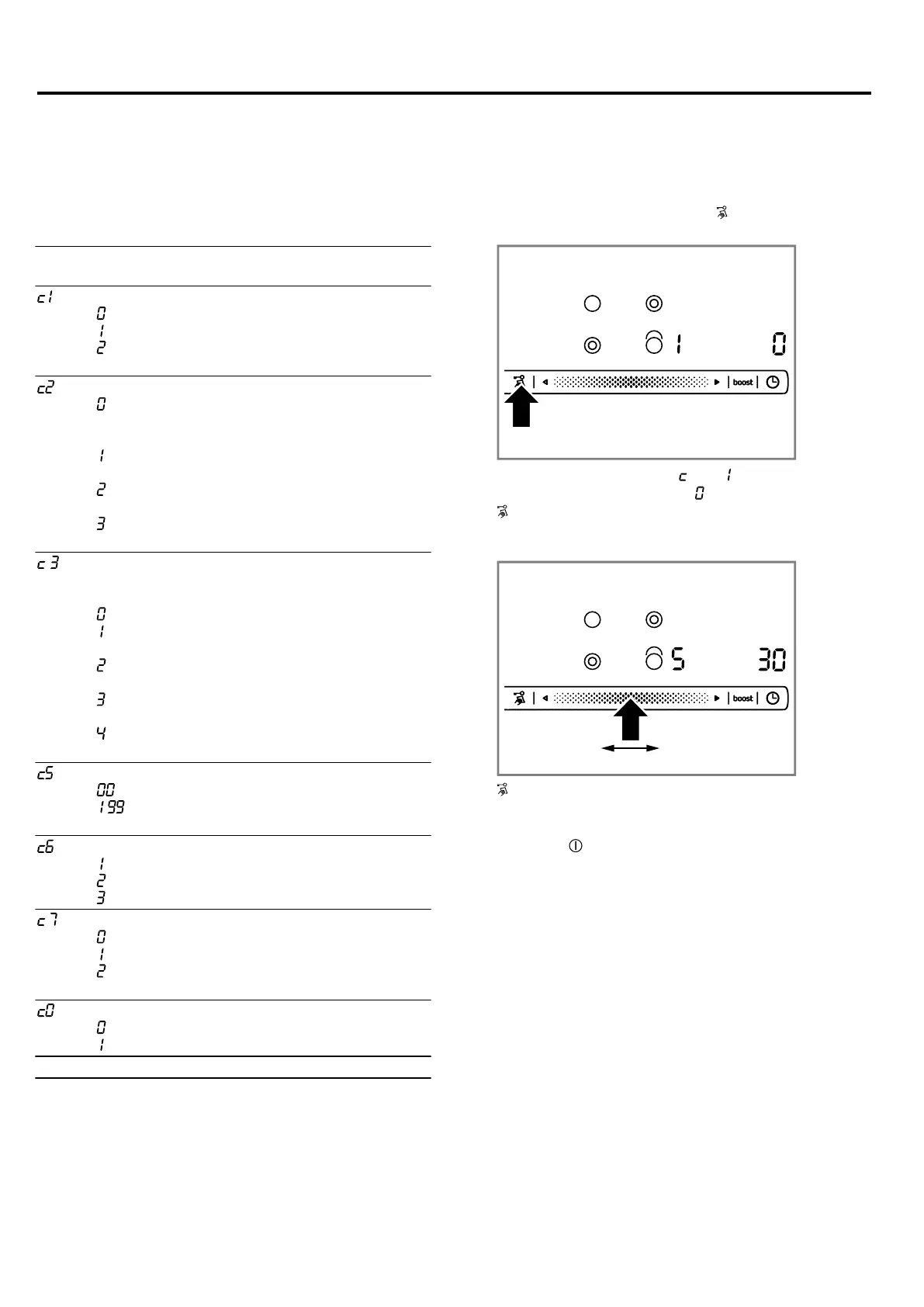
12.2 Grundeinstellung ändern
Voraussetzung:Das Kochfeld ist ausgeschaltet.
1.
Das Kochfeld einschalten.
2.
In den nächsten 10Sekunden 4Sekunden ge-
drückt halten.
a Im linken Display blinken und abwechselnd.
a Im rechten Display leuchtet ⁠.
3.
so oft tippen, bis im linken Display die gewünsch-
te Anzeige erscheint.
4.
Im Einstellbereich den gewünschten Wert einstellen.
5.
4Sekunden gedrückt halten.
a Die Einstellung ist aktiviert.
Tipp:Um die Grundeinstellungen zu verlassen, das
Kochfeld mit ausschalten. Das Kochfeld wieder ein-
schalten und neu einstellen.

Related product manuals