EasyManua.ls Logo

CONSTRUCTA CA328355 - Cleaning and Servicing

CONSTRUCTA CA328355
Print Icon
To Next Page IconTo Next Page
To Next Page IconTo Next Page
To Previous Page IconTo Previous Page
To Previous Page IconTo Previous Page
Loading...
Cleaning and servicing en
35
Dis-
play
Selection
Energy consumption display
Ask your electricity supplier what the mains
voltage is.
– Consumption display is switched off.
1
– Consumption display at mains voltage of
230V.
– Consumption display at mains voltage of
400V.
– Consumption display at mains voltage of
220V.
– Consumption display at mains voltage of
240V.
Automatic timer
- Switched off.
1
⁠- - Cooking time after which the hotplates
switch off.
Duration of the timer end signal
– 10seconds.
1
– 30seconds.
– 1minute.
Activation of the heating elements
– Switched off
– Switched on
– The last setting before switching off the
hotplate.
1
Resetting to the factory settings
– Switched off.
1
– Switched on.
1
Factory setting
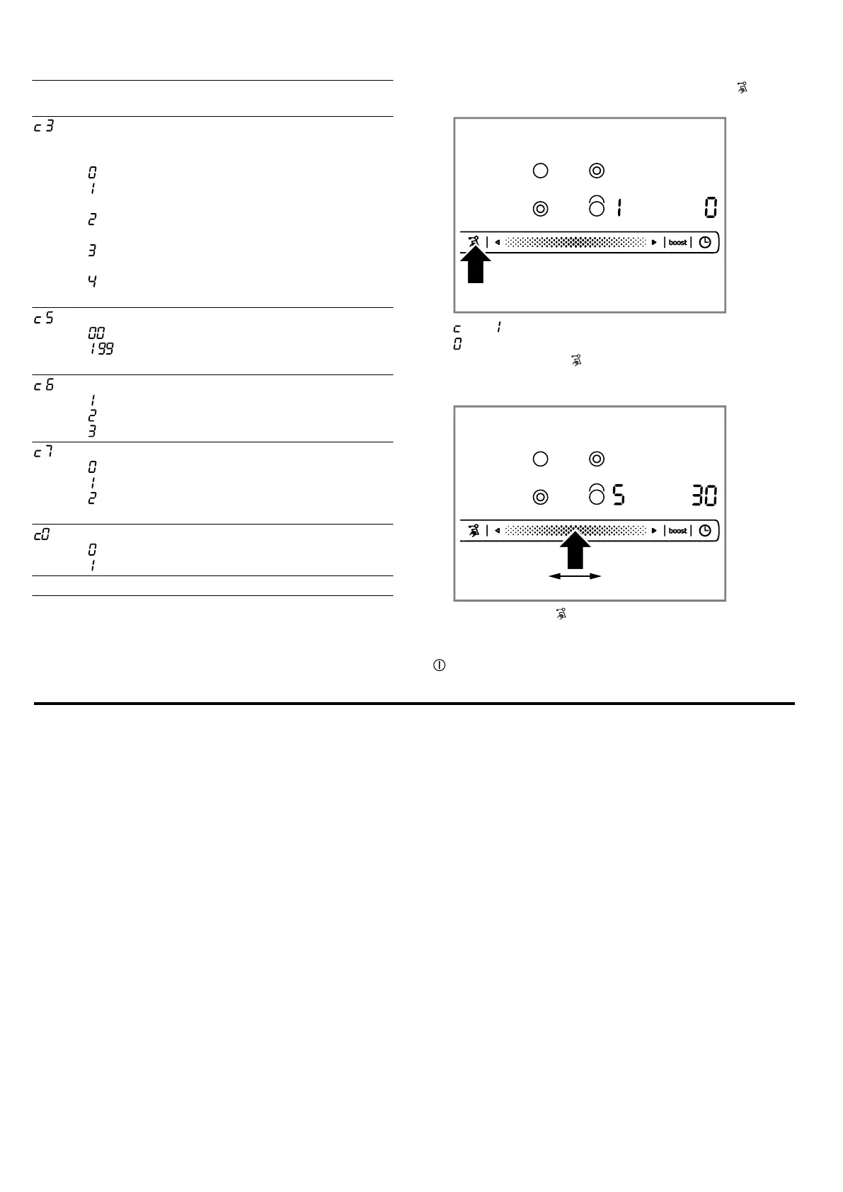
12.2 Changing basic settings
Requirement:The hob is switched off.
1.
Switch on the hob.
2.
Within the next 10seconds press and hold for ap-
prox. 4seconds.
a and flash alternately on the left-hand display.
a lights up on the right-hand display.
3.
Repeatedly touch until the required indicator ap-
pears on the left-hand display.
4.
Set the required value on the control panel.
5.
Press and hold for 4seconds.
a The setting is activated.
Tip:To exit the basic settings, switch off the hob using
. Switch the hob on again and reset.
13 Cleaning and servicing
To keep your appliance working efficiently for a long
time, it is important to clean and maintain it carefully.
13.1 Cleaning products
You can obtain suitable cleaning products and glass
scrapers from customer service, the online shop or a
retailer.
ATTENTION!
Unsuitable cleaning products may damage the sur-
faces of the appliance.
Never use unsuitable cleaning products.
Unsuitable cleaning products
¡ Undiluted detergent
¡ Detergent intended for dishwashers
¡ Abrasive cleaners
¡ Aggressive cleaning products such as oven spray
or stain remover
¡ Abrasive sponges
¡ High-pressure or steam jet cleaners
13.2 Cleaning the glass ceramic
Clean the hob after every use to stop cooking residues
from getting burnt on.
Note:"Note the information on unsuitable cleaning
products." →Page35
Requirement:The hob has cooled down.
1.
Remove heavy dirt using a glass scraper.
2.
Clean the hob with a cleaning product for glass
ceramic.
Follow the cleaning instructions on the product
packaging.
Tip:You can achieve good cleaning results if you
use a special sponge for glass ceramic.
13.3 Cleaning the hob surround
Clean the hob frame after use if dirty or stained.
Notes
¡ "Note the information on unsuitable cleaning
products." →Page35
¡ Do not use the glass scraper.

Related product manuals