EasyManua.ls Logo

Cornwell Tools CTJTJ1KA - Page 5

Cornwell Tools CTJTJ1KA
6 pages
Print Icon
To Next Page IconTo Next Page
To Next Page IconTo Next Page
To Previous Page IconTo Previous Page
To Previous Page IconTo Previous Page
Loading...
-Save these instructions-
1-67
1-66
1-65
1-64
1-63
1-84
1-83
1-87
1-62
1-61
1-60
1-56
1-59
1-58
1-57
1-55
2-3
2-2
2-4
2-7
1-29
1-29
1-29
1-5
1-9
1-3
1-8
1-3
1-2
1-5
1-85
C
C
D
D
B
B
A
1-85
1-85
1-4
2-4
2-7
2-2
2-3
2-5
2-6
2-6
2-6
2-4
2-3
2-2
2-1
2-5
3-17
3-15
3-11
3-22
3-13
3-18
3-16
3-26
3-9
3-21
3-19
3-8
3-16
3-15
3-10
3-12
3-18
3-17
3-14
3-14
3-31
3-20
3-30
3-29
3-28
3-2
3-21
3-27
3-5
3-5A
3-5B
3-5C
3-4
3-3
3-1
3-2
3-23
3-24
3-25
3-6
3-7
1-71
1-50
1-70
1-69
1-68
1-51
1-52
1-54
1-53
1-47
1-48
1-49
1-23
1-81
1-3
1-82
1-79
1-78
1-77
1-76
1-75
1-74
1-73
1-74
1-73
1-72
1-80
1-46
1-45
1-44
1-44
1-43
1-43
1-42
1-42
1-41
1-39
1-38
1-39
1-38
1-37
1-36
1-88
1-35
1-33
1-32
1-1A
1-7
1-69
1-6
1-34A
1-86
1-40
1-10
1-11
1-12
1-29
1-28
1-21
1-26
1-27
1-20
1-20
1-22
1-24
1-25
1-23
1-21
1-19
1-17
1-15
1-30
1-18
1-18
1-16
1-16
1-14
1-14
1-19
1-17
1-15
1-13
1-31
1-56
1-51
1-52
1-53
1-54
1-50
1-55
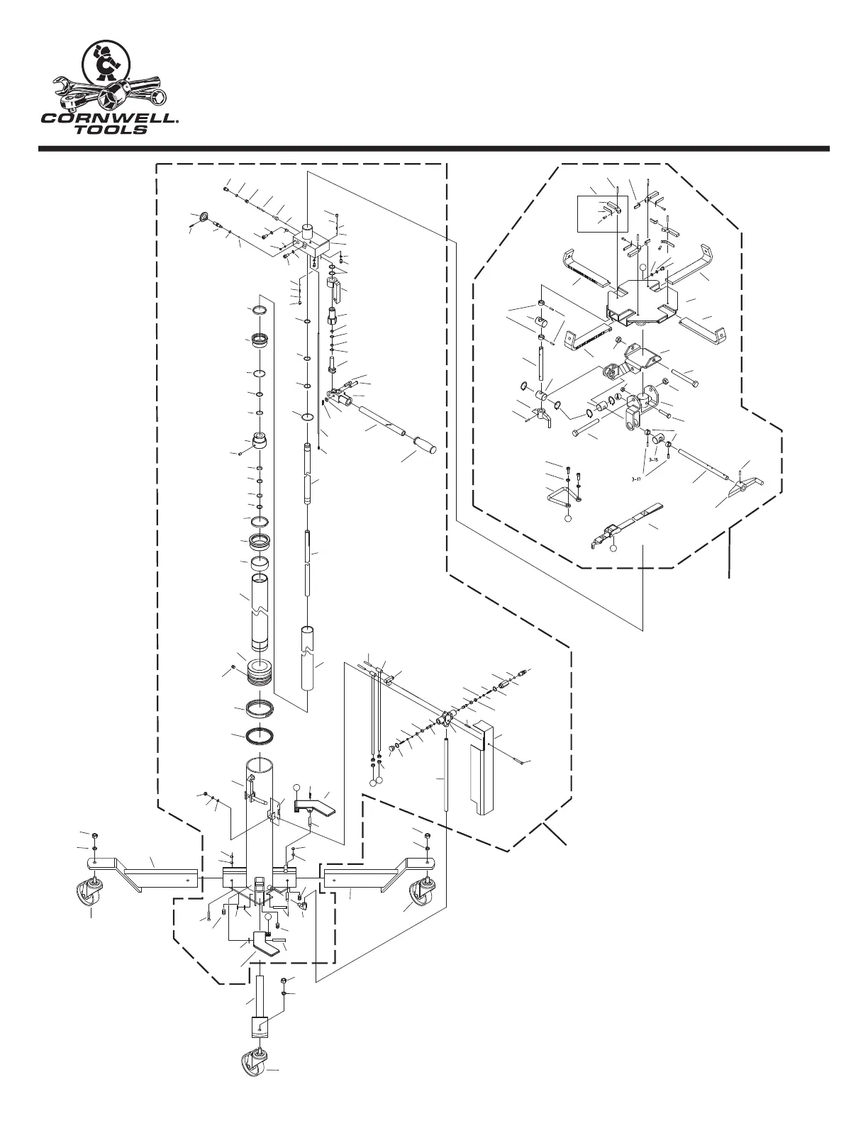
CTJTJ1KAPUNIT
Complete Replacement
Hydraulic Unit Assembly
RS1000SA
Complete
Saddle
Assembly
CTJTJ1KA 5 03/23/20
CTJTJ1KA
1,000 Lb. Telescoping Transmission
Jack with Air

Related product manuals