EasyManua.ls Logo

Creda C561E/R561E - Control Panel

Creda C561E/R561E
48 pages
Print Icon
To Next Page IconTo Next Page
To Next Page IconTo Next Page
To Previous Page IconTo Previous Page
To Previous Page IconTo Previous Page
Loading...
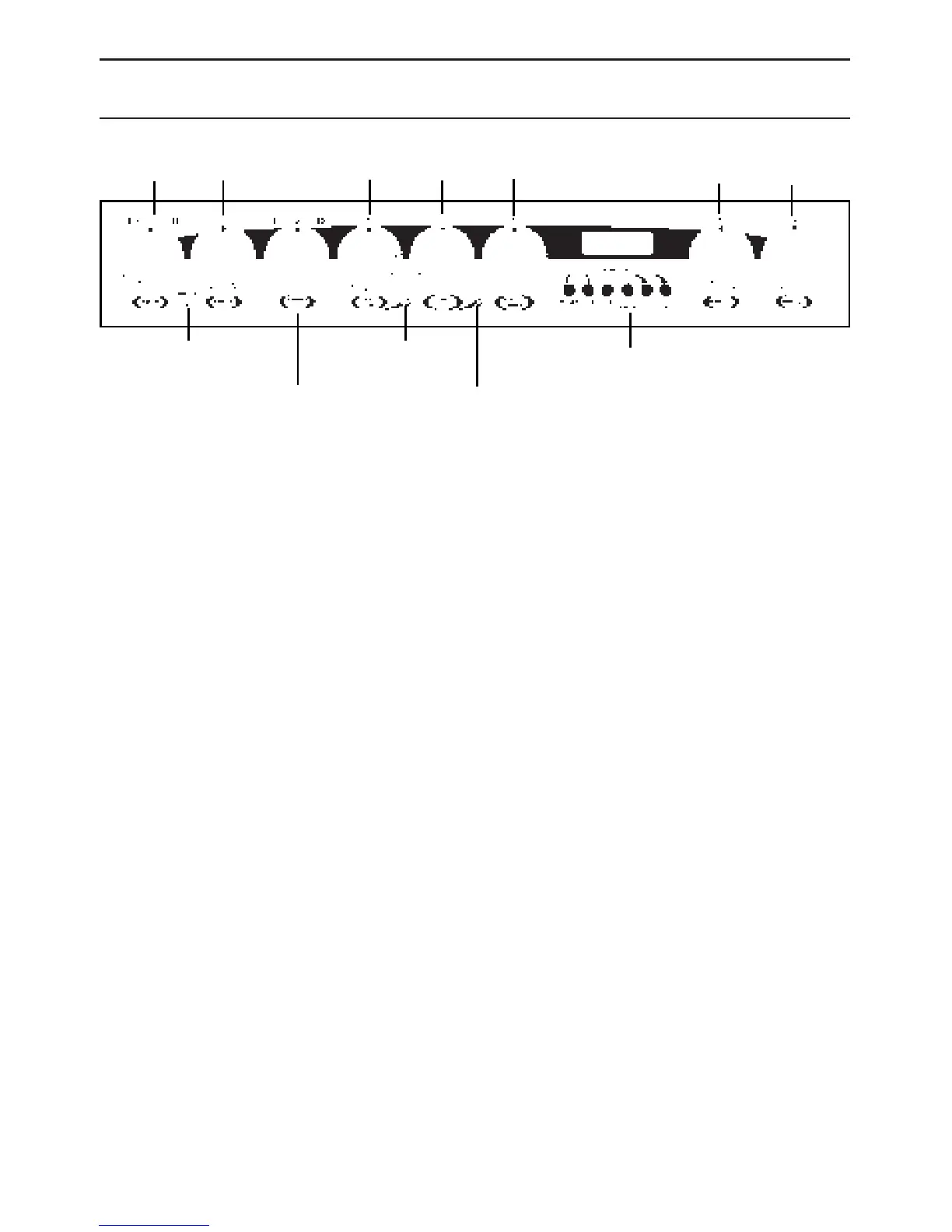
Control Panel
9
Hob Hot
neon
Front
left
Rear left
twin circuit
Front
right
Top
oven
Timer
Rear
right
Grill
Twin circuit
Main Oven
Selector
Main
oven
Main oven
pilot light
Top oven
pilot light
Operating
controls when the
grill is in use
Cooling fan
Main and Top Oven
light
Slow cooking
Hob Hot Neon
In common with all cookers having controls sited above the grill
compartment, care must be taken when setting the controls, due
to the hot air expelled from the grill compartment.
Note: After use it is advisable to check that all cooker controls have been
switched Off.
A gentle flow of air will be blown below the control panel when oven/grill
controls are in use.
The main and top oven lights will illuminate when the main or top oven
thermostats are operated.The light will remain on during the cook period.
The main oven has a 90
o
C setting specially designed to reduce energy
usage. Full details of this can be found in the Slow Cooking section.
A short time (approx. 30 seconds) after the hob heating areas have been
turned on, the Hob Hot neon will illuminate.
This light will remain illuminated until all the hob controls have been
turned off and all hob heating areas have cooled.

Related product manuals