EasyManua.ls Logo

CROSS-RC BT8 - 28

Default Icon
77 pages
Print Icon
To Next Page IconTo Next Page
To Next Page IconTo Next Page
To Previous Page IconTo Previous Page
To Previous Page IconTo Previous Page
Loading...
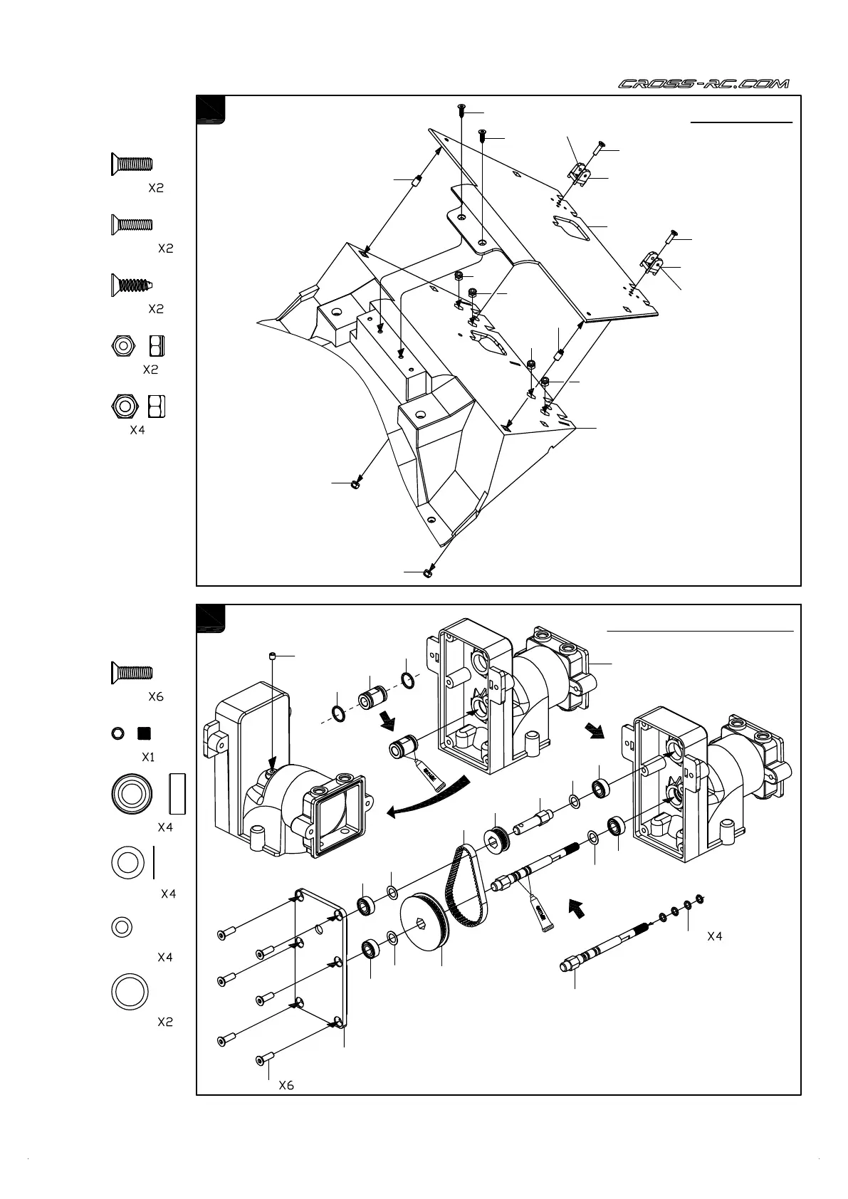
20
28
19
2193
15003
72026
15003
72026
41597
41598
91189
41831
72026
72026
15003
15003
11306
M3x10
11306
219401
11322
11316
M2.5x10
11322
11316
11316
12205
M2.5
12205
12205
35114
35114
73086
41664
41664
2182
12203
M3
12203
12203
12203
12203
The direction of the
threaded hole is outward
BAG/D-G-J-Q
41830
17025
17025
41832
11412
17024
11412
M3x3
Ø5xØ10x4
15003
Ø5xØ8x0.2
72026
Ø5xØ3x1
17024
Ø9xØ7x1
17025
BAG/E-J-L-P-Q-R-T-2193
11306
M3x10
11322
M3x10
The direction of the
threaded hole is outward

Related product manuals