EasyManua.ls Logo

Crown CM-200A - Page 8

Crown CM-200A
15 pages
Print Icon
To Next Page IconTo Next Page
To Next Page IconTo Next Page
To Previous Page IconTo Previous Page
To Previous Page IconTo Previous Page
Loading...
8
To clearly pick up sound at a distance:
Use a microphone with low self-noise (say, less
than 22 dB SPL), such as the Crown PCC-160, PCC-
170, CM-200A, or any PZM).
Boost the presence range on your mixers EQ
(around 5 kHz).
If necessary, compensate for air losses at high fre-
quencies by boosting EQ around 15 kHz.
If youre using a PZM, make it directional. To do
this, mount the tip of it cantilever (mic-capsule
holder) in a corner of the room, or in a corner made
of three plexiglass panels. Large panels provide
deeper bass and more directionality at low
frequencies than small panels.
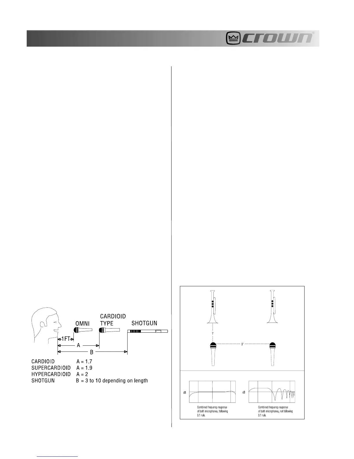
Use directional microphones. You can place a di-
rectional mic farther from its source than an omni-
directional mic and pick up the same amount of re-
verberation. The table below and Figure 17
show the distance multiplier for each pattern:
Omnidirectional: 1.0
Cardioid: 1.7
Bidirectional: 1.7
Supercardioid: 1.9
Hypercardioid: 2.0
Fig. 17 For various polar patterns, distances from
the sound source that provide equal reverb pickup.
For example, if an omni mic is placed 1 foot from a
sound source, you can place a supercardioid mic at
1.9 feet and pick up the same amount of reverb as
the omni.
How to reduce phase cancellations between two
mics:
If two microphones pick up the same sound source
at different distances, and their signals are fed to
the same channel, this might cause phase cancella-
tions. These are peaks and dips in the frequency
response caused by various frequencies combin-
ing out-of-phase. The result is a colored, filtered
tone quality.
To reduce phase cancellations between two micro-
phones:
Mike close.
Spread sound sources farther apart.
Follow the 3-to-1 rule (Figure 18): The distance
between mics should be at least three times the mic-
to-source distance. For example, if two microphones
are each 1 foot from their sound sources, the mics
should be at least 3 feet apart to prevent phase can-
cellations.
Dont use two mics when one will do the job. For
example, use just one mic on a lectern. If the talker
wanders, use a lavalier mic instead, such as a GLM-
100.
Fig. 18 The 3-to-1 Rule.

Related product manuals