EasyManua.ls Logo

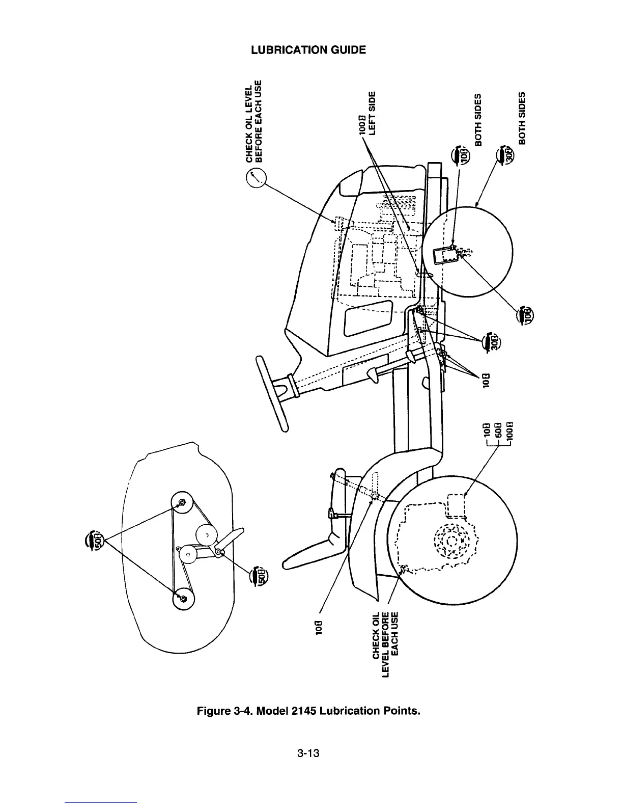
Cub Cadet 190-304 - Model 2145 Lubrication Points Diagram

Cub Cadet 190-304
256 pages
Print Icon
To Next Page IconTo Next Page
To Next Page IconTo Next Page
To Previous Page IconTo Previous Page
To Previous Page IconTo Previous Page
Loading...

Table of Contents

Related product manuals