EasyManua.ls Logo

Cub Cadet Challenger 700 - Installation

Cub Cadet Challenger 700
244 pages
Print Icon
To Next Page IconTo Next Page
To Next Page IconTo Next Page
To Previous Page IconTo Previous Page
To Previous Page IconTo Previous Page
Loading...
General
Information
130
Installation
1.
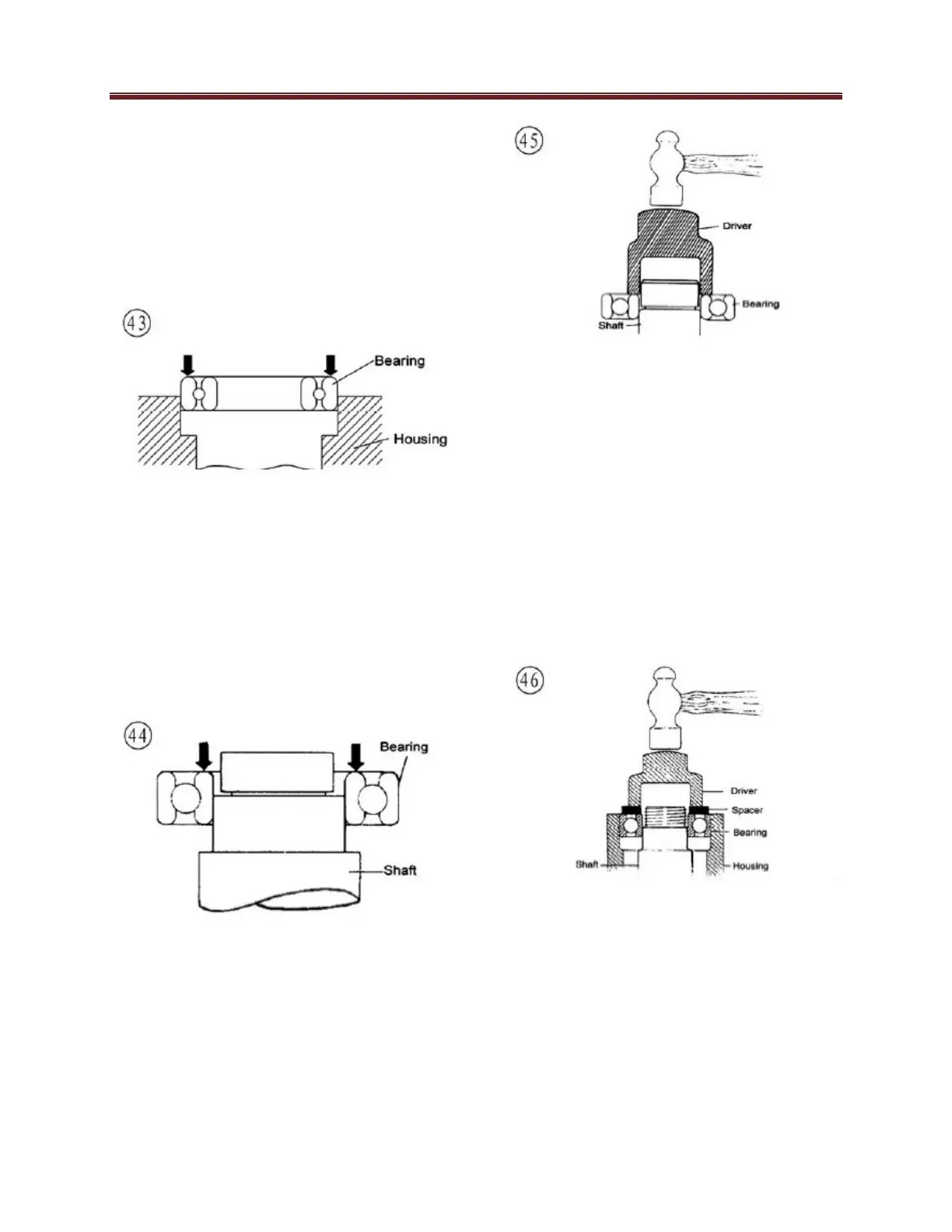
When installing a bearing in a
housing, apply pressure to the outer
bearing race (Figure 43). When
installing a bearing on a shaft, apply
pressure to the inner bearing race
(Figure 44).
2.
When installing a bearing as
described in Step 1, some type of
driver is required. When installing a
bearing in a housing, apply pressure
to the outer bearing race (Figure
43). When installing a bearing on a
shaft, apply pressure to the inner
bearing race (Figure 44).
3. When installing a bearing, use a
piece of pipe or a driver with a
diameter that matches the bearing
inner race. Figure 45 shows the
correct way to use a driver and
hammer to install a bearing.
4.
Step 1 describes how to install a
bearing in a case half or over a
shaft.
However, when installing a
bearing
over a shaft and into the
housing at
the same time, a tight fit
is required
for both outer and inner
bearing
races. In this situation,
install a
spacer underneath the
driver tool so
that pressure is applied evenly across
both races. See Figure 46. If the
outer
race is not supported as shown,
the
balls will push against the outer
bearing race and damage it.

Other manuals for Cub Cadet Challenger 700

Related product manuals