EasyManua.ls Logo

Cub Cadet Pro Z Series - Driving the Tractor; Stopping the Tractor

Cub Cadet Pro Z Series
32 pages
Print Icon
To Next Page IconTo Next Page
To Next Page IconTo Next Page
To Previous Page IconTo Previous Page
To Previous Page IconTo Previous Page
Loading...
15Section 3 — controlS & operation
Note: Upon start-up, a metallic ticking
may occur. Run engine for five minutes. If
the noise continues, run the engine at the
starting position for 20 minutes. If the noise
persists, take the tractor to your authorized
service dealer.
Cold Weather Starting
When starting the engine at temperatures near or
below freezing, ensure the correct viscosity motor
oil is used in the engine and the battery is fully
charged. Start the engine as follows:
1. Be sure the battery is in good condition.
A warm battery has much more starting
capacity than a cold battery.
2. Use fresh winter grade fuel. Winter grade
gasoline has higher volatility to improve
starting. Do not use gasoline left over
from summer.
3. Follow the previous instruction for Starting
the Engine.
Using Jumper Cables to Start Engine
WARNING
Batteries contain sulfuric acid and produce explosive gases.
Make certain the area is well ventilated, wear gloves and eye
protection, and avoid sparks or flames near the battery.
If the battery charge is not sufficient to crank the
engine, recharge the battery. If a battery charger
is unavailable and the tractor must be started, the
aid of a booster battery will be necessary. Connect
the booster battery as follows:
1. Connect the end of one cable to the
disabled tractor battery’s positive terminal;
then connect the other end of that cable to
the booster battery’s positive terminal.
2. Connect one end of the other cable to the
booster battery’s negative terminal; then
connect the other end of that cable to the
frame of the disabled tractor, as far from the
battery as possible.
3. Start the disabled tractor following the
normal starting instructions previously
provided; then disconnect the jumper cables
in the exact reverse order of their connection.
4. Have the tractor’s electrical system checked
and repaired as soon as possible to
eliminate the need for jump starting.
Stopping the Engine
1. Disengage the PTO.
2. Move the RH and LH drive control levers
fully outward in the neutral position.
3. Engage the parking brake.
4. Move the throttle to the SLOW
position and allow the engine to idle for
about one minute.
5. Turn the ignition key to the OFF position and
remove the key from the ignition switch.
Note: Always remove the key from the
ignition switch to prevent accidental
starting or battery discharge if the
equipment is left unattended.
6. Close the fuel shut-off valve(s).
Practice Operation (Initial Use)
Operating a zero-turn tractor is not like operating
a conventional type riding tractor. Although and
because a zero-turn tractor is more maneuverable,
getting used to operating the speed control
pedals and the control levers takes some practice.
It is strongly recommended that you locate a
reasonably large, level and open “practice area”
where there are no obstructions, pedestrians, or
animals. You should practice operating the tractor
for a minimum of 30 minutes.
Carefully move (or have moved) the tractor to
the practice area. When performing the practice
session, the PTO knob should not be engaged. While
practicing, operate the tractor at approximately ⁄-⁄
throttle and at less than full speed in both forward
and reverse.
Always wear appropriate clothing and personal
protection equipment (e.g. safety glasses,
long pants, gloves, hearing protection, safety
shoes, hard hat) when operating or maintaining
this machine. Follow all federal, state and
local guidelines regarding the use of personal
protective equipment.
WARNING
Hearing protection is required for all operator exposure
exceeding two (2) hours.
Carefully practice maneuvering the machine using
the instructions in the Driving the Tractor section.
Practice until you are confident that you can safely
operate the tractor.
Driving the Tractor
WARNING
Avoid sudden starts, excessive speed, and sudden stops.
1. Turn on the fuel valve(s).
Note: If both tanks are on, and one is empty
the engine will not start. Be certain to make
sure both tanks have fuel or that the empty
tank’s fuel valve is closed.
2. Adjust the operator’s seat to the most
comfortable position that allows you to
operate the controls. Refer to the Assembly &
Set-Up section for instructions on adjusting
the seat.
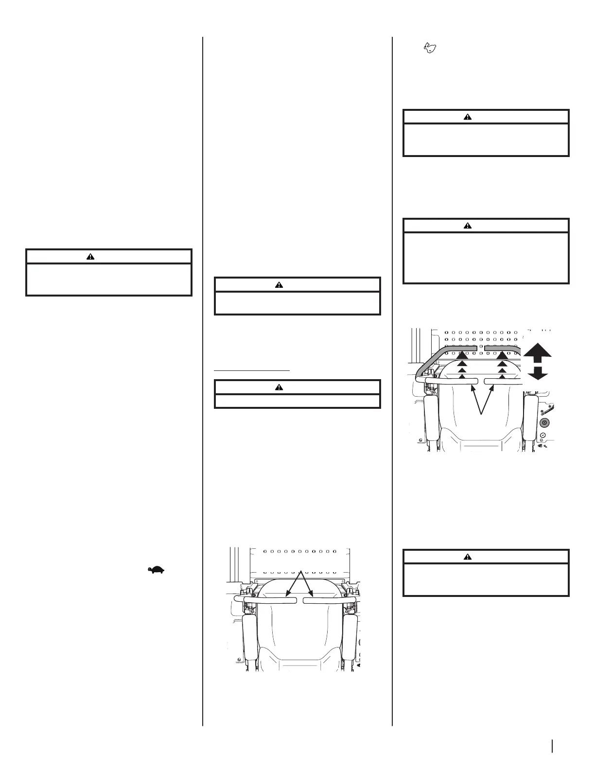
3. Move the RH and LH drive control levers
inward in the neutral position. Refer to
Figure 3-4.
Control Levers Moved
Inward & in Neutral
Figure 3-4
Note: If the control levers are not even in the
neutral position, refer to the Assembly & Set-
Up section for instructions to adjust the levers
so that they are even.
4. Move the throttle control to the FAST
position.
Note: Although the tractor’s engine is
designed to run at full throttle, when
performing a practice session the tractor
must be operated at less than full throttle.
This only applies to practice.
WARNING
Always maintain a firm grip on the control levers. Do not
release the control levers to slow or stop the tractor; move
levers to neutral position using your hands.
5. To drive the tractor, firmly grasp the
respective drive control levers with your
right and left hands and continue with
Driving the Tractor Forward.
Driving the Tractor Forward
WARNING
Keep all movement of the drive control levers slow and
smooth. Abrupt movement of the control levers can affect
the stability of the tractor and could cause the tractor to
flip over, which may result in serious injury or death to
the operator.
1. Slowly and evenly move both drive control
levers forward. The tractor will start to move
forward. See Figure 3-5.
Driving Forward
Faster
Slower
Neutral
Position
Figure 3-5
2. As the control levers are pushed farther
forward the speed of the tractor
will increase.
3. To slow the tractor move the control levers
rearward to attain the desired speed, or
move the levers to the neutral position to
stop the tractor.
WARNING
Always maintain your grasp on the drive control levers.
Do not release the levers to slow the tractor or to return
to neutral.

Related product manuals