EasyManua.ls Logo

Cub Cadet Yanmar Lx490 - Page 179

Cub Cadet Yanmar Lx490
230 pages
Print Icon
To Next Page IconTo Next Page
To Next Page IconTo Next Page
To Previous Page IconTo Previous Page
To Previous Page IconTo Previous Page
Loading...
Lx490Lx Series
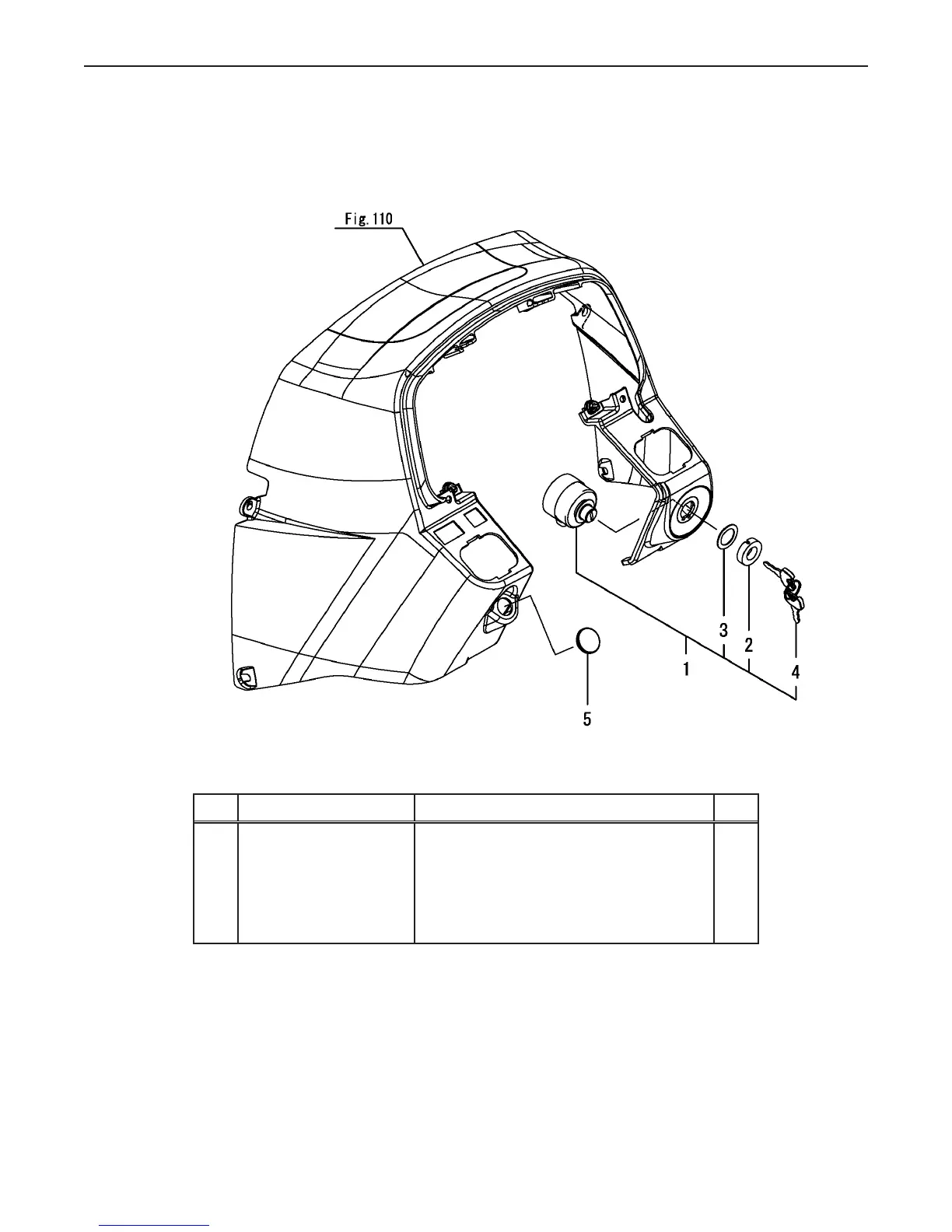
Ref.
Part Number Description Qty
1 CY-198162-52110 SWITCH, STARTING 1
2 CY-198360 -52320 NUT,RING 1
3 CY-198360 -52330 WASHER 1
4 CY-198162-52150 KEY ASSY 1
5 CY-194448-61620 GROMMET 20.5 1
Copyright 2011 Cub Cadet Yanmar LLC
179
Fig 102. Switch
Fig.102. SWITCH
0CNP5-G37900
0CNP5-G37900
102. SWITCH
(F)=
(E)=
(D)=
(C)=LX490
(B)=LX450
(A)=LX410
LEV.REF. PARTS NO. DESCRIPTION
RI
Q'TY
(F)(D)(C)(B)(A) (E)
SWITCH, STARTING198162-5211011 111
NUT,RING198360-5232022 111
WASHER198360-5233023 111
KEY ASSY198162-5215024 111
GROMMET 20.5194448-6162015 111
(C)Copy Rights YANMAR CO.,LTD.

Related product manuals