EasyManua.ls Logo

Cub Cadet Yanmar Lx490 - Tractor - Chassis & Operator Station; Frame & Hood Components

Cub Cadet Yanmar Lx490
230 pages
Print Icon
To Next Page IconTo Next Page
To Next Page IconTo Next Page
To Previous Page IconTo Previous Page
To Previous Page IconTo Previous Page
Loading...
Lx490Lx Series
186
Copyright 2011 Cub Cadet Yanmar LLC
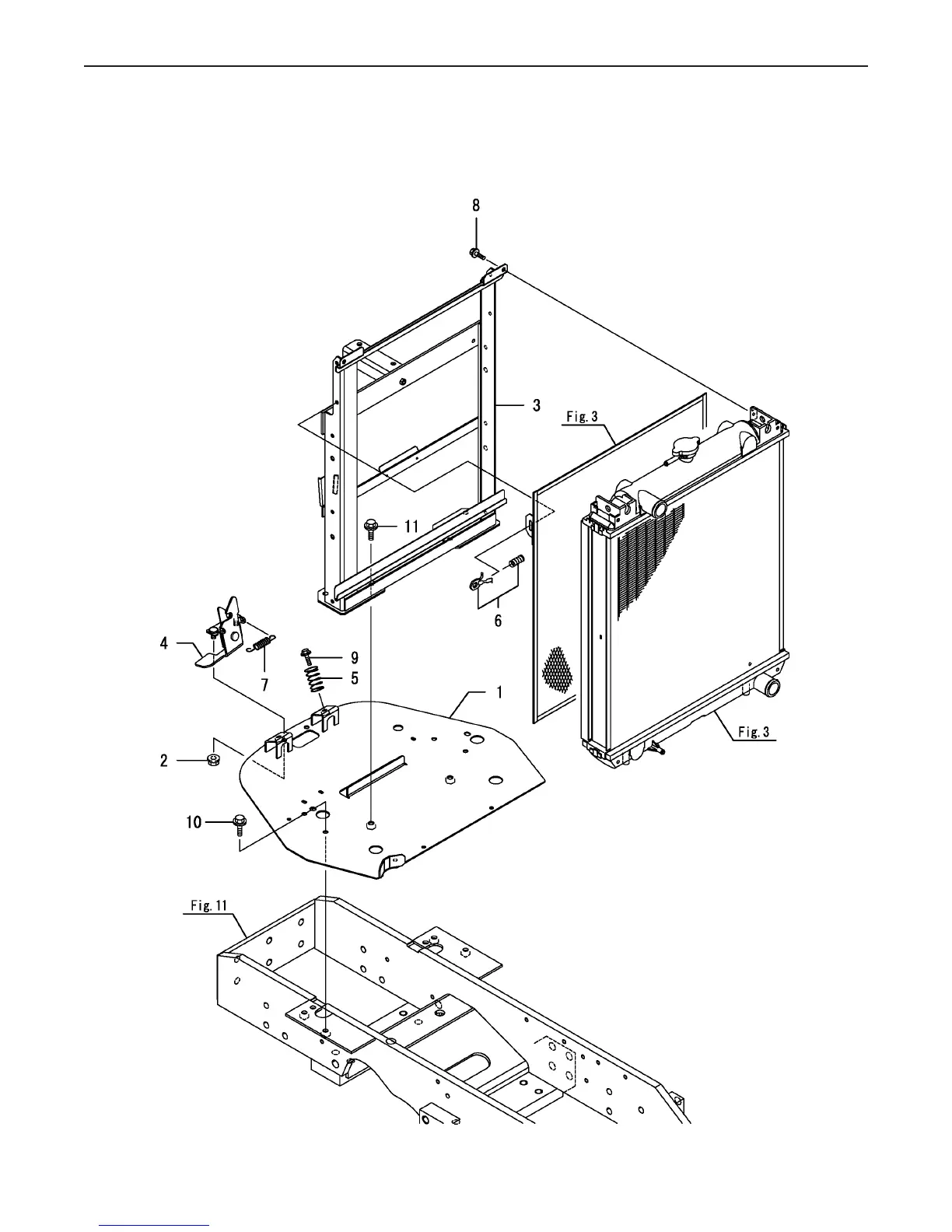
Fig 107. Front Frame
Fig.107. FRONT FRAME
0CNP5-G37900
0CNP5-G37900
107. FRONT FRAME
(F)=
(E)=
(D)=
(C)=LX490
(B)=LX450
(A)=LX410
LEV.REF. PARTS NO. DESCRIPTION
RI
Q'TY
(F)(D)(C)(B)(A) (E)
BRACKET ASSY, RADI1A8250-0160011 111
NUT W/WASHER 8194990-2214012 222
FRAME ASSY, FRONT1A8240-6010013 111
BONNET LOCK CMP1A7180-6125014 111
SPRING198220-6134015 222
LOCK COMP.,CAM198220-6135116 111
SPRING198230-6196017 111
BOLT M 6X 20 PLATED26106-06020218 222
BOLT M 6X 20 PLATED26106-06020219 222
BOLT M 8X 20 PLATED26106-080202110 444
BOLT M 8X 20 PLATED26106-080202111 222
(C)Copy Rights YANMAR CO.,LTD.
Fig.107. FRONT FRAME
0CNP5-G37900
0CNP5-G37900
107. FRONT FRAME
(F)=
(E)=
(D)=
(C)=LX490
(B)=LX450
(A)=LX410
LEV.REF. PARTS NO. DESCRIPTION
RI
Q'TY
(F)(D)(C)(B)(A) (E)
BRACKET ASSY, RADI1A8250-0160011 111
NUT W/WASHER 8194990-2214012 222
FRAME ASSY, FRONT1A8240-6010013 111
BONNET LOCK CMP1A7180-6125014 111
SPRING198220-6134015 222
LOCK COMP.,CAM198220-6135116 111
SPRING198230-6196017 111
BOLT M 6X 20 PLATED26106-06020218 222
BOLT M 6X 20 PLATED26106-06020219 222
BOLT M 8X 20 PLATED26106-080202110 444
BOLT M 8X 20 PLATED26106-080202111 222
(C)Copy Rights YANMAR CO.,LTD.

Related product manuals