EasyManua.ls Logo

Cub Cadet Yanmar Lx490 - Page 192

Cub Cadet Yanmar Lx490
230 pages
Print Icon
To Next Page IconTo Next Page
To Next Page IconTo Next Page
To Previous Page IconTo Previous Page
To Previous Page IconTo Previous Page
Loading...
Lx490Lx Series
192
Copyright 2011 Cub Cadet Yanmar LLC
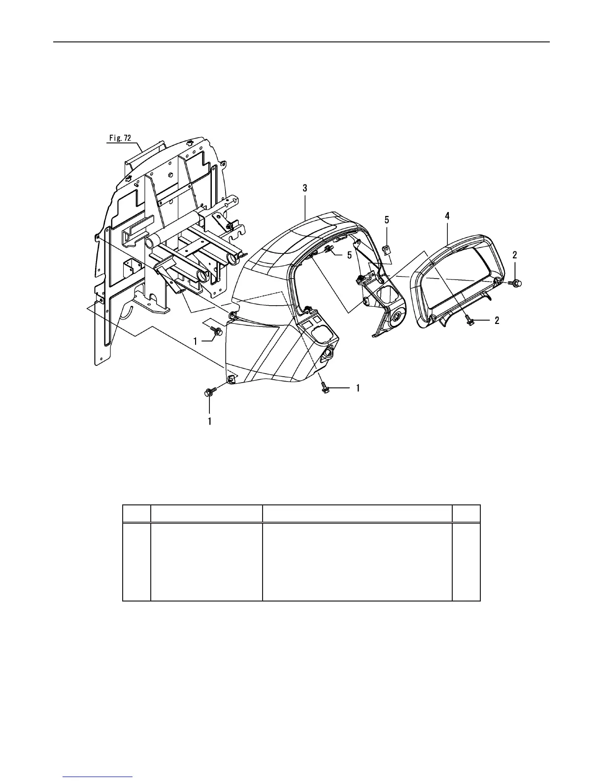
Fig 110. Dashboard
Ref.
Part Number Description Qty
1 CY-198072- 60590 BOLT M6X20 6
2 CY-198072- 60590 BOLT M6X20 4
3 CY-1A7180- 61500 COVER, DASHBOARD 1
4 CY-1A7180-61510 COVER, METER 1
5 CY-198071-61890 NUT 6,SPEED 4
Fig.110. DASHBOARD
0CNP5-G37900
0CNP5-G37900
110. DASHBOARD
(F)=
(E)=
(D)=
(C)=LX490
(B)=LX450
(A)=LX410
LEV.REF. PARTS NO. DESCRIPTION
RI
Q'TY
(F)(D)(C)(B)(A) (E)
BOLT M6X20198072-6059011 666
BOLT M6X20198072-6059012 444
COVER, DASHBOARD1A7180-6150013 111
COVER, METER1A7180-6151014 111
NUT 6,SPEED198071-6189015 444
(C)Copy Rights YANMAR CO.,LTD.

Related product manuals