EasyManua.ls Logo

Cub Cadet Yanmar Lx490 - Page 193

Cub Cadet Yanmar Lx490
230 pages
Print Icon
To Next Page IconTo Next Page
To Next Page IconTo Next Page
To Previous Page IconTo Previous Page
To Previous Page IconTo Previous Page
Loading...
Lx490Lx Series
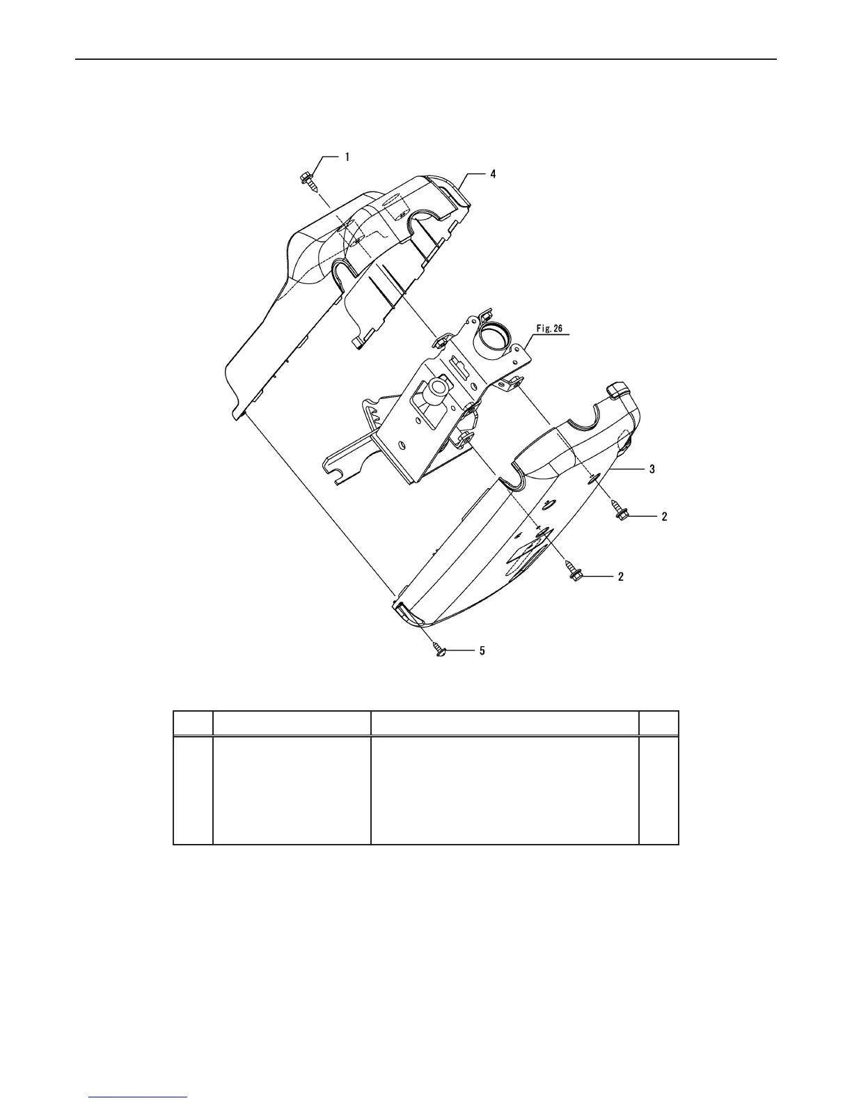
Ref.
Part Number Description Qty
1 CY-198072- 60590 BOLT M6X20 2
2 CY-198072- 60590 BOLT M6X20 3
3 CY-1A7180- 61530 COVER, COLUMN R 1
4 CY-1A7180- 61540 COVER, COLUMN F 1
5 CY-194420-61640 SCREW 5X16 2
Copyright 2011 Cub Cadet Yanmar LLC
193
Fig 111. Column Cover
Fig.111. COLUMN COVER
0CNP5-G37900
0CNP5-G37900
111. COLUMN COVER
(F)=
(E)=
(D)=
(C)=LX490
(B)=LX450
(A)=LX410
LEV.REF. PARTS NO. DESCRIPTION
RI
Q'TY
(F)(D)(C)(B)(A) (E)
BOLT M6X20198072-6059011 222
BOLT M6X20198072-6059012 333
COVER, COLUMN R1A7180-6153013 111
COVER, COLUMN F1A7180-6154014 111
SCREW 5X16194940-6179015 222
(C)Copy Rights YANMAR CO.,LTD.

Related product manuals