EasyManua.ls Logo

Cub Cadet Yanmar Lx490 - Starting Motor

Cub Cadet Yanmar Lx490
230 pages
Print Icon
To Next Page IconTo Next Page
To Next Page IconTo Next Page
To Previous Page IconTo Previous Page
To Previous Page IconTo Previous Page
Loading...
Lx490Lx Series
Notes
36
Copyright 2011 Cub Cadet Yanmar LLC
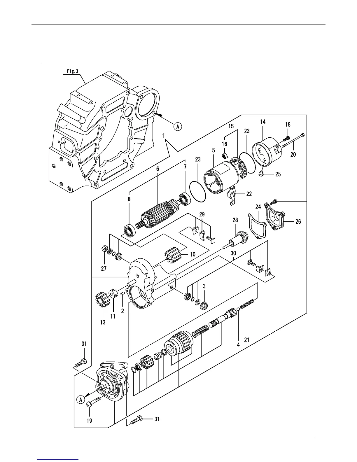
Fig 17. Starting Motor
Fig.17. STARTING MOTOR
0CNP5-G38300
Remarks
Note: "Effective Machine No." of the
Engine Section is indicated on
the Model Label which is shown
in Fig.4.
0CNP5-G38300
17. STARTING MOTOR
(F)=
(E)=
(D)=
(C)=
(B)=
(A)=4TNV84T-BMRG1
LEV.REF. PARTS NO. DESCRIPTION
RI
Q'TY
(F)(D)(C)(B)(A) (E)
STARTER ASSY129429-7701111 1
ROLLERX028306006122 5
NUTX949056137023 1
BALLX949120024024 1
YOKE ASSY129429-7721025 1
A
RMATURE ASS
Y
129429-7722026 1
BEARING129429-7723037 1
BEARING129129-7724038 1
PINION ASSY129429-77250210 1
RETAINER129129-77260211 1
PINION129129-77270213 1
FRAME129429-77270214 1
HOLDER ASSY129429-77280215 1
SPRING129429-77290316 4
SCREW129429-77310218 2
SCREW129429-77320219 2
BOLT129429-77330220 2
SPRING129129-77340221 1
CAP129429-77340222 1
O-RING129129-77350223 2
GASKET129429-77350224 1
COVER129129-77362225 1
COVER129429-77360226 1
NUT129129-77370227 1
PLUNGER129429-77370228 1
STARTER KIT129429-77380229 1
STARTER KIT129429-77390230 1
BOLT M12X 25 PLATED26116-120252131 2
(C)Copy Rights YANMAR CO.,LTD.

Related product manuals