EasyManua.ls Logo

Cub Cadet Yanmar Lx490 - Page 50

Cub Cadet Yanmar Lx490
230 pages
Print Icon
To Next Page IconTo Next Page
To Next Page IconTo Next Page
To Previous Page IconTo Previous Page
To Previous Page IconTo Previous Page
Loading...
Lx490Lx Series
50
Copyright 2011 Cub Cadet Yanmar LLC
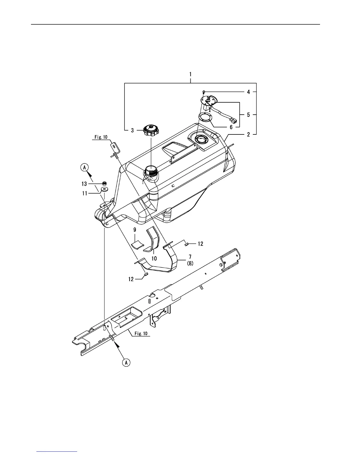
Fig 9. Fuel Tank
Fig.9. FUEL TANK
0CNP5-G37900
0CNP5-G37900
9. FUEL TANK
(F)=
(E)=
(D)=
(C)=LX490
(B)=LX450
(A)=LX410
LEV.REF. PARTS NO. DESCRIPTION
RI
Q'TY
(F)(D)(C)(B)(A) (E)
TANK, FUEL ASSY1A8250-0410011 111
TANK, FUEL1A8250-0411022 111
CAP, FUEL TANK1A8160-0413023 111
SCREW, 5 X 141A7180-0418024 555
FUEL SENDER ASSY1A8275-5660025 111
GASKET194420-5662036 111
BAND, TANK REAR L1A8250-0421017 111
BAND, TANK REAR R1A8250-0422018 111
BUFFER, BAND1A8250-0423019 222
CLAMP198153-04670110 222
WASHER 822157-080000111 222
U-NUT M 826347-080002112 444
U-NUT M 826347-080002113 222
(C)Copy Rights YANMAR CO.,LTD.

Related product manuals