EasyManua.ls Logo

Cub Cadet Yanmar Lx490

Cub Cadet Yanmar Lx490
230 pages
To Next Page IconTo Next Page
To Next Page IconTo Next Page
To Previous Page IconTo Previous Page
To Previous Page IconTo Previous Page
Loading...
Lx490Lx Series
82
Copyright 2011 Cub Cadet Yanmar LLC
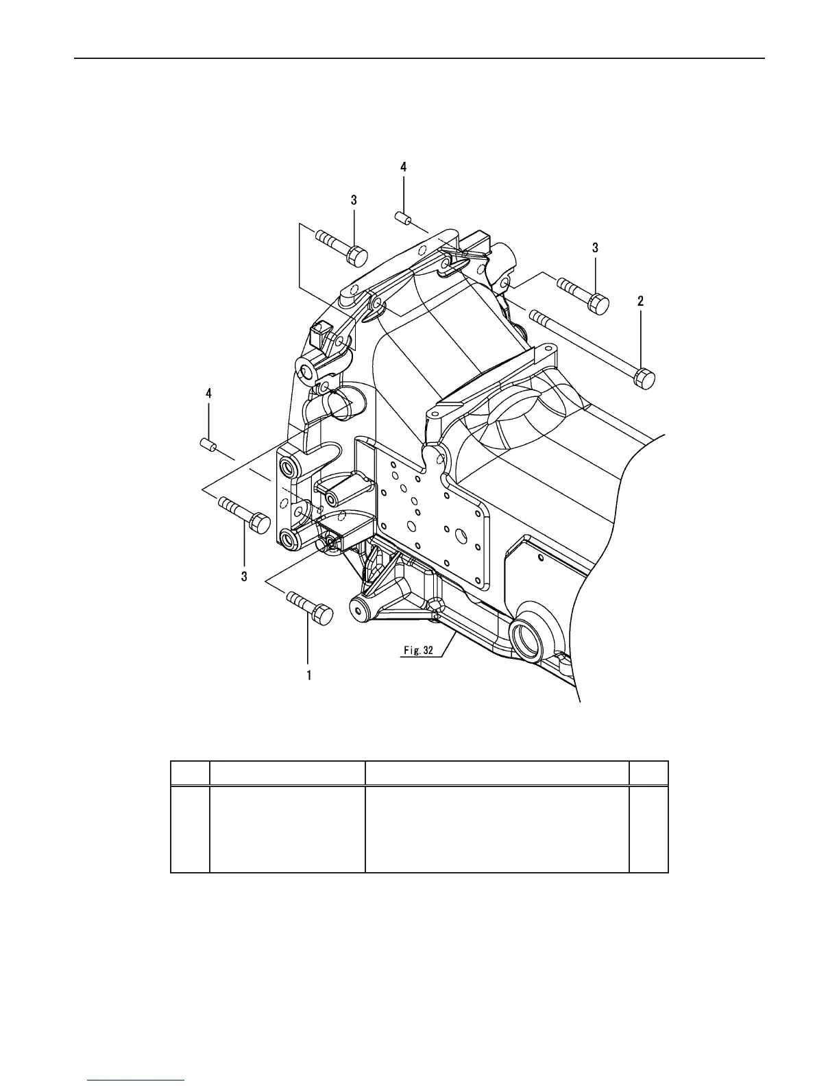
Fig 33. Docking Bolt
Ref.
Part Number Description Qty
1 CY-198448-21280 BOLT M12X 50 1
2 CY-198442-21310 BOLT 4
3 CY-198448-21320 BOLT, 12X 60 4
4 CY-22312-100180 PARALLEL PIN 10X 18 2
Fig.33. DOCKING BOLT
0CNP5-G37900
0CNP5-G37900
33. DOCKING BOLT
(F)=
(E)=
(D)=
(C)=LX490
(B)=LX450
(A)=LX410
LEV.REF. PARTS NO. DESCRIPTION
RI
Q'TY
(F)(D)(C)(B)(A) (E)
BOLT M12X 50198448-2128011 111
BOLT198442-2131012 444
BOLT, 12X 60198448-2132013 444
PARALLEL PIN 10X 1822312-10018014 222
(C)Copy Rights YANMAR CO.,LTD.

Related product manuals