EasyManua.ls Logo

Cub Cadet Yanmar Lx490

Cub Cadet Yanmar Lx490
230 pages
To Next Page IconTo Next Page
To Next Page IconTo Next Page
To Previous Page IconTo Previous Page
To Previous Page IconTo Previous Page
Loading...
Lx490Lx Series
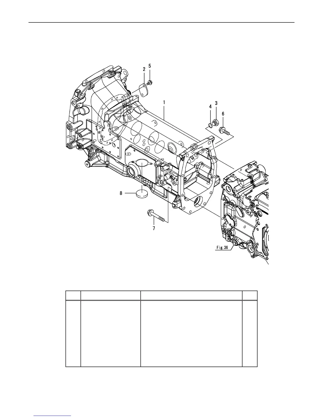
Ref.
Part Number Description Qty
1 CY-1A8275-21130 HOUSING, CLUTCH 1
2 CY-194146-21150 COVER, SIDE 1
3 CY-194464-45920 PLUG 3/4-16UNF 1
4 CY-194464-45930 O-RING 8-1 1
5 CY-26106-080162 BOLT M 8X 16 PLATED 2
6 CY-26106-120402 BOLT, M12X 40 PLATED 5
7 CY-26106-120852 BOLT 12X 85 1
8 CY-27260-550000 PLUG 55 1
Copyright 2011 Cub Cadet Yanmar LLC
81
Fig 32. Clutch Housing
Fig.32. CLUTCH HOUSING
0CNP5-G37900
0CNP5-G37900
32. CLUTCH HOUSING
(F)=
(E)=
(D)=
(C)=LX490
(B)=LX450
(A)=LX410
LEV.REF. PARTS NO. DESCRIPTION
RI
Q'TY
(F)(D)(C)(B)(A) (E)
HOUSING, CLUTCH1A8275-2113011 111
COVER, SIDE194146-2115012 111
PLUG 3/4-16UNF194464-4592013 111
O-RING 8-1194464-4593014 111
BOLT M 8X 16 PLATED26106-08016215 222
BOLT, M12X 40 PLATED26106-12040216 555
BOLT 12X 8526106-12085217 111
PLUG 5527260-55000018 111
(C)Copy Rights YANMAR CO.,LTD.

Related product manuals