EasyManua.ls Logo

Cub Cadet Yanmar Lx490 - Page 84

Cub Cadet Yanmar Lx490
230 pages
To Next Page IconTo Next Page
To Next Page IconTo Next Page
To Previous Page IconTo Previous Page
To Previous Page IconTo Previous Page
Loading...
Lx490Lx Series
84
Copyright 2011 Cub Cadet Yanmar LLC
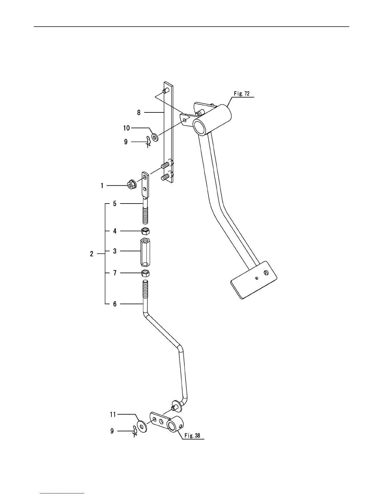
Fig 35. Clutch Link
Fig.35. CLUTCH LINK
0CNP5-G37900
0CNP5-G37900
35. CLUTCH LINK
(F)=
(E)=
(D)=
(C)=LX490
(B)=LX450
(A)=LX410
LEV.REF. PARTS NO. DESCRIPTION
RI
Q'TY
(F)(D)(C)(B)(A) (E)
NUT W/WASHER 8194990-2214011 222
TURNBUCKLE ASSY1A8240-2250012 111
TURNBUCKLE M10194300-2226023 111
NUT M10194150-2248024 111
ROD, L.H. SCREW1A8240-2254025 111
ROD ASSY, R SCREW1A8240-2255026 111
NUT 1026716-10000227 111
LINK, CLUTCH1A8240-2252018 111
PIN 8,COME-OFF SNAP1C6281-5232019 222
WASHER 8, POLISHED22137-080000110 111
WASHER 822157-080000111 111
(C)Copy Rights YANMAR CO.,LTD.

Related product manuals