EasyManua.ls Logo

Dacor Distinctive DR30DIH - Operating the Oven

Dacor Distinctive DR30DIH
36 pages
Print Icon
To Next Page IconTo Next Page
To Next Page IconTo Next Page
To Previous Page IconTo Previous Page
To Previous Page IconTo Previous Page
Loading...
11
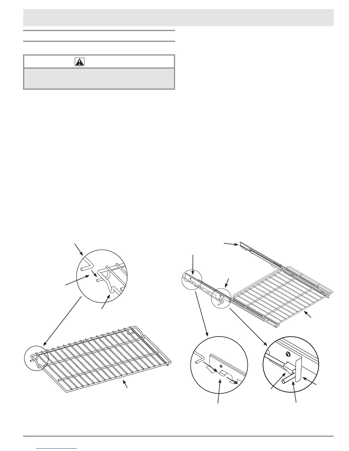
Oven Racks
You may use either rack type on any level.
WARNING
To reduce the chance of burns, position the oven racks
when the oven is cool. If you must reposition a rack
when the oven is hot, use potholders.
To insert the standard oven racks:
1. Insert the end of the rack with the safety notches into
the oven first.
2. Attach both sides of the rack to the rack supports in
the oven as shown in the diagram below.
3. Begin to slide the rack in, and then, lift up so that the
safety notches clear the ends of the rack supports.
4. Push the rack all the way in with both hands.
To remove the standard oven racks:
1. Grasp the rack with both hands and pull gently
straight out toward you until it stops.
2. To remove the rack completely, lift the front of the
rack up about six inches and continue to pull it out.
Lifting the rack releases the safety notches. The
safety notches reduce the chances of a rack coming
out of the oven accidentally.
Operating the Oven
To insert the optional GlideRack
oven rack:
When you use the optional GlideRack oven rack, you can
effortlessly slide heavy pots, pans or other items out of
the oven to check, stir or add ingredients quickly and
safely.
1. Extend both rack guides completely as shown below.
2. Align both sets of safety clips (right and left) on the
back of the rack guides with the oven rack supports as
shown.
3. Insert the rack into the oven, sliding the rack supports
between the rear safety clips as shown. As you slide
the rack in, hold the front of the rack up slightly until
the front safety clips just clear the front of the rack
supports.
4. Lower the front of the rack so that the front of the
rack support is between the front safety clip and the
rack stop.
5. Grasp the rack in the center of the front and pull. The
rack should come forward while the guides remain in
place.
To remove the optional GlideRack oven rack:
1. Grasp it with both hands and pull gently straight out
toward you until it stops.
2. Lift up until the front safety clips just clear the front
of the rack supports on the oven. Continue to pull out.
Moving the end of the rack back and forth slightly, left
to right, as you pull, will make it easier to remove.
Front of rack
Standard Oven Rack
Optional GlideRack Oven Rack
Rack support
Slide oven rack
supports into
slots on the rack
Safety notch
Slide rack supports between
back safety clips
Lift front safety
clips over rack
supports
Front of rack
Rack guides
(fully extended)
Rack support
(inside oven)
Rack
stop
Front
safety clip

Other manuals for Dacor Distinctive DR30DIH

Related product manuals