EasyManua.ls Logo

Daewoo CP-520 - Page 27

Daewoo CP-520
85 pages
Print Icon
To Next Page IconTo Next Page
To Next Page IconTo Next Page
To Previous Page IconTo Previous Page
To Previous Page IconTo Previous Page
Loading...
CP-520/520A/520F Service Manual
DTV R&D Europe
26
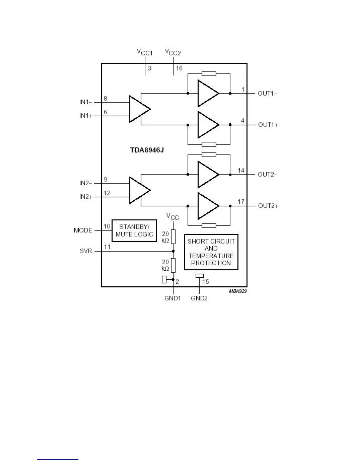
Block diagram TDA8946J

Table of Contents

Related product manuals