EasyManua.ls Logo

Daewoo DE08TIS - Page 24

Daewoo DE08TIS
147 pages
Print Icon
To Next Page IconTo Next Page
To Next Page IconTo Next Page
To Previous Page IconTo Previous Page
To Previous Page IconTo Previous Page
Loading...
D1146/D1146TI/DE08TIS
MAINTENANCE MANUAL
20
Printed in Jan. 2001 PS-MMA0415-E1A
z Check if the idle operation and speed regulating lever's sealing is removed.
z The adjustment and testing of fuel injection pump should necessarily be done at
the test bench.
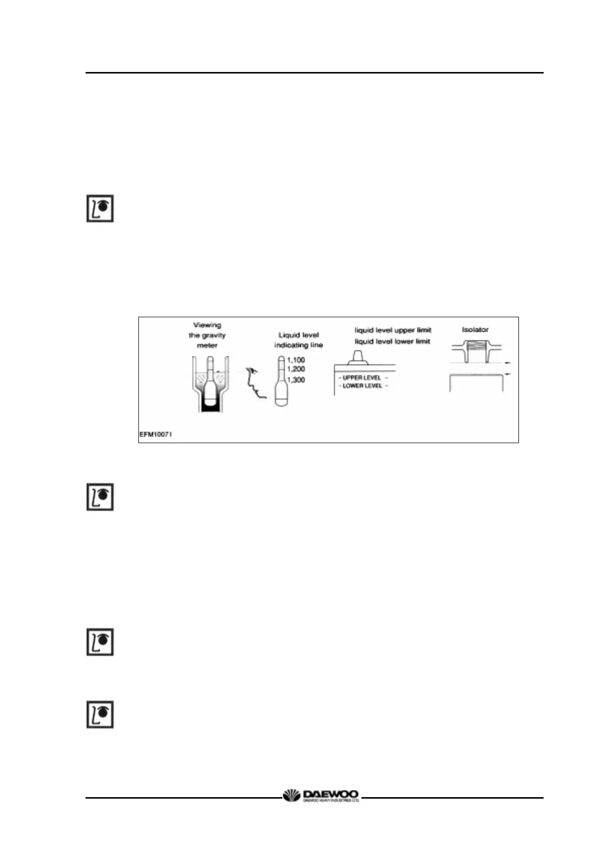
2.1.12. Battery
z Inspect for any leakage of electrolytic solution owing to battery crack, and
replace
the battery in case of poor condition.
z Inspect for amount of electrolytic solution, and replenish if insufficient.
z Measure the gravity of electrolytic solution, if less than specified value (1.12
1.28), replenish.
2.1.13. Air removal of fuel system
The suction room of fuel injection pump has the function of air removal continuously
during the operation through a relief valve.
In case that the suction room lacks fuel at all, for instance, in case of new installation
of injection pump, after loosening the air removing screws of cartridge filter
respectively, remove the air by operating the manual pump of fuel supply pump until
bubble will disappear.
2.1.14. Fuel supply pump
Every time of engine oil replacement, the fuel strainer installed at the fuel supply
pump should be removed and cleaned.
2.1.15. Turbocharger
The turbocharger needs not arty special equipment.
Every time of engine replacement, a leakage or clogging of oil pipes should be
inspected. Air cleaner should be maintained carefully for nut or foreign material not to
get in. Periodic inspection should be applied on the compressed air and exhaust gas

Related product manuals