EasyManua.ls Logo

Daewoo DM-K40 - Page 7

Daewoo DM-K40
44 pages
Print Icon
To Next Page IconTo Next Page
To Next Page IconTo Next Page
To Previous Page IconTo Previous Page
To Previous Page IconTo Previous Page
Loading...
Daewoo DM-K40 Service Manual
Page 6
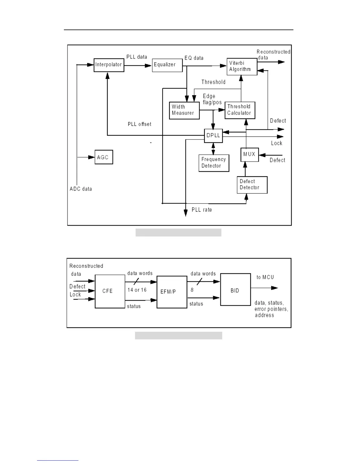
Fig. 2-2 DRC block diagram
Fig.2-3 CSTP block diagram

Related product manuals