EasyManua.ls Logo

Daewoo DWC-0520RLE - REFRIGERANT CYCLE

Daewoo DWC-0520RLE
23 pages
To Next Page IconTo Next Page
To Next Page IconTo Next Page
To Previous Page IconTo Previous Page
To Previous Page IconTo Previous Page
Loading...
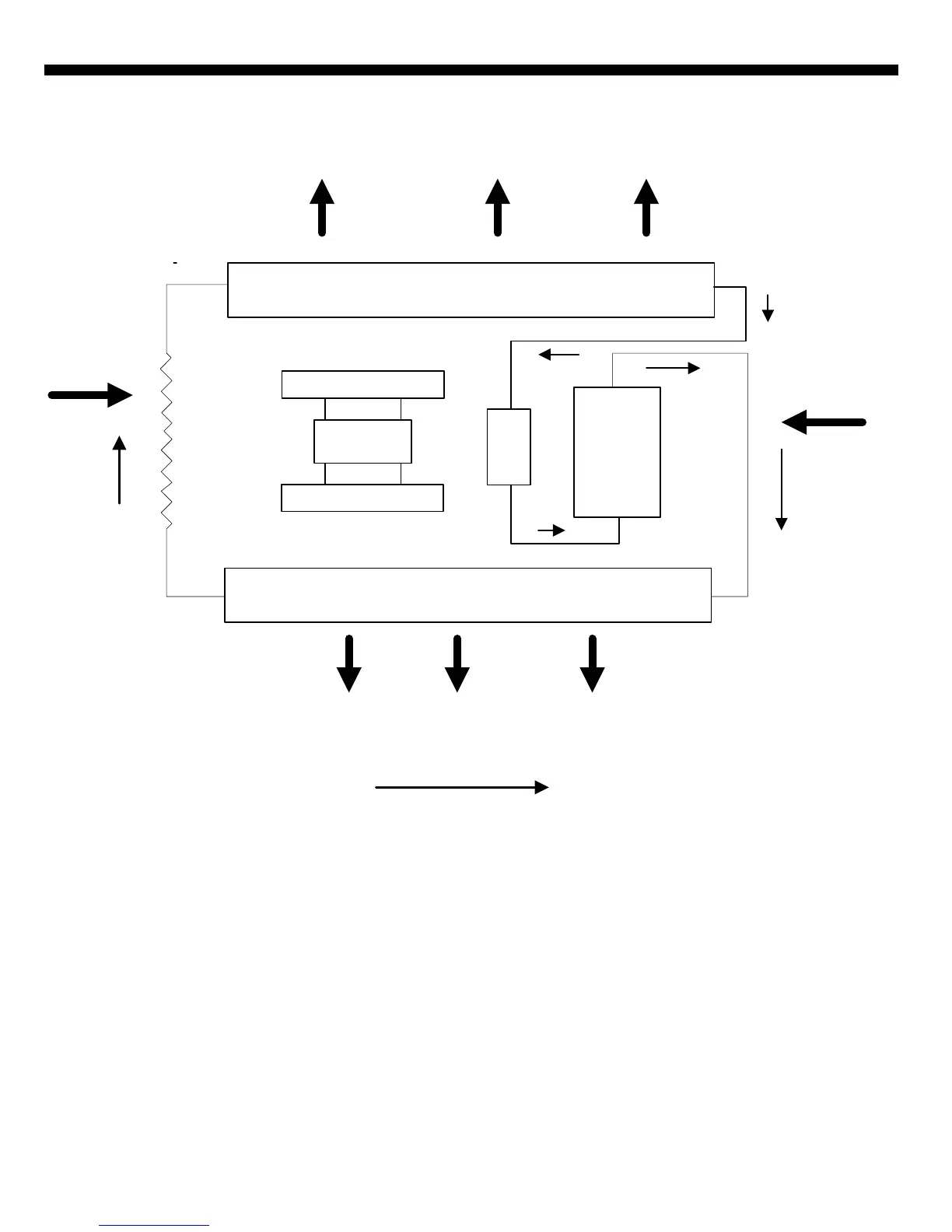
10. REFRIGERANT CYCLE
8
1
2
3
4
5
6
Cooling Ai
r
Heated Air
Flow 2
Refrigerant flowing
direction
7
Flow 1
1Compressor 2Condenser 3Axial flow fan 4Motor 5Centrifugal fan 6
Vapor liquid separator 7Capillary 8Evaporator
- 17 -

Other manuals for Daewoo DWC-0520RLE

Related product manuals