EasyManua.ls Logo

Daewoo DWD-FD1472 - Box Inlet Assembly Parts

Daewoo DWD-FD1472
68 pages
Print Icon
To Next Page IconTo Next Page
To Next Page IconTo Next Page
To Previous Page IconTo Previous Page
To Previous Page IconTo Previous Page
Loading...
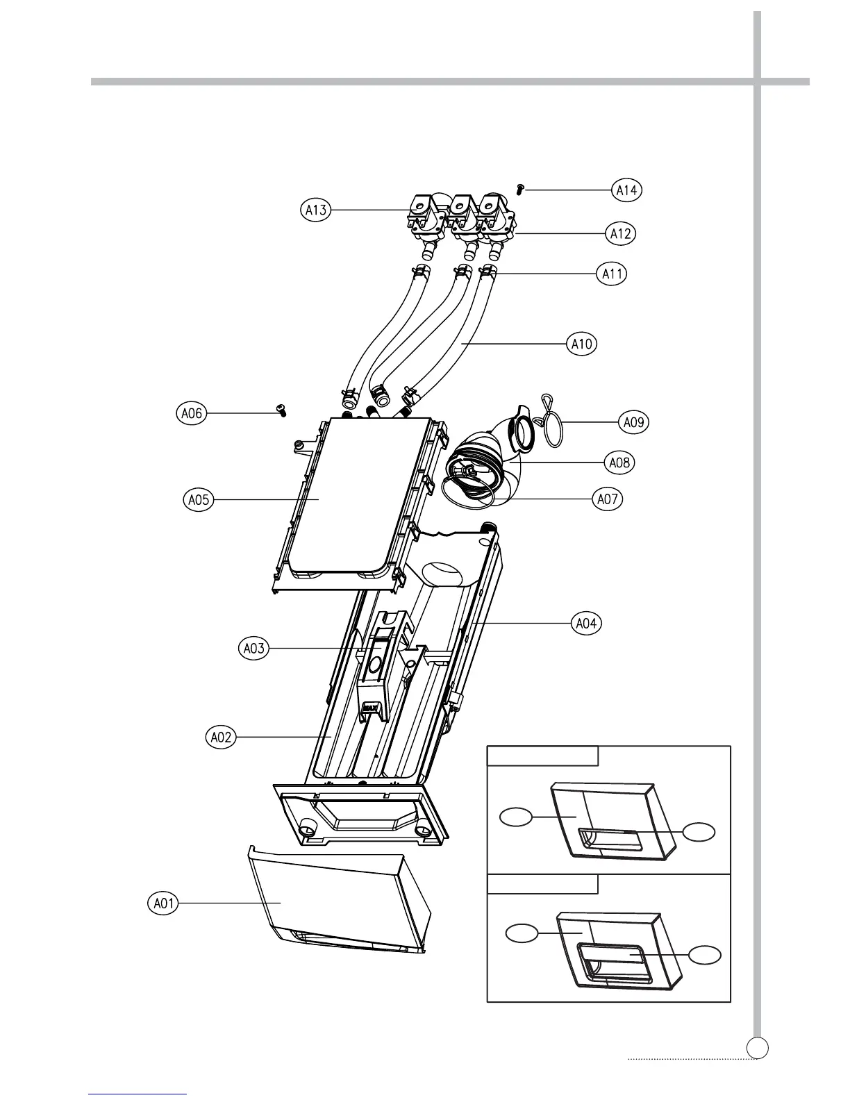
5. EXPLODE VIEW AND PARTS LIST
19
EXPLODE VIEW AND PARTS LIST
BOX INLET AS
A01
A15
DWD-F1X6X SERIES
A01
A15
DWD-F1X7X SERIES

Related product manuals