EasyManua.ls Logo

Daewoo DWF-7094 - Page 18

Daewoo DWF-7094
31 pages
Print Icon
To Next Page IconTo Next Page
To Next Page IconTo Next Page
To Previous Page IconTo Previous Page
To Previous Page IconTo Previous Page
Loading...
33
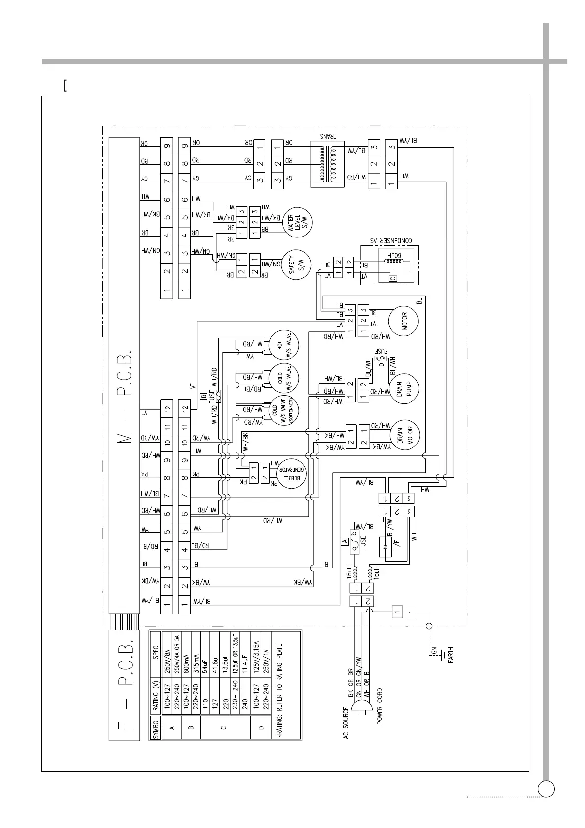
WIRING DIAGRAM
§§
è
[Dwf-7094 Pump]

Related product manuals