EasyManua.ls Logo

Daewoo KOR-137H - Interlock Mechanism and Adjustment

Daewoo KOR-137H
32 pages
Print Icon
To Next Page IconTo Next Page
To Next Page IconTo Next Page
To Previous Page IconTo Previous Page
To Previous Page IconTo Previous Page
Loading...
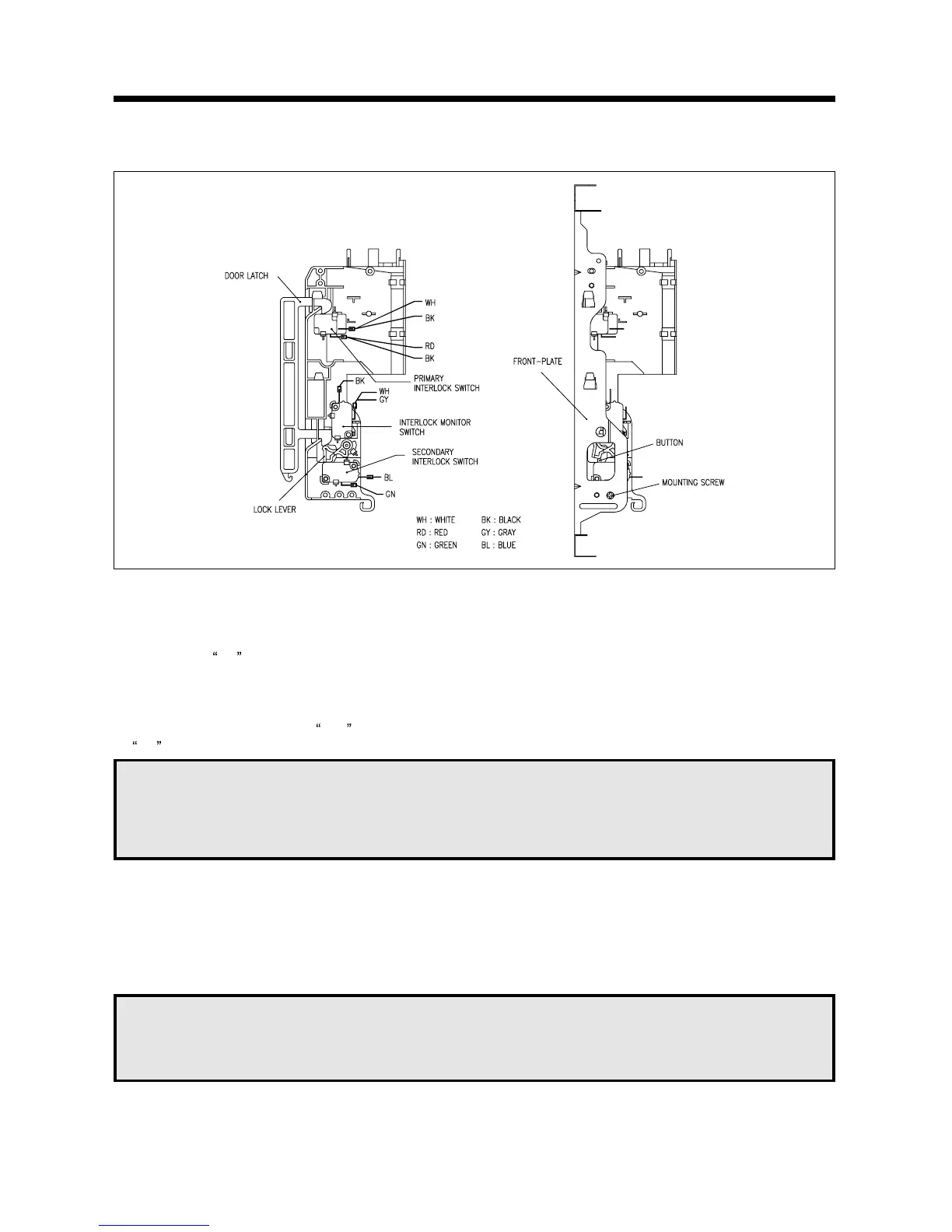
INTERLOCK MECHANISM AND ADJUSTMENT
The door lock mechanism is a device which has been specially designed to completely eliminate microwave radiation when
the door is opened during operation, and thus to perfectly prevent the danger resulting from the leakage of microwave.
(1) Primary interlock switch
When the door is closed, the hook locks the oven door. If the door is not closed properly, the oven will not operate.
When the door is closed, the hook pushes the button of the microswitch. Then the button of the primary interlock switch
bring it under
ON condition.
(2) Secondary interlock switch and interlock monitor switch
When the door is closed, the hook pushes the lock lever downward. The lock lever presses the button of the interlock
monitor switch to bring it under
OFF condition and presses the button of the secondary interlock switch to bring it under
ON condition.
(3) Adjustment steps
a) Loosen the mounting screw.
b) Adjust interlock switch assembly position.
Actuation distance of primary and secondary interlock switch shall be adjusted almost 0.7mm.
c) Make sure that lock lever moves smoothly after adjustment is completed.
d) Tighten completely a mounting screw.
ADJUSTMENT :
Interlock monitor switch
When the door is closed, the interlock monitor switch should be "OFF" condition before other switches are "ON" condition.
When the door is opened, the interlock monitor switch should be "ON" condition after other switches are "OFF" condition.
NOTE :
Microwave emission test should be performed after adjusting interlock mechanism. If the microwave emission exceed
4mW/cm
2
, readjust interlock mechanism.
15

Related product manuals