EasyManua.ls Logo

Daikin AGZ100E - Page 18

Daikin AGZ100E
112 pages
Print Icon
To Next Page IconTo Next Page
To Next Page IconTo Next Page
To Previous Page IconTo Previous Page
To Previous Page IconTo Previous Page
Loading...
IOM 1206-7 • TRAILBLAZER
MODEL AGZ CHILLERS 16 www.DaikinApplied.com
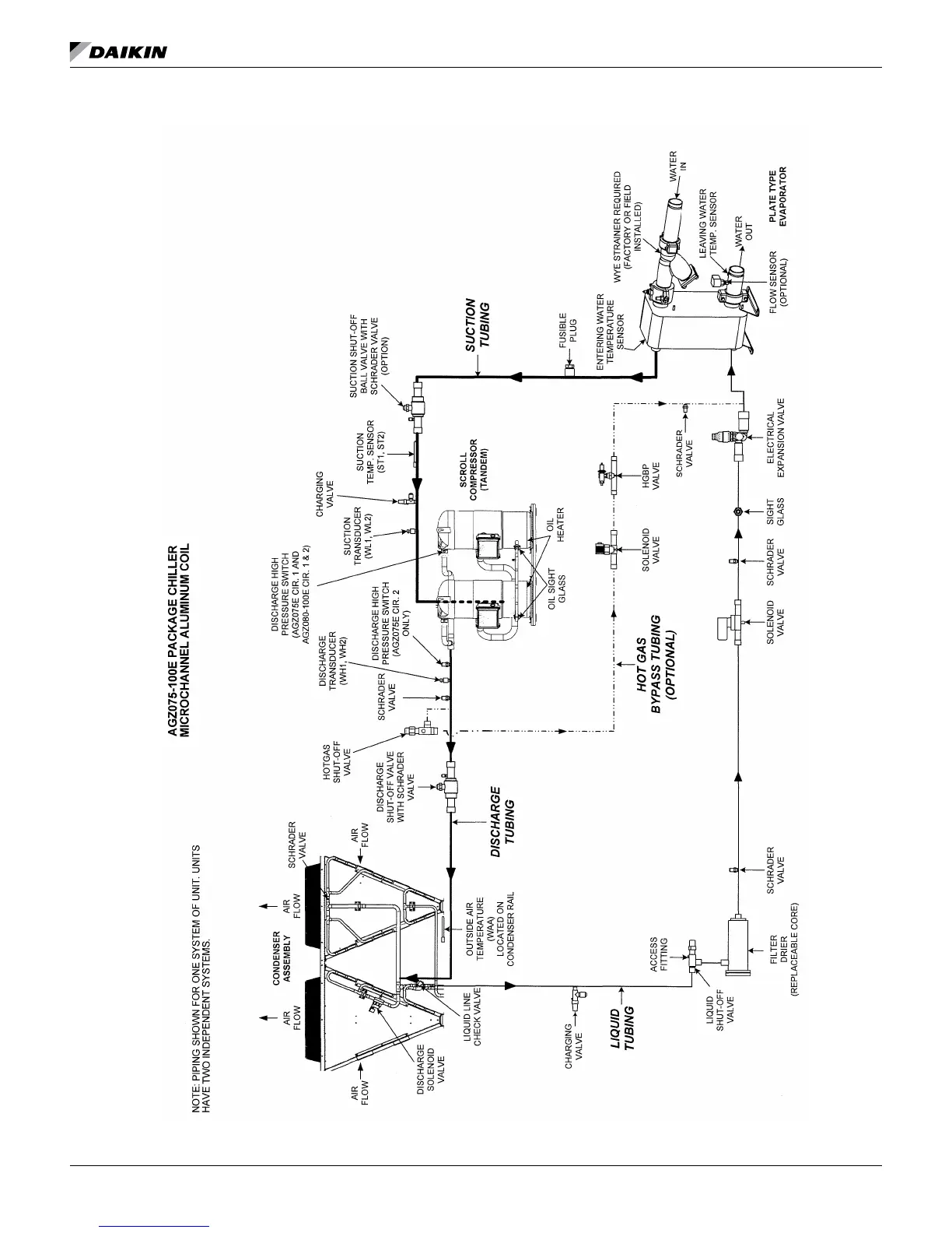
refrIgeranT sChemaTICs
Figure 27: AGZ075-100E Package Chiller with Microchannel

Related product manuals