EasyManua.ls Logo

Daikin AGZ210E - Page 21

Daikin AGZ210E
112 pages
Print Icon
To Next Page IconTo Next Page
To Next Page IconTo Next Page
To Previous Page IconTo Previous Page
To Previous Page IconTo Previous Page
Loading...
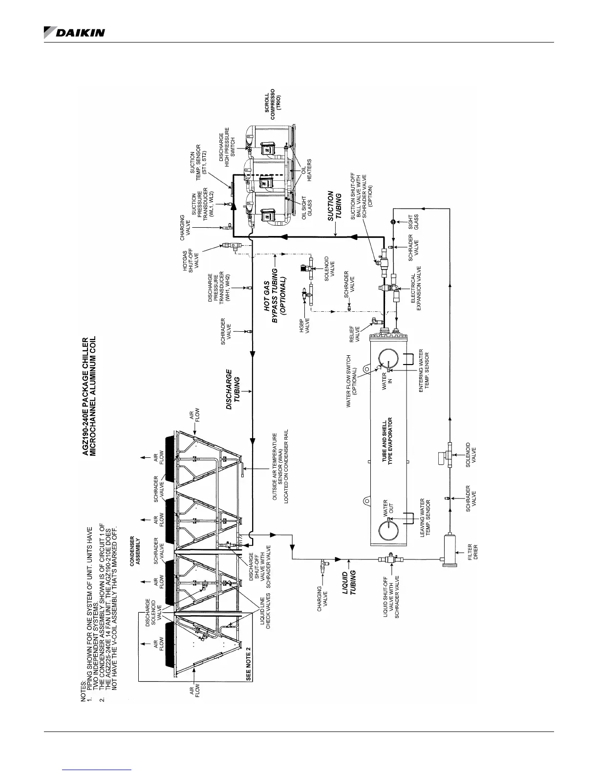
refrIgeranT sChemaTICs
www.DaikinApplied.com 19 IOM 1206-7 • TRAILBLAZER
MODEL AGZ CHILLERS
Figure 30: AGZ190-240E Package Chiller with Microchannel

Related product manuals