EasyManua.ls Logo

Daikin ARX35BVMB - Outdoor Units

Daikin ARX35BVMB
201 pages
Print Icon
To Next Page IconTo Next Page
To Next Page IconTo Next Page
To Previous Page IconTo Previous Page
To Previous Page IconTo Previous Page
Loading...
SiBE04-302 Piping Diagrams
Appendix 181
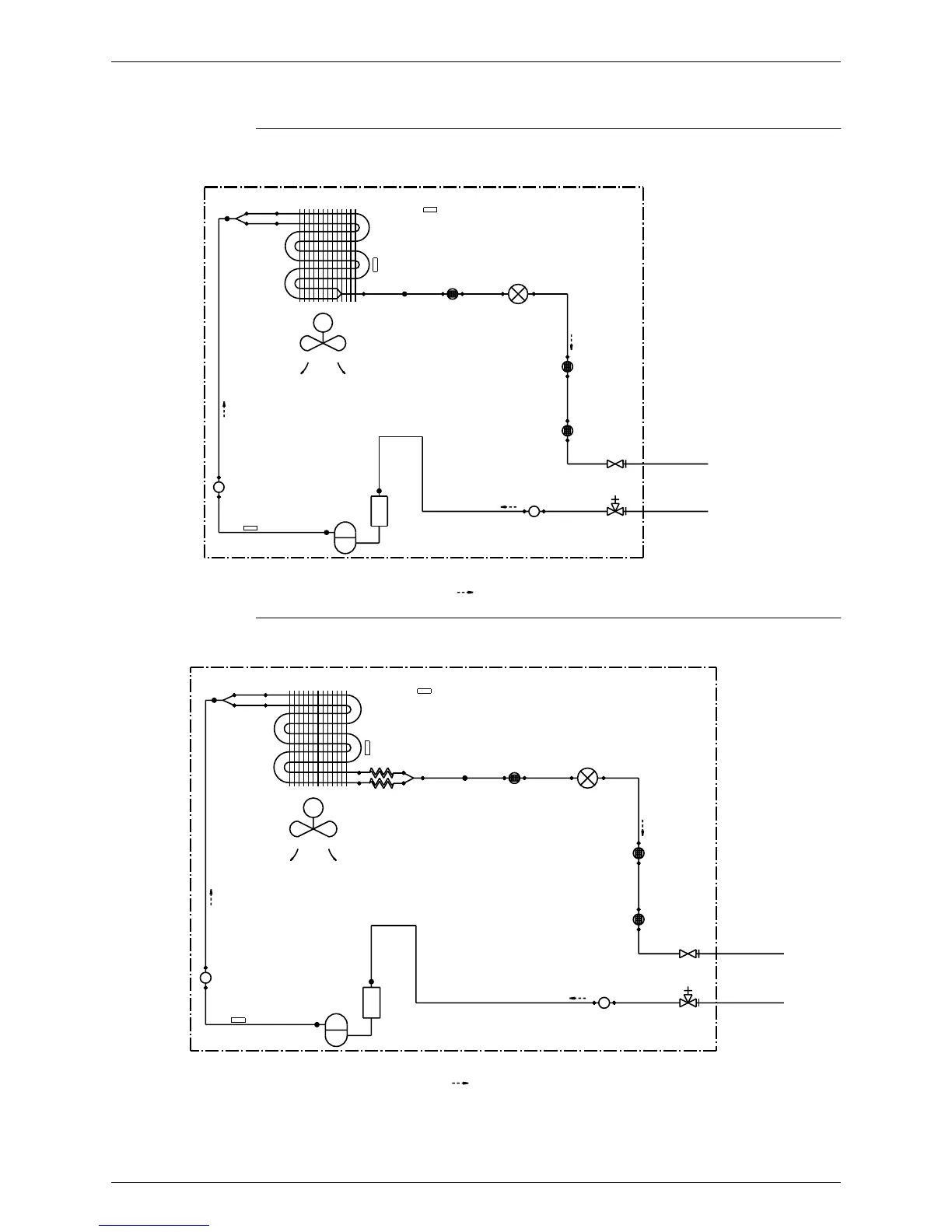
1.2 Outdoor Units
RKS25 / 35BVMB, ARKS25 / 35BVMB, RK35BVMB, ARK35BVMB, RS35BVMB
RK25BVMB, ARK25BVMB, RS20 / 25BVMB
MUFFLER
7.9CuT
THERMISTOR
DISCHARGE PIPE
7.9CuT
7.9CuT
OUTDOOR UNIT
7.9CuT
PROPELLER FAN
HEAT EXCHANGER
M
COMPRESSOR
7.9CuT
HEAT EXCHANGER
THERMISTOR
ACCUMLATOR
OUTDOOR TEMPERATURE
THERMISTOR
6.4CuT
MUFFLER
FILTER
WITH
9.5CuT
REFRIGERANT FLOW
6.4CuT
COOLING
VALVE
MOTOR OPERATED
MUFFLER
9.5CuT
6.4CuT
MUFFLER
MUFFLER
6.4CuT6.4CuT
FILTER
FILTER
WITH
WITH
VALVE
LIQUID STOP
VALVE
GAS STOP
FIELD PIPING
FIELD PIPING
(
6.4CuT
)
(
9.5CuT
)
3D039304
OUTDOOR UNIT
MUFFLER
7.9CuT
THERMISTOR
DISCHARGE PIPE
7.9CuT
7.9CuT
7.9CuT
PROPELLER FAN
HEAT EXCHANGER
M
COMPRESSOR
CAPILLARY TUBE 2
CAPILLARY TUBE 1
HEAT EXCHANGER
THERMISTOR
ACCUMLATOR
OUTDOOR TEMPERETURE
THERMISTOR
7.9CuT
9.5CuT
REFRIGERANT FLOW
6.4CuT
COOLING
MUFFLER
FILTER
WITH
6.4CuT
VALVE
MOTOR OPERATED
MUFFLER
9.5CuT
6.4CuT
MUFFLER
MUFFLER
6.4CuT6.4CuT
FILTER
FILTER
WITH
WITH
VALVE
LIQUID STOP
VALVE
GAS STOP
FIELD PIPING
FIELD PIPING
(
6.4CuT
)
(
9.5CuT
)
3D039303A

Table of Contents

Other manuals for Daikin ARX35BVMB

Related product manuals