EasyManua.ls Logo

Daikin BRC301B61 - Timer Operation

Daikin BRC301B61
10 pages
Print Icon
To Next Page IconTo Next Page
To Next Page IconTo Next Page
To Previous Page IconTo Previous Page
To Previous Page IconTo Previous Page
Loading...
Operation manual
3
VAM150~2000F
Total Heat Exchanger
HRV (Heat Reclaim Ventilation)
4PW13544-1B
4.
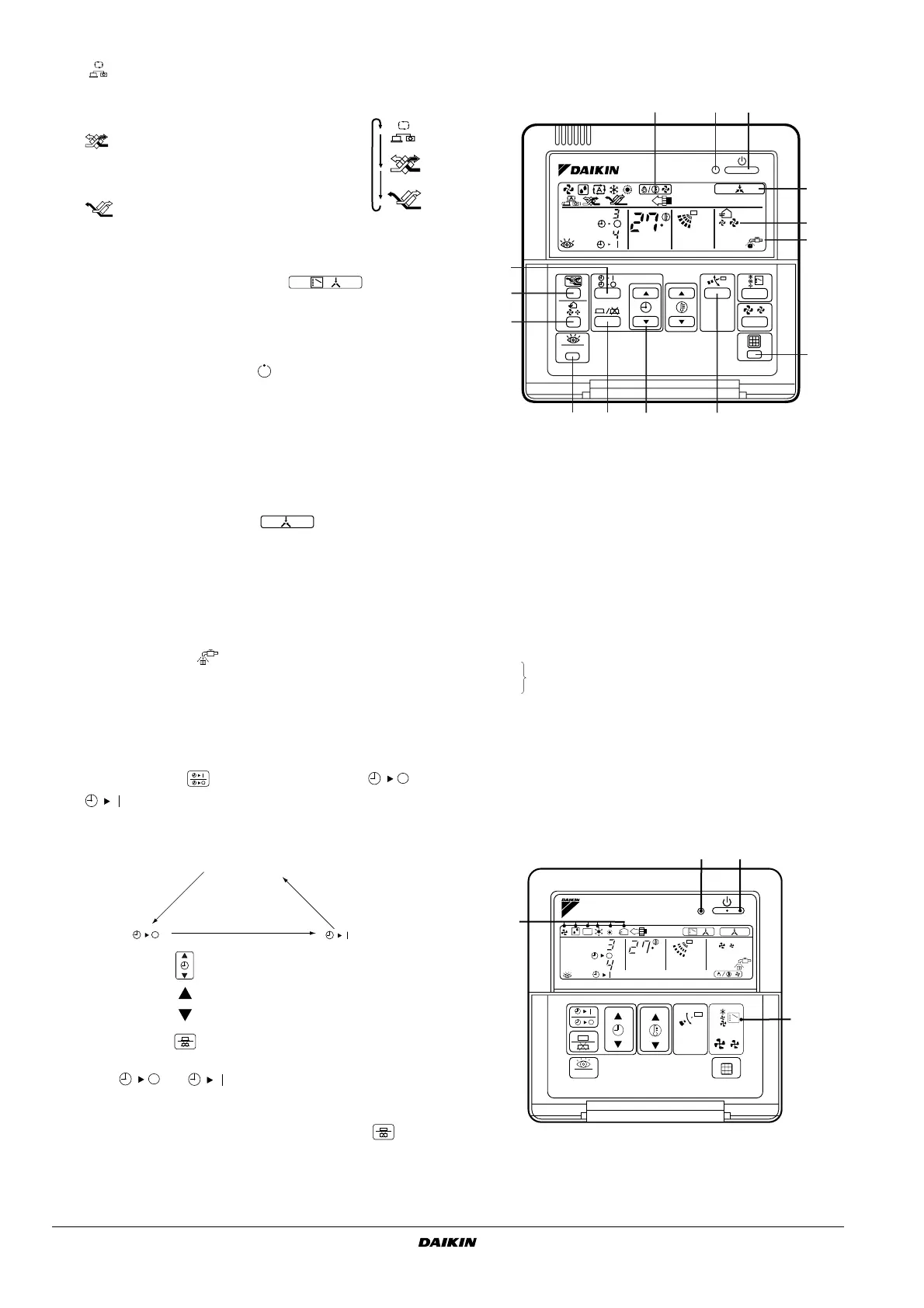
Ventilation mode changeover button
(Automatic) mode.
The temperature sensor of the unit automatically
changes the ventilation of the unit in [Bypass] mode
and [Heat Exchange] mode.
(Heat Exchange) mode.
In this mode, the air passes through the heat
exchanger element to effect [Total Heat Exchanging]
ventilation.
(Bypass) mode.
In this mode, the air does not pass through the heat
exchange element but by passes it to effect [Bypass]
ventilation.
5.
Indication of operation control method
:
When the operation of HRVs are linked with the air conditioners,
this indication may be shown.
While the indication is shown, the ON/OFF of HRVs cannot be
operated by the HRV remote controller.
6.
Indication of operation standby:
It indicates the precooling/preheating operation. This unit is at
stop and will start operation after the precooling/preheating
operation is over.
Precooling/preheating operation means the operation of HRVs is
delayed during the startup operation of linked air conditioners
such a before the office hours.
During this period the cooling or heating load is reduced to bring
the room temperature to the set temperature in a short time.
7.
Indication of centralized control:
When a remote controller for air conditioners or devices for
centralized control are connected to the HRVs, this indication
may show.
During this indication appears on the display, the ON/OFF and
timer operation may not be possible with the HRV remote
controllers.
8.
Indication of air filter cleaning
When the indication “
appears on the display, clean the filter.
9.
Filter signal reset button
10.
Inspection button
This button is to be used only for service. It is not to be used
normally.
How to operate with timer
11.
Push the button
and select either one of
” or
”.
Each time the button is pushed, the indication changes as
shown below.
12.
Push the button
and set the time.
Each time when “
is pushed, the time advances one hour.
Each time when “
is pushed, the time goes back one hour.
13.
Push the button
Then, the reservation is finished.
Either “
or
changes from flashing to lighting.
After the reservation is finished, the remaining time is indicated
in the display.
For cancelling the timer operation, push the button
once
again.
The indication disappears.
Operating the HRV unit using the remote controller of
the VRV-system air conditioner
BRC1C51, 61, 517: Remote controller for VRV
When the VRV-system air conditioner is connected with the HRV unit
with a direct duct, the remote controller of the air conditioner cannot
be used to select the VENTILATION mode. To use the HRV unit
without operating the air conditioner, set the air conditioner in the
FAN VENTILATION mode and select the low fan speed.
A
(
(
A
(
(
“ ”“ ”
“No indication”
1
Operation lamp
2
Operation/stop button
3
Air flow rate changeover button
4
Ventilation mode changeover button
5
Indication of air flow rate
6
Indication of operation control method
7
Indication of centralized control
8
Indication of air filter cleaning
9
Filter signal reset button
10
Inspection button
11
See "How to operate with timer" on page 3
12
13
14
If you press these buttons when using independent
operation of the HRV unit, the message “NOT
AVAILABLE” will appear on the display for a few seconds.
1
Operation lamp
2
Operation/stop button
3
Operation mode display
4
Operation mode selector
TEST
C
hr
hr
TEST
NOT
AVAILABLE
L H
612
7
5
8
9
4
11
10 13 12 14
3
REMOTE CONTROL
TEST
OPTION
A
TEST
H L
hr
hr
C
4
1
2
3

Related product manuals