EasyManua.ls Logo

Daikin DZ9VC - Setting Mode 1 Operations; Adjusting System Settings (Mode 1)

Daikin DZ9VC
40 pages
Print Icon
To Next Page IconTo Next Page
To Next Page IconTo Next Page
To Previous Page IconTo Previous Page
To Previous Page IconTo Previous Page
Loading...
27

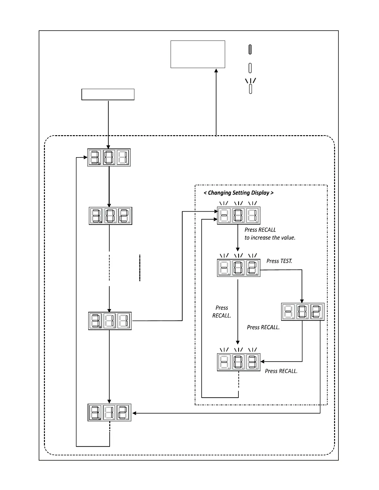
Hold RECALL.
SETTINGS MODE 1 NAVIGATION
< SCREEN 3 >

system settings as shown in the tables
at the end of this section.
< SCREEN 0 >
Press
RECALL.
Press RECALL
to increase the value.
Press TEST
to change setting.
Press RECALL.
Press TEST to complete setting and return to setting mode.
< SCREEN 2 >
Press LEARN.
< SCREEN 3 >
Press RECALL.
Press RECALL.
OFF
ON

0.4 sec. On - 0.4 sec. Off

Related product manuals