EasyManua.ls Logo

Daikin FCA125AV16 - 11-8. Simultaneous Operation System Individual Setting

Daikin FCA125AV16
68 pages
To Next Page IconTo Next Page
To Next Page IconTo Next Page
To Previous Page IconTo Previous Page
To Previous Page IconTo Previous Page
Loading...
๎˜•๎˜š๎˜›๎˜Ÿ๎˜ž๎˜‡๎˜ฃ
๎˜ฏ๎˜ท๎™…๎™…๎˜ป๎˜ฟ๎˜น๎™
๎˜ช๎™€๎˜ถ๎˜ท๎™๎˜ซ๎™€๎˜‹๎™
๎˜ง๎˜ฉ๎˜ฎ๎˜ฏ๎˜ฐ๎™
๎˜ค๎˜ฌ๎˜ฅ๎˜ฆ๎™๎˜ซ๎™€๎˜‹๎™
๎˜ญ๎˜ณ๎˜ป๎™‚๎™๎™„๎™Š๎™„๎™…๎˜ท๎˜พ๎™๎˜ƒ๎˜‘๎™๎™‡๎˜ฟ๎˜ป๎™…๎˜…๎™
๎˜ฏ๎˜ป๎˜พ๎™‡๎˜ฝ๎™…๎˜ณ๎˜ฟ๎˜ท๎™€๎™‡๎™„๎™๎™€๎™๎˜ท๎™‚๎˜ณ๎™…๎˜ป๎™€๎˜ฟ๎™๎™„๎™Š๎™„๎™…๎˜ท๎˜พ๎™๎˜ƒ๎˜“๎˜‰๎™‡๎˜ฟ๎˜ป๎™…๎˜…๎™
๎˜‘๎˜‘๎™๎˜ƒ๎˜“๎˜‘๎˜…๎™
๎˜๎™
๎˜ฏ๎˜ป๎˜พ๎™‡๎˜ฝ๎™…๎˜ณ๎˜ฟ๎˜ท๎™€๎™‡๎™„๎™๎™€๎™๎˜ท๎™‚๎˜ณ๎™…๎˜ป๎™€๎˜ฟ๎™๎™„๎™Š๎™„๎™…๎˜ท๎˜พ๎™๎˜ƒ๎˜•๎˜‰๎™‡๎˜ฟ๎˜ป๎™…๎˜…๎™
๎˜ฅ๎™€๎™‡๎˜ด๎˜ฝ๎˜ท๎™๎™…๎™‰๎˜ป๎˜ฟ๎™๎˜พ๎™‡๎˜ฝ๎™…๎˜ป๎™๎˜ƒ๎˜—๎˜Š๎™‡๎˜ฟ๎˜ป๎™…๎˜…๎™
๎˜ƒ๎˜ƒ๎˜๎˜†๎˜ฃ ๎˜”๎˜๎˜๎˜—๎˜Ž๎˜–๎˜‰๎˜๎˜‹๎˜‘๎˜—๎˜”๎˜ฃ๎˜‘๎˜’๎˜‹๎˜“๎˜‰๎˜–๎˜๎˜‘๎˜๎˜ฃ๎˜”๎˜™๎˜”๎˜–๎˜‹๎˜๎˜ฃ๎˜๎˜๎˜Š๎˜๎˜˜๎˜๎˜Š๎˜—๎˜‰๎˜Ž๎˜ฃ๎˜”๎˜‹๎˜–๎˜–๎˜๎˜๎˜Œ
๎˜ฉ๎™…๎™๎˜ป๎™„๎™๎˜ท๎˜ณ๎™„๎˜ป๎˜ท๎™‚๎™๎˜ป๎˜ธ๎™๎™…๎˜บ๎˜ท๎™๎™€๎™๎™…๎˜ป๎™€๎˜ฟ๎˜ณ๎˜ฝ๎™๎™‚๎˜ท๎˜พ๎™€๎™…๎˜ท๎™๎˜ต๎™€๎˜ฟ๎™…๎™‚๎™€๎˜ฝ๎˜ฝ๎˜ท๎™‚๎™๎˜ป๎™„๎™๎™‡๎™„๎˜ท๎˜ถ๎™๎™‰๎˜บ๎˜ท๎˜ฟ๎™๎™„๎˜ท๎™…๎™…๎˜ป๎˜ฟ๎˜น๎™๎™…๎˜บ๎˜ท๎™๎™„๎˜ฝ๎˜ณ๎™ˆ๎˜ท๎™๎™‡๎˜ฟ๎˜ป๎™…๎˜๎™
๎˜ก๎™๎˜’๎˜ก๎˜ ๎˜œ๎˜ž๎˜๎˜ข๎˜ก๎˜ž๎˜ฃ๎˜ข๎™
๎™Œ ๎˜ญ๎˜ท๎™ƒ๎™€๎™‚๎˜พ๎™๎™…๎˜บ๎˜ท๎™๎˜ธ๎™€๎˜ฝ๎˜ฝ๎™€๎™‰๎˜ป๎˜ฟ๎˜น๎™๎™๎™‚๎™€๎˜ต๎˜ท๎˜ถ๎™‡๎™‚๎˜ท๎™๎™‰๎˜บ๎˜ท๎˜ฟ๎™๎™„๎˜ท๎™…๎™…๎˜ป๎˜ฟ๎˜น๎™๎™…๎˜บ๎˜ท๎™๎˜พ๎˜ณ๎™„๎™…๎˜ท๎™‚๎™๎˜ณ๎˜ฟ๎˜ถ๎™๎™„๎˜ฝ๎˜ณ๎™ˆ๎˜ท๎™๎™‡๎˜ฟ๎˜ป๎™…๎™๎™„๎˜ท๎™๎˜ณ๎™‚๎˜ณ๎™…๎˜ท๎˜ฝ๎™Š๎˜‹
๎˜„ ๎˜๎˜…๎˜ƒ๎˜…๎˜‚๎˜…๎˜ป๎˜ฟ๎™๎™…๎˜บ๎˜ท๎™๎™…๎˜ณ๎˜ด๎˜ฝ๎˜ท๎™„๎™๎˜ป๎˜ฟ๎˜ถ๎˜ป๎˜ต๎˜ณ๎™…๎˜ท๎™„๎™๎˜ธ๎˜ณ๎˜ต๎™…๎™€๎™‚๎™‹๎™๎™„๎˜ท๎™…๎™…๎˜ป๎˜ฟ๎˜น๎™„๎˜‹
๎˜ฏ๎˜ฆ๎˜ค๎˜ฌ๎˜ซ๎˜ฅ๎™
๎˜ค๎˜ฌ๎˜ฅ๎˜ฆ๎™๎˜ซ๎™€๎˜Œ๎™
๎˜๎˜‘๎™
๎˜๎˜“๎™
๎˜๎˜•๎™
๎˜๎˜—๎™
๎˜ƒ๎˜ซ๎™€๎™…๎˜ท๎˜…๎™๎˜ฐ๎˜บ๎˜ท๎™๎˜๎˜ช๎™€๎˜ถ๎˜ท๎™๎˜ซ๎™€๎˜Œ๎˜‚๎™๎˜ป๎™„๎™๎™„๎˜ท๎™…๎™๎™€๎˜ฟ๎™๎˜ณ๎™๎˜น๎™‚๎™€๎™‡๎™๎™๎˜ด๎˜ณ๎™„๎˜ป๎™„๎˜Œ๎™๎˜ฐ๎™€๎™๎˜ป๎˜ฟ๎˜ถ๎˜ป๎™ˆ๎˜ป๎˜ถ๎™‡๎˜ณ๎˜ฝ๎˜ฝ๎™Š๎™๎™„๎˜ท๎™…๎™๎˜ณ๎™๎˜ช๎™€๎˜ถ๎˜ท๎™๎˜ซ๎™€๎˜Œ๎™๎˜ธ๎™€๎™‚๎™๎˜ท๎˜ณ๎˜ต๎˜บ๎™๎˜ป๎˜ฟ๎˜ถ๎™€๎™€๎™‚๎™๎™‡๎˜ฟ๎˜ป๎™…
๎™€๎™‚๎™๎˜ต๎™€๎˜ฟ๎˜ธ๎˜ป๎™‚๎˜พ๎™๎™…๎˜บ๎˜ท๎™๎™„๎˜ท๎™…๎™…๎˜ป๎˜ฟ๎˜น๎™„๎˜ˆ๎™๎™„๎˜ท๎™…๎™๎™…๎˜บ๎˜ท๎™๎˜ช๎™€๎˜ถ๎˜ท๎™๎˜ซ๎™€๎˜๎™๎˜ป๎˜ฟ๎™๎™…๎˜บ๎˜ท๎™๎™๎˜ณ๎™‚๎˜ท๎˜ฟ๎™…๎˜บ๎˜ท๎™„๎˜ป๎™„๎˜๎™
๎˜„๎˜’๎˜† ๎˜ค๎˜บ๎˜ณ๎˜ฟ๎˜น๎˜ท๎™๎™…๎˜บ๎˜ท๎™๎˜ฏ๎˜ฆ๎˜ค๎˜ฌ๎˜ซ๎˜ฅ๎™๎˜ค๎˜ฌ๎˜ฅ๎˜ฆ๎™๎˜ซ๎™€๎˜‹๎™๎™…๎™€๎™๎˜๎˜๎˜“๎˜‚๎˜ˆ๎™๎˜ป๎˜ฟ๎˜ถ๎˜ป๎™ˆ๎˜ป๎˜ถ๎™‡๎˜ณ๎˜ฝ๎™๎™„๎˜ท๎™…๎™…๎˜ป๎˜ฟ๎˜น๎˜ˆ๎™๎™„๎™€๎™๎™…๎˜บ๎˜ณ๎™…๎™๎™…๎˜บ๎˜ท๎™๎™„๎˜ฝ๎˜ณ๎™ˆ๎˜ท๎™๎™‡๎˜ฟ๎˜ป๎™…๎™๎˜ต๎˜ณ๎˜ฟ๎™๎˜ด๎˜ท๎™๎˜ป๎˜ฟ๎˜ถ๎˜ป๎™ˆ๎˜ป๎˜ถ๎™‡๎˜ณ๎˜ฝ๎˜ฝ๎™Š๎™๎™„๎˜ท๎™…๎˜Œ
๎˜ฏ๎˜ท๎™…๎™…๎˜ป๎˜ฟ๎˜น๎™
๎˜ช๎™€๎˜ถ๎˜ท๎™๎˜ซ๎™€๎˜‹๎™
๎˜ฑ๎˜ฟ๎˜ป๎˜ธ๎˜ป๎˜ท๎˜ถ๎™๎™„๎˜ท๎™…๎™…๎˜ป๎˜ฟ๎˜น๎™
๎˜ฉ๎˜ฟ๎˜ถ๎˜ป๎™ˆ๎˜ป๎˜ถ๎™‡๎˜ณ๎˜ฝ๎™๎™„๎˜ท๎™…๎™…๎˜ป๎˜ฟ๎˜น๎™
๎˜‘๎˜‘๎™๎˜ƒ๎˜“๎˜‘๎˜…๎™
๎˜„๎˜”๎˜† ๎˜ญ๎˜ท๎™ƒ๎™€๎™‚๎˜พ๎™๎˜ธ๎˜ป๎˜ท๎˜ฝ๎˜ถ๎™๎™„๎˜ท๎™…๎™…๎˜ป๎˜ฟ๎˜น๎™๎˜ƒ๎˜ฎ๎˜ท๎˜ธ๎˜ท๎™‚๎™๎™…๎™€๎™๎˜‘๎˜‘๎˜‰๎˜‘๎™๎™…๎™€๎™๎˜‘๎˜‘๎˜‰๎˜™๎˜…๎™๎˜ธ๎™€๎™‚๎™๎™…๎˜บ๎˜ท๎™๎˜พ๎˜ณ๎™„๎™…๎˜ท๎™‚๎™๎™‡๎˜ฟ๎˜ป๎™…๎˜‹
๎˜„๎˜–๎˜† ๎˜ฐ๎™‡๎™‚๎˜ฟ๎™๎™€๎˜ธ๎˜ธ๎™๎™…๎˜บ๎˜ท๎™๎˜พ๎˜ณ๎˜ป๎˜ฟ๎™๎™๎™€๎™‰๎˜ท๎™‚๎™๎™„๎™‡๎™๎™๎˜ฝ๎™Š๎™๎™„๎™‰๎˜ป๎™…๎˜ต๎˜บ๎™๎˜ณ๎˜ธ๎™…๎˜ท๎™‚๎™๎˜ƒ๎˜“๎˜…๎™๎˜ป๎™„๎™๎˜ธ๎˜ป๎˜ฟ๎˜ป๎™„๎˜บ๎˜ท๎˜ถ๎˜Œ
๎˜ง๎˜ฉ๎˜ฎ๎˜ฏ๎˜ฐ๎™
๎˜ค๎˜ฌ๎˜ฅ๎˜ฆ๎™๎˜ซ๎™€๎˜‹๎™
๎˜‘๎™
๎˜„๎˜˜๎˜† ๎˜ฅ๎˜ท๎™…๎˜ณ๎˜ต๎˜บ๎™๎™‚๎˜ท๎˜พ๎™€๎™…๎˜ท๎™๎˜ต๎™€๎˜ฟ๎™…๎™‚๎™€๎˜ฝ๎˜ฝ๎˜ท๎™‚๎™๎˜ธ๎™‚๎™€๎˜พ๎™๎™…๎˜บ๎˜ท๎™๎˜พ๎˜ณ๎™„๎™…๎˜ท๎™‚๎™๎™‡๎˜ฟ๎˜ป๎™…๎™๎˜ณ๎˜ฟ๎˜ถ๎™๎˜ต๎™€๎˜ฟ๎˜ฟ๎˜ท๎˜ต๎™…๎™๎˜ป๎™…๎™๎™…๎™€๎™๎™…๎˜บ๎˜ท๎™๎™„๎˜ฝ๎˜ณ๎™ˆ๎˜ท๎™๎™‡๎˜ฟ๎˜ป๎™…๎˜Œ
๎˜ฏ๎˜ฆ๎˜ค๎˜ฌ๎˜ซ๎˜ฅ๎™
๎˜ค๎˜ฌ๎˜ฅ๎˜ฆ๎™๎˜ซ๎™€๎˜Œ๎™
๎˜๎˜‘๎™
๎˜๎˜“๎™
๎˜„๎˜š๎˜† ๎˜ฐ๎™‡๎™‚๎˜ฟ๎™๎™€๎˜ฟ๎™๎™…๎˜บ๎˜ท๎™๎˜พ๎˜ณ๎˜ป๎˜ฟ๎™๎™๎™€๎™‰๎˜ท๎™‚๎™๎™„๎™‡๎™๎™๎˜ฝ๎™Š๎™๎™„๎™‰๎˜ป๎™…๎˜ต๎˜บ๎™๎˜ณ๎˜น๎˜ณ๎˜ป๎˜ฟ๎˜ˆ๎™๎˜ณ๎˜ฟ๎˜ถ๎™๎˜ณ๎™„๎™๎˜ป๎˜ฟ๎™๎˜ƒ๎˜‘๎˜…๎˜ˆ๎™๎˜ต๎˜บ๎˜ณ๎˜ฟ๎˜น๎˜ท๎™๎™…๎˜บ๎˜ท๎™๎˜ฏ๎˜ฆ๎˜ค๎˜ฌ๎˜ซ๎˜ฅ๎™๎˜ค๎˜ฌ๎˜ฅ๎˜ฆ๎™๎˜ซ๎™€๎˜Œ๎™๎™…๎™€๎™๎˜๎˜๎˜“๎˜‚๎˜ˆ
๎˜ป๎˜ฟ๎˜ถ๎˜ป๎™ˆ๎˜ป๎˜ถ๎™‡๎˜ณ๎˜ฝ๎™๎™„๎˜ท๎™…๎™…๎˜ป๎˜ฟ๎˜น๎˜
๎˜„๎˜›๎˜† ๎˜ญ๎˜ท๎™ƒ๎™€๎™‚๎˜พ๎™๎˜ธ๎˜ป๎˜ท๎˜ฝ๎˜ถ๎™๎™„๎˜ท๎™…๎™…๎˜ป๎˜ฟ๎˜น๎™๎˜ƒ๎˜ฎ๎˜ท๎˜ธ๎˜ท๎™‚๎™๎™…๎™€๎™๎˜‘๎˜‘๎˜‰๎˜‘๎™๎™…๎™€๎™๎˜‘๎˜‘๎˜‰๎˜—๎˜…๎™๎˜ธ๎™€๎™‚๎™๎™…๎˜บ๎˜ท๎™๎™„๎˜ฝ๎˜ณ๎™ˆ๎˜ท๎™๎™‡๎˜ฟ๎˜ป๎™…๎˜
๎˜„๎˜๎˜† ๎˜ฐ๎™‡๎™‚๎˜ฟ๎™๎™€๎˜ธ๎˜ธ๎™๎™…๎˜บ๎˜ท๎™๎˜พ๎˜ณ๎˜ป๎˜ฟ๎™๎™๎™€๎™‰๎˜ท๎™‚๎™๎™„๎™‡๎™๎™๎˜ฝ๎™Š๎™๎™„๎™‰๎˜ป๎™…๎˜ต๎˜บ๎™๎˜ณ๎˜ธ๎™…๎˜ท๎™‚๎™๎˜ƒ๎˜œ๎˜…๎™๎˜ป๎™„๎™๎˜ธ๎˜ป๎˜ฟ๎˜ป๎™„๎˜บ๎˜ท๎˜ถ๎˜Œ
๎˜„๎˜Ÿ๎˜† ๎˜ฉ๎˜ธ๎™๎™…๎˜บ๎˜ท๎™‚๎˜ท๎™๎˜ป๎™„๎™๎˜พ๎™€๎™‚๎˜ท๎™๎™…๎˜บ๎˜ณ๎˜ฟ๎™๎™€๎˜ฟ๎˜ท๎™๎™„๎˜ฝ๎˜ณ๎™ˆ๎˜ท๎™๎™‡๎˜ฟ๎˜ป๎™…๎˜ˆ๎™๎™‚๎˜ท๎™๎˜ท๎˜ณ๎™…๎™๎™„๎™…๎˜ท๎™๎™„๎™๎˜ƒ๎˜—๎˜…๎™๎™…๎™€๎™๎˜ƒ๎˜ž๎˜…๎˜Œ
๎˜„๎˜ ๎˜† ๎˜ฅ๎˜ท๎™…๎˜ณ๎˜ต๎˜บ๎™๎™…๎˜บ๎˜ท๎™๎™‚๎˜ท๎˜พ๎™€๎™…๎˜ท๎™๎˜ต๎™€๎˜ฟ๎™…๎™‚๎™€๎˜ฝ๎˜ฝ๎˜ท๎™‚๎™๎˜ธ๎™‚๎™€๎˜พ๎™๎™…๎˜บ๎˜ท๎™๎™„๎˜ฝ๎˜ณ๎™ˆ๎˜ท๎™๎™‡๎˜ฟ๎˜ป๎™…๎™๎˜ณ๎˜ธ๎™…๎˜ท๎™‚๎™๎™…๎˜บ๎˜ท๎™๎™„๎˜ท๎™…๎™…๎˜ป๎˜ฟ๎˜น๎˜ˆ๎™๎˜ณ๎˜ฟ๎˜ถ๎™๎™‚๎˜ท๎˜ณ๎™…๎™…๎˜ณ๎˜ต๎˜บ๎™๎™…๎™€๎™๎™…๎˜บ๎˜ท๎™๎˜พ๎˜ณ๎™„๎™…๎˜ท๎™‚๎™๎™‡๎˜ฟ๎˜ป๎™…๎˜Œ
๎˜ฐ๎˜บ๎˜ป๎™„๎™๎˜ป๎™„๎™๎™…๎˜บ๎˜ท๎™๎˜ท๎˜ฟ๎˜ถ๎™๎™€๎˜ธ๎™๎™…๎˜บ๎˜ท๎™๎™„๎˜ท๎™…๎™…๎˜ป๎˜ฟ๎˜น๎™๎™๎™‚๎™€๎˜ต๎˜ท๎˜ถ๎™‡๎™‚๎˜ท๎˜‹
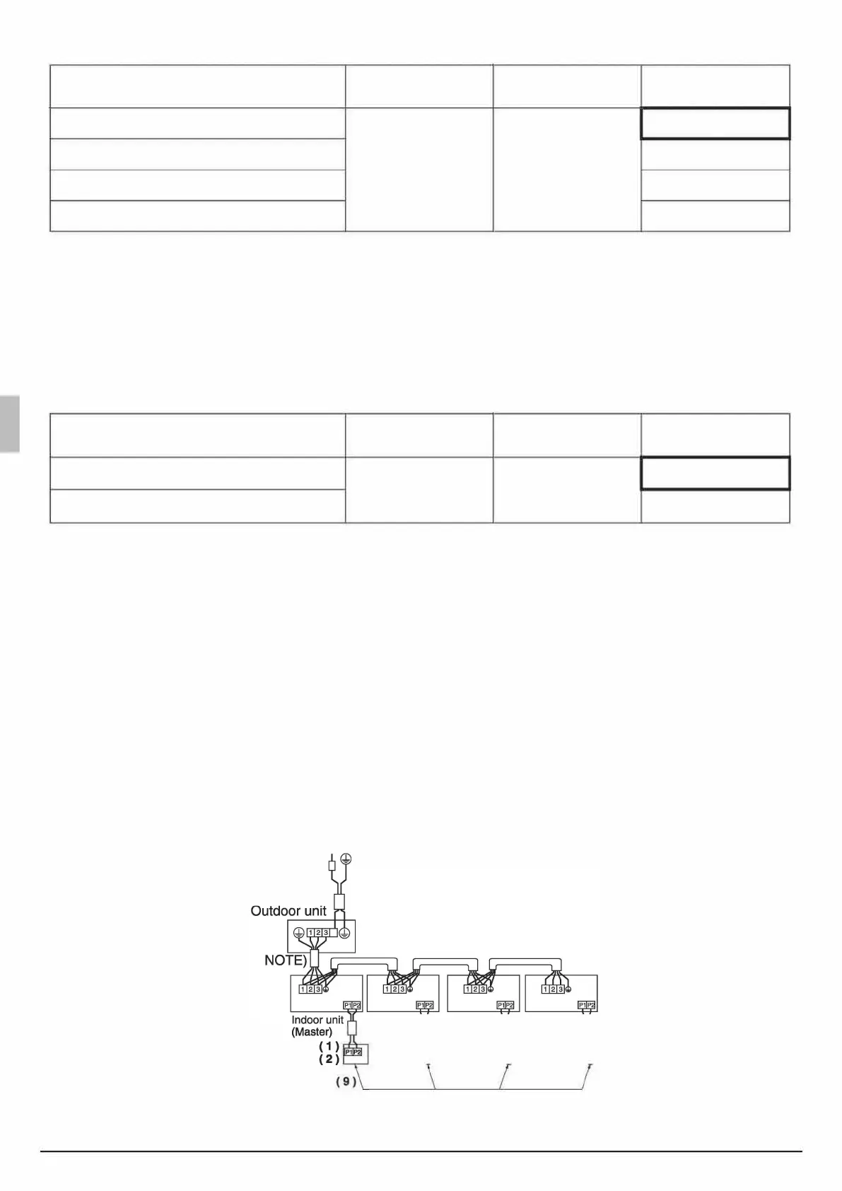
๎˜‡ ๎˜ฒ๎™€๎™‡๎™๎˜ถ๎™€๎™๎˜ฟ๎™€๎™…๎™๎˜ฟ๎˜ท๎˜ท๎˜ถ๎™๎™…๎™€๎™๎™‚๎˜ท๎™‰๎˜ป๎™‚๎˜ท๎™๎™…๎˜บ๎˜ท๎™๎™‚๎˜ท๎˜พ๎™€๎™…๎˜ท๎™๎˜ต๎™€๎˜ฟ๎™…๎™‚๎™€๎˜ฝ๎˜ฝ๎˜ท๎™‚๎™๎˜ธ๎™‚๎™€๎˜พ๎™๎™…๎˜บ๎˜ท๎™๎˜พ๎˜ณ๎™„๎™…๎˜ท๎™‚๎™๎™‡๎˜ฟ๎˜ป๎™…๎™๎˜ป๎˜ธ๎™๎™…๎˜บ๎˜ท๎™๎™€๎™๎™…๎˜ป๎™€๎˜ฟ๎˜ณ๎˜ฝ๎™๎™‚๎˜ท๎˜พ๎™€๎™…๎˜ท๎™๎˜ต๎™€๎˜ฟ๎™…๎™‚๎™€๎˜ฝ๎˜ฝ๎˜ท๎™‚
๎˜ธ๎™€๎™‚๎™๎™„๎˜ฝ๎˜ณ๎™ˆ๎˜ท๎™๎™‡๎˜ฟ๎˜ป๎™…๎™๎˜ป๎™„๎™๎™‡๎™„๎˜ท๎˜ถ๎˜๎™๎˜ƒ๎˜จ๎™€๎™‰๎˜ท๎™ˆ๎˜ท๎™‚๎˜ˆ๎™๎™‚๎˜ท๎˜พ๎™€๎™ˆ๎˜ท๎™๎™…๎˜บ๎˜ท๎™๎™‰๎˜ป๎™‚๎˜ป๎˜ฟ๎˜น๎™๎˜ณ๎™†๎˜ณ๎˜ต๎˜บ๎˜ท๎˜ถ๎™๎™…๎™€๎™๎™…๎˜บ๎˜ท๎™๎™‚๎˜ท๎˜พ๎™€๎™…๎˜ท๎™๎˜ต๎™€๎˜ฟ๎™…๎™‚๎™€๎˜ฝ๎˜ฝ๎˜ท๎™‚๎™๎™…๎˜ท๎™‚๎˜พ๎˜ป๎˜ฟ๎˜ณ๎˜ฝ๎™๎˜ด๎˜ฝ๎™€๎˜ต๎˜ผ
๎™€๎˜ธ๎™๎™…๎˜บ๎˜ท๎™๎˜พ๎˜ณ๎™„๎™…๎˜ท๎™‚๎™๎™‡๎˜ฟ๎˜ป๎™…๎˜๎˜…๎™๎˜ฃ๎˜ธ๎™…๎˜ท๎™‚๎™๎™…๎˜บ๎˜ท๎™๎™„๎˜ฝ๎˜ณ๎™ˆ๎˜ท๎™๎™‡๎˜ฟ๎˜ป๎™…๎™๎™„๎˜ท๎™…๎™…๎˜ป๎˜ฟ๎˜น๎˜ˆ๎™๎™‚๎˜ท๎˜พ๎™€๎™ˆ๎˜ท๎™๎™…๎˜บ๎˜ท๎™๎™‚๎˜ท๎˜พ๎™€๎™…๎˜ท๎™๎˜ต๎™€๎˜ฟ๎™…๎™‚๎™€๎˜ฝ๎˜ฝ๎˜ท๎™‚๎™๎™‰๎˜ป๎™‚๎˜ป๎˜ฟ๎˜น๎˜ˆ๎™๎˜ณ๎˜ฟ๎˜ถ๎™๎™‚๎˜ท๎™‰๎˜ป๎™‚๎˜ท๎™๎™…๎˜บ๎˜ท
๎™‚๎˜ท๎˜พ๎™€๎™…๎˜ท๎™๎˜ต๎™€๎˜ฟ๎™…๎™‚๎™€๎˜ฝ๎˜ฝ๎˜ท๎™‚๎™๎™…๎™€๎™๎™…๎˜บ๎˜ท๎™๎˜พ๎˜ณ๎™„๎™…๎˜ท๎™‚๎™๎™‡๎˜ฟ๎˜ป๎™…๎˜Œ๎™๎˜ƒ๎˜ฐ๎˜บ๎˜ท๎™๎˜ป๎˜ฟ๎˜ถ๎™€๎™€๎™‚๎™๎™‡๎˜ฟ๎˜ป๎™…๎™๎˜ถ๎™€๎˜ท๎™„๎™๎˜ฟ๎™€๎™…๎™๎™€๎™๎˜ท๎™‚๎˜ณ๎™…๎˜ท๎™๎™๎™‚๎™€๎™๎˜ท๎™‚๎˜ฝ๎™Š๎™๎™‰๎˜บ๎˜ท๎˜ฟ๎™๎™…๎™‰๎™€๎™๎™€๎™‚๎™๎˜พ๎™€๎™‚๎˜ท
๎™‚๎˜ท๎˜พ๎™€๎™…๎˜ท๎™๎˜ต๎™€๎˜ฟ๎™…๎™‚๎™€๎˜ฝ๎˜ฝ๎˜ท๎™‚๎™„๎™๎˜ณ๎™‚๎˜ท๎™๎˜ณ๎™…๎™…๎˜ณ๎˜ต๎˜บ๎˜ท๎˜ถ๎™๎™…๎™€๎™๎™…๎˜บ๎˜ท๎™๎™‡๎˜ฟ๎˜ป๎™…๎™๎˜ป๎˜ฟ๎™๎™…๎˜บ๎˜ท๎™๎™„๎˜ป๎˜พ๎™‡๎˜ฝ๎™…๎˜ณ๎˜ฟ๎˜ท๎™€๎™‡๎™„๎™๎™€๎™๎˜ท๎™‚๎˜ณ๎™…๎˜ป๎™€๎˜ฟ๎™๎™„๎™Š๎™„๎™…๎˜ท๎˜พ๎™๎˜พ๎™€๎˜ถ๎˜ท๎˜‹๎˜…
๎˜๎˜‘๎˜–๎˜‹๎˜ฃ ๎˜‚๎˜ˆ๎˜ฃ
๎˜๎˜ƒ๎˜Ž๎˜‚๎˜๎˜ˆ๎˜‚๎˜
๎˜Š
๎˜‚๎˜Ž๎˜๎˜‹๎˜‚๎˜Ž
Ea๎˜Šh leakage
breaker
Power Supply
1 ~50 Hz 2
3
0 V
๎˜…๎˜“๎˜Œ๎˜”๎˜”๎˜•๎˜œ๎˜™๎˜“๎˜Ž๎˜˜
1
๎˜š๎˜œ
๎˜†๎˜“๎˜Œ๎˜”๎˜”๎˜•๎˜œ๎˜™๎˜“๎˜๎˜˜๎˜œ
1
๎˜š๎˜œ
๎˜…๎˜“๎˜Œ๎˜”๎˜”๎˜•๎˜œ๎˜™๎˜“๎˜Ž๎˜˜๎˜œ
1
๎˜š๎˜œ
๎˜๎˜‰๎˜๎˜Š๎˜›๎˜๎˜‚๎˜œ ๎˜ƒ
๎˜—๎˜œ
๎˜๎˜‰๎˜‘๎˜Š๎˜›๎˜๎˜‚๎˜œ ๎˜„
๎˜—๎˜œ
๎˜๎˜‰๎˜๎˜Š๎˜›๎˜๎˜‚๎˜œ ๎˜‡
๎˜–๎˜œ
(
๎˜Š๎˜Ž
) ๎˜๎˜‡๎˜†๎˜Ž๎˜„๎˜Ž
๎˜๎˜Ž
๎˜Š๎˜Ž
) ๎˜๎˜‡๎˜†๎˜Ž๎˜„๎˜Ž
๎˜๎˜Ž
๎˜Š๎˜Ž
๎˜‚๎˜Ž
๎˜๎˜‡๎˜†๎˜Ž๎˜…๎˜Ž
๎˜๎˜…๎˜‚๎˜‹๎˜ƒ
๎˜ƒ
๎˜„
๎˜๎˜…๎˜‚๎˜Œ๎˜‡๎˜ƒ๎˜ˆ๎˜†
๎˜๎˜…๎˜‚๎˜๎˜‰๎˜ƒ๎˜ˆ๎˜Š
๎˜๎˜‰๎˜‚๎˜Ž ๎˜๎˜Œ๎˜‚๎˜Ž
๎˜๎˜Œ๎˜‚๎˜Ž
๎˜ˆ๎˜๎˜’๎˜”๎˜˜๎˜๎˜œ๎˜‹๎˜”๎˜“๎˜˜๎˜•๎˜”๎˜‘๎˜‘๎˜๎˜•๎˜œ
๎™Œ ๎˜ฐ๎˜ท๎™‚๎˜พ๎˜ป๎˜ฟ๎˜ณ๎˜ฝ๎™๎˜ฟ๎™‡๎˜พ๎˜ด๎˜ท๎™‚๎™„๎™๎™€๎˜ธ๎™๎™€๎™‡๎™…๎˜ถ๎™€๎™€๎™‚๎™๎˜ณ๎˜ฟ๎˜ถ๎™๎˜ป๎˜ฟ๎˜ถ๎™€๎™€๎™‚๎™๎™‡๎˜ฟ๎˜ป๎™…๎™„๎™๎˜พ๎™‡๎™„๎™…๎™๎˜ด๎˜ท๎™๎˜พ๎˜ณ๎™…๎˜ต๎˜บ๎˜ท๎˜ถ๎˜Ž
๎˜„๎˜…๎˜ฃ

Related product manuals