EasyManua.ls Logo

Daikin FTK60HVEC - Piping Diagrams; Outdoor Units

Daikin FTK60HVEC
410 pages
Print Icon
To Next Page IconTo Next Page
To Next Page IconTo Next Page
To Previous Page IconTo Previous Page
To Previous Page IconTo Previous Page
Loading...
Piping Diagrams Si18-201
360 Appendix
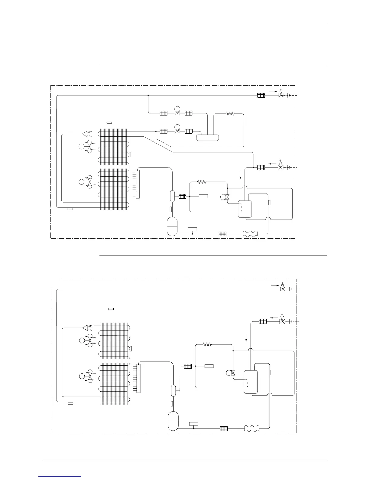
1. Piping Diagrams
1.1 Outdoor Units
RMK140JVMC9 (8) / RMK140JVMT9 / RMK140JZVMA
RMK140JAVM
THERMISTOR
LIQUID PIPE
OUTDOOR UNIT
MOTOR
DC FAN
DC FAN
MOTOR
DISTRIBUTOR
(
DEL
)
PROPELLER
PROPELLER
M
M
FAN
FAN
OUTDOOR TEMPARATURE
(
DOA
)
THERMISTOR
HEAT EXCHANGER
HEAT EXCHANGER
(
DE
)
THERMISTOR
DISCHARGE PIPE
COMPRESSOR
HEADER
THERMISTOR
OIL
SEPARATOR
FILTER
FILTER
(
DO
)
ELECTRONIC
EXPANSION VALVE
ELECTRONIC
EXPANSION VALVE
EV
G
EV
L
FILTER
LOW PRESSURE
FILTER
FILTER
CAPILLARY TUBE
SENSOR
SP
HIGH PRESSURE
RECEIVER
SWITCH
HPS
ELECTRONIC
EXPANSION VALVE
ACCUMULATOR
CAPILLARY TUBE
FILTER
EV
P
FLEXIBLE
TUBE
FILTER
FILTER
SUCTION PIPE
THERMISTOR
LIQUID LINE
STOP VALVE
GAS LINE
STOP VALVE
(
DS
)
(
9.5 CuT
)
PIPING
FIELD
PIPING
(
19.1CuT
)
FIELD
3D024921B
THERMISTOR
LIQUID PIPE
OUTDOOR UNIT
MOTOR
MOTOR
DC FAN
DC FAN
DISTRIBUTOR
(
DEL
)
PROPELLER
PROPELLER
M
M
FAN
FAN
OUTDOOR TEMPARATURE
(
DOA
)
THERMISTOR
HEAT EXCHANGER
HEAT EXCHANGER
(
DE
)
THERMISTOR
DISCHARGE PIPE
COMPRESSOR
HEADER
THERMISTOR
SEPARATOR
OIL
(
DO
)
FILTER
LOW PRESSURE
SENSOR
SP
CAPILLARY TUBE
HIGH PRESSURE
SWITCH
HPS
ELECTRONIC
EXPANSION VALVE
FILTER
ACCUMULATOR
EV
P
FLEXIBLE
TUBE
FILTER
SUCTION PIPE
STOP VALVE
LIQUID LINE
THERMISTOR
STOP VALVE
GAS LINE
(
DS
)
FIELD
FIELD
PIPING
(
9.5 CuT
)
(
19.1 CuT
)
PIPING
3D032153A

Table of Contents

Related product manuals