EasyManua.ls Logo

Daikin FTK60HVEC - Page 381

Daikin FTK60HVEC
410 pages
Print Icon
To Next Page IconTo Next Page
To Next Page IconTo Next Page
To Previous Page IconTo Previous Page
To Previous Page IconTo Previous Page
Loading...
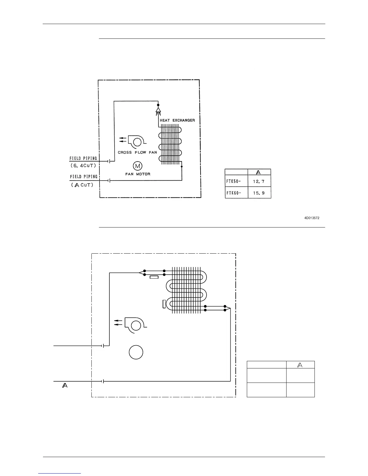
Piping Diagrams Si18-201
368 Appendix
FTK50 / 60HVEC, FTX50 / 60HVEC
FTXD25 / 35KZV1B
HEAT EXCHANGER
ON HEAT EXCH.
ON LIQUID PIPE
FAN MOTOR
CROSS FLOW FAN
INDOOR UNIT
FIELD PIPING
FIELD PIPING
4D029145
FTXD35KZV1B
FTKD25KZV1B
(
CuT
)
THERMISTOR
6.4CuT
6.4CuT
12.7
6.4CuT
FTKD35KZV1B
(
6.4CuT
)
M
7.9CuT
9.5
9.5CuT
7.0CuT
FTXD25KZV1B
THERMISTOR

Table of Contents

Related product manuals