EasyManua.ls Logo

Daikin FTKD60JVE - Part 9 Service Diagnosis

Daikin FTKD60JVE
410 pages
Print Icon
To Next Page IconTo Next Page
To Next Page IconTo Next Page
To Previous Page IconTo Previous Page
To Previous Page IconTo Previous Page
Loading...
Method of Field Set Si18-201
212 Operating Test
2. Method of Field Set
2.1 Field Setting
Wired Remote Controller
Notes: (Field setting must be made from the remote controller in accordance with the installation
conditions.)
"
Setting can be made by changing the Mode number, FIRST CODE NO., and SECOND
CODE NO..
"
Refer to the following procedures for Field setting.
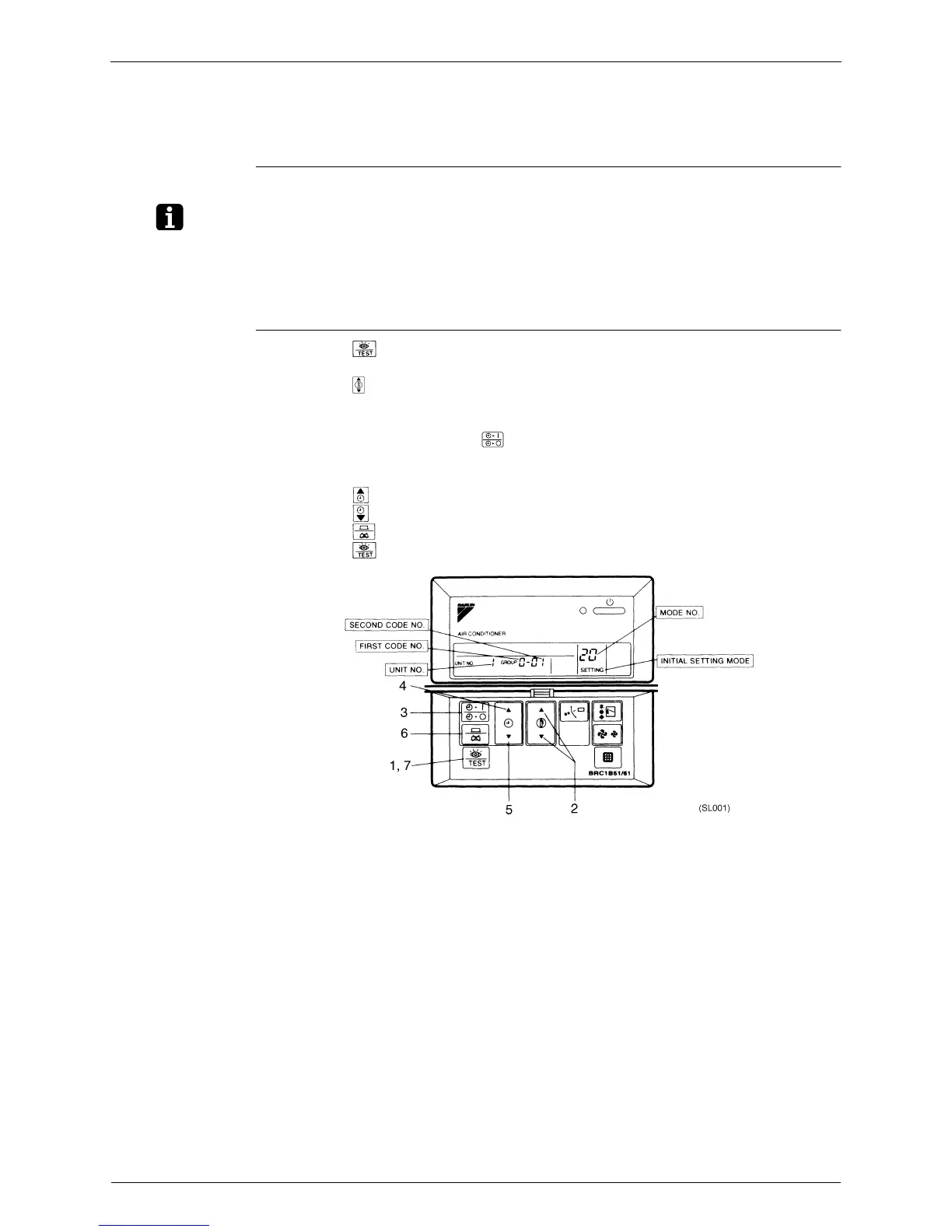
Procedure 1. Press the ““ button for 4 seconds or more on normal mode to change to FIELD
SETTING MODE
2. Press the ““ button and choose the desired MODE NO..
3. If the unit is under group control, it is unified set (factory set).However, if setting on each
indoor unit bases or confirming after the setting, use the MODE NO. in the ( ) for the setting.
Under group control, press the ““ button and select the indoor unit no. that you are
setting to set on each indoor unit bases.
(Unnecessary at unified setting of group control and the UNIT NO. is not displayed)
4. Press the ““ upper part of the button and select the FIRST CODE NO..
5. Press the ““ lower part of the button and select the SECOND CODE NO..
6. Press the ““ button once to FIX the change of the setting.
7. Press the ““ button for about one second and return to the NORMAL MODE

Table of Contents

Related product manuals