EasyManua.ls Logo

Daikin FTKD60JVE - Page 379

Daikin FTKD60JVE
410 pages
Print Icon
To Next Page IconTo Next Page
To Next Page IconTo Next Page
To Previous Page IconTo Previous Page
To Previous Page IconTo Previous Page
Loading...
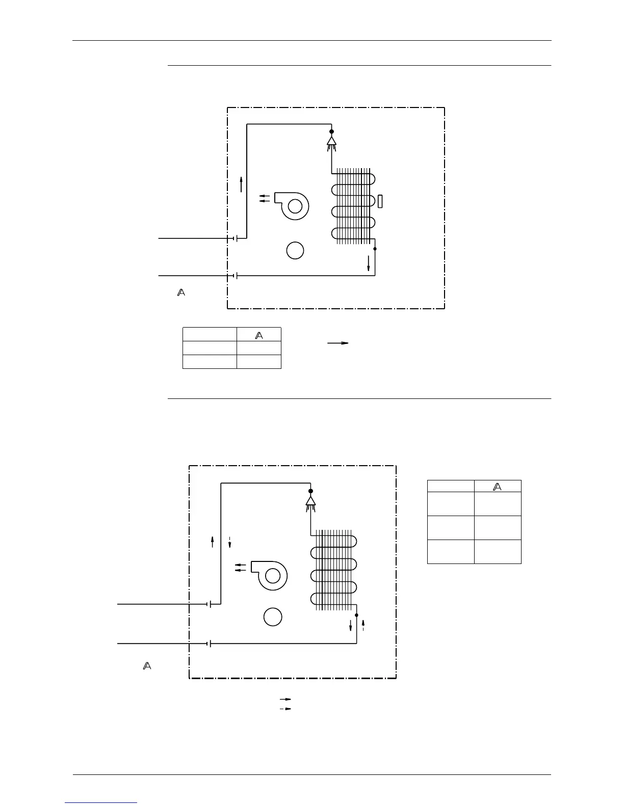
Piping Diagrams Si18-201
366 Appendix
FLK50 / 60JVEA (9)
FLX25 / 35HVEA , FLX25 / 35 / 50 / 60HVEC, FLX25 / 35 / 50 / 60HVET,
FLX25 / 35HV1NB
REFRIGERANT FLOW
FAN MOTOR
ON HEAT EXCH.
HEAT EXCHANGER
SIROCCO FAN
FIELD PIPING
FIELD PIPING
INDOOR UNIT
4D024818A
FLK50-
15.9
THERMISTOR
(
CuT
)
FLK60-
12.7
(
6.4CuT
)
COOLING
M
FIELD PIPING
FIELD PIPING
(
CuT
)
(
6.4CuT
)
INDOOR UNIT
SIROCCO FAN
FAN MOTOR
REFRIGERANT FLOW
M
COOLING
HEATING
HEAT EXCHANGER
FLX35
,
50-
FLX60-
FLX25-
12.7
15.9
9.5
4D024775

Table of Contents