EasyManua.ls Logo

Daikin FTXS20D3VMW - Outdoor Units

Daikin FTXS20D3VMW
355 pages
Print Icon
To Next Page IconTo Next Page
To Next Page IconTo Next Page
To Previous Page IconTo Previous Page
To Previous Page IconTo Previous Page
Loading...
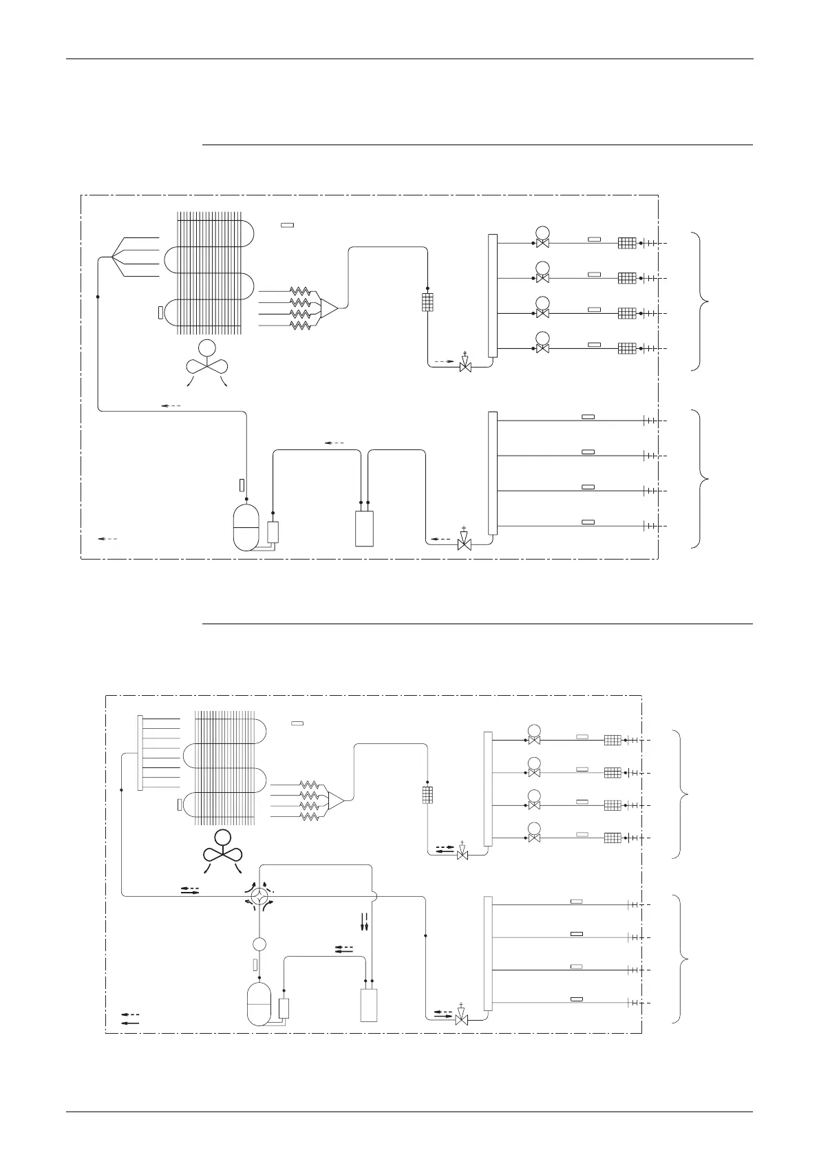
Piping Diagrams SiENBE12-713
330 Appendix
1.2 Outdoor Units
1.2.1 Cooling Only
4MKS75F2V1B
1.2.2 Heat Pump
4MXS68F2V1B
REFRIGERANT FLOW
9.5CuT
OUTDOOR UNIT
COOLING
7.9CuT
PROPELLER FAN
DC FAN MOTOR
HEAT EXCHANGER
COMPRESSOR
M
CAPILLARY TUBE
ACCUMULATOR
12.7CuT
DISTRIBUTOR
ACCUMULATOR
9.5CuT
12.7CuT
FILTER
HEADER
HEADER
MOTOR OPERATED VALVE
MOTOR OPERATED VALVE
MOTOR OPERATED VALVE
MOTOR OPERATED VALVE
6.4CuT
6.4CuT
6.4CuT
6.4CuT
12.7CuT
12.7CuT
12.7CuT
12.7CuT
EV
EV
EV
EV
GAS PIPE THERMISTOR
(
DGD
)
GAS PIPE THERMISTOR
(
DGC
)
GAS PIPE THERMISTOR
(
DGB
)
GAS PIPE THERMISTOR
(
DGA
)
B
C
D
A
FILTER
FILTER
FILTER
FILTER
DISCHARGE PIPE
THERMISTOR
(
DO
)
HEAT EXCHANGER
THERMISTOR
(
DE
)
OUTDOOR TEMPARATURE
THERMISTOR
(
DOA
)
GAS LINE
STOP VALVE
LIQUID LINE
STOP VALVE
ROOM A
(
6.4 CuT
)
ROOM B
(
6.4 CuT
)
ROOM C
(
6.4 CuT
)
ROOM D
(
6.4 CuT
)
ROOM A
(
9.5 CuT
)
ROOM B
(
9.5 CuT
)
ROOM C
(
9.5 CuT
)
ROOM D
(
9.5 CuT
)
LIQUID PIPE
THERMISTOR
(
DLA
)
LIQUID PIPE
THERMISTOR
(
DLB
)
LIQUID PIPE
THERMISTOR
(
DLC
)
LIQUID PIPE
THERMISTOR
(
DLD
)
FIELD
PIPING
LIQUID
FIELD
PIPING
GAS
3D034513H
EV
A
EV
B
COOLING
12.7CuT
HEAT EXCHANGER
M
FILTER
9.5CuT
HEADER
HEATING
12.7CuT
FILTER
HEADER
6.4CuT
12.7CuT
FILTER
OUTDOOR UNIT
12.7CuT
DC FAN MOTOR
12.7CuT
GAS PIPE THERMISTOR(DGA)
GAS PIPE THERMISTOR(DGB)
HEADER
12.7CuT
MUFFLER
12.7CuT
PROPELLER FAN
ACCUMULATOR
GAS PIPE THERMISTOR(DGC)
FILTER
MOTOR OPERATED VALVE
12.7CuT
COMPRESSOR
CAPILLARY TUBE
FILTER
6.4CuT
12.7CuT
DISTRIBUTOR
GAS PIPE THERMISTOR(DGD)
REFRIGERANT FLOW
6.4CuT
ACCUMULATOR
6.4CuT
7.9CuT
EV
C
EV
D
MOTOR OPERATED VALVE
MOTOR OPERATED VALVE
MOTOR OPERATED VALVE
REVERSING
SOLENOID
VALVE
3D055041
DISCHARGE PIPE
DISCHARGE PIPE
THERMISTOR
THERMISTOR
(
DO
DO
)
HEAT EXCHANGER
HEAT EXCHANGER
THERMISTOR
THERMISTOR
(
DE
DE
)
OUTDOOR TEMPARATURE
THERMISTOR
(
DOA
)
GAS LINE
GAS LINE
STOP VALVE
STOP VALVE
LIQUID LINE
STOP VALVE
ROOM A
ROOM A
(
6.4 CuT
6.4 CuT
)
ROOM B
ROOM B
(
6.4 CuT
6.4 CuT
)
ROOM C
ROOM C
(
6.4 CuT
6.4 CuT
)
ROOM D
ROOM D
(
6.4 CuT
6.4 CuT
)
ROOM A
(
9.5 CuT
)
ROOM B
(
9.5 CuT
)
ROOM C
(
12.7 CuT
)
ROOM D
(
12.7 CuT
)
LIQUID PIPE
LIQUID PIPE
THERMISTOR
THERMISTOR
(
DLA
DLA
)
LIQUID PIPE
LIQUID PIPE
THERMISTOR
THERMISTOR
(
DLB
DLB
)
LIQUID PIPE
LIQUID PIPE
THERMISTOR
THERMISTOR
(
DLC
DLC
)
LIQUID PIPE
LIQUID PIPE
THERMISTOR
THERMISTOR
(
DLD
DLD
)
FIELD
FIELD
PIPING
PIPING
LIQUID
LIQUID
FIELD
PIPING
GAS

Table of Contents

Other manuals for Daikin FTXS20D3VMW

Related product manuals