EasyManua.ls Logo

Daikin FTXS35DVMW9 - Page 219

Daikin FTXS35DVMW9
228 pages
Print Icon
To Next Page IconTo Next Page
To Next Page IconTo Next Page
To Previous Page IconTo Previous Page
To Previous Page IconTo Previous Page
Loading...
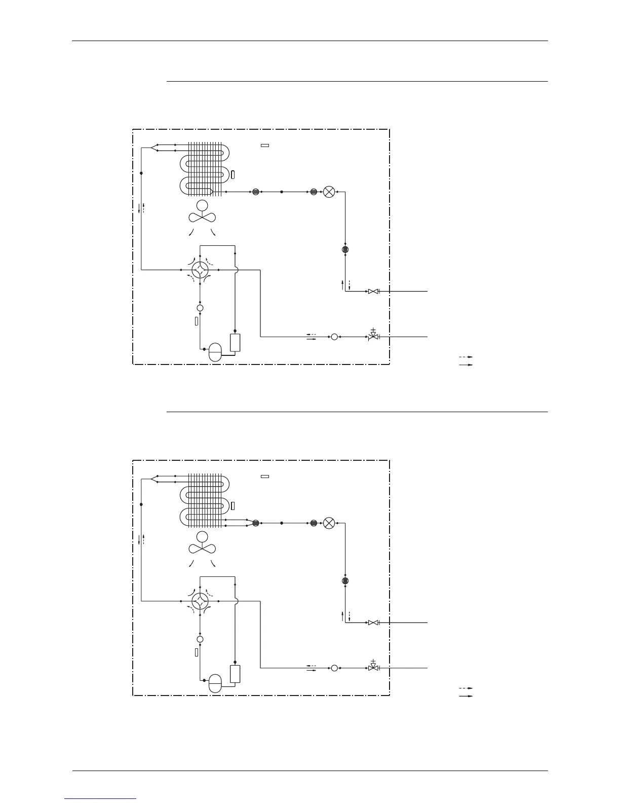
Piping Diagrams SiENBE04-507A
210 Appendix
1.2.2 Heat Pump
RXS20/25DVMB, RXS20/25D2VMB, RXS20/25D3VMB
RXS35DVMB, RXS35D2VMB, RXS35D3VMB
M
9.5CuT
3D047315A
OUTDOOR UNIT
OUTDOOR TEMPERATURE
THERMISTOR
HEAT EXCHANGER
THERMISTOR
MUFFLER
WITH
FILTER
MUFFLER
MOTOR OPERATED
VALVE
LIQUID STOP
VALVE
FIELD PIPING
6.4CuT
FOUR WAY
VALVE
ON : HEATING
COMPRESSOR
ACCUMULATOR
MUFFLER
FIELD PIPING
9.5CuT
GAS STOP
VALVE
DISCHARGE PIPE
THERMISTOR
HEAT EXCHANGER
PROPELLER FAN
REFRIGERANT FLOW
COOLING
HEATING
φ
. 4.0
×
ID. 2.0CuT
9.5CuT
9.5CuT
9.5CuT
9.5CuT 9.5CuT
6.4CuT
6.4CuT
7.0CuT
9.5CuT
7.9CuT
6.4CuT
7.0CuT
7.0CuT
7.9CuT
MUFFLER
WITH
FILTER
MUFFLER
WITH
FILTER
M
OUTDOOR UNIT
OUTDOOR TEMPERATURE
THERMISTOR
HEAT EXCHANGER
THERMISTOR
MUFFLER
WITH
FILTER
MUFFLER
WITH
FILTER
MUFFLER
MOTOR OPERATED
VALVE
MUFFLER
WITH
FILTER
LIQUID STOP
VALVE
FIELD PIPING
(6.4CuT)
FOUR WAY
VALVE
ON : HEATING
COMPRESSOR
ACCUMULATOR
MUFFLER
FIELD PIPING
(9.5CuT)
GAS STOP
VALVE
DISCHARGE PIPE
THERMISTOR
HEAT EXCHANGER
PROPELLER FAN
φ
. 4.0
×
ID. 2.0CuT
9.5CuT
9.5CuT
9.5CuT
9.5CuT
9.5CuT
6.4CuT
6.4CuT
4.8CuT
9.5CuT
7.9CuT
6.4CuT
7.0CuT
7.0CuT
7.9CuT
4.8CuT
REFRIGERANT FLOW
COOLING
HEATING
3D047316A

Table of Contents

Related product manuals