EasyManua.ls Logo

Daikin FTXS35DVMW9 - Outdoor Units

Daikin FTXS35DVMW9
228 pages
Print Icon
To Next Page IconTo Next Page
To Next Page IconTo Next Page
To Previous Page IconTo Previous Page
To Previous Page IconTo Previous Page
Loading...
SiENBE04-507A Piping Diagrams
Appendix 209
1.2 Outdoor Units
1.2.1 Cooling Only
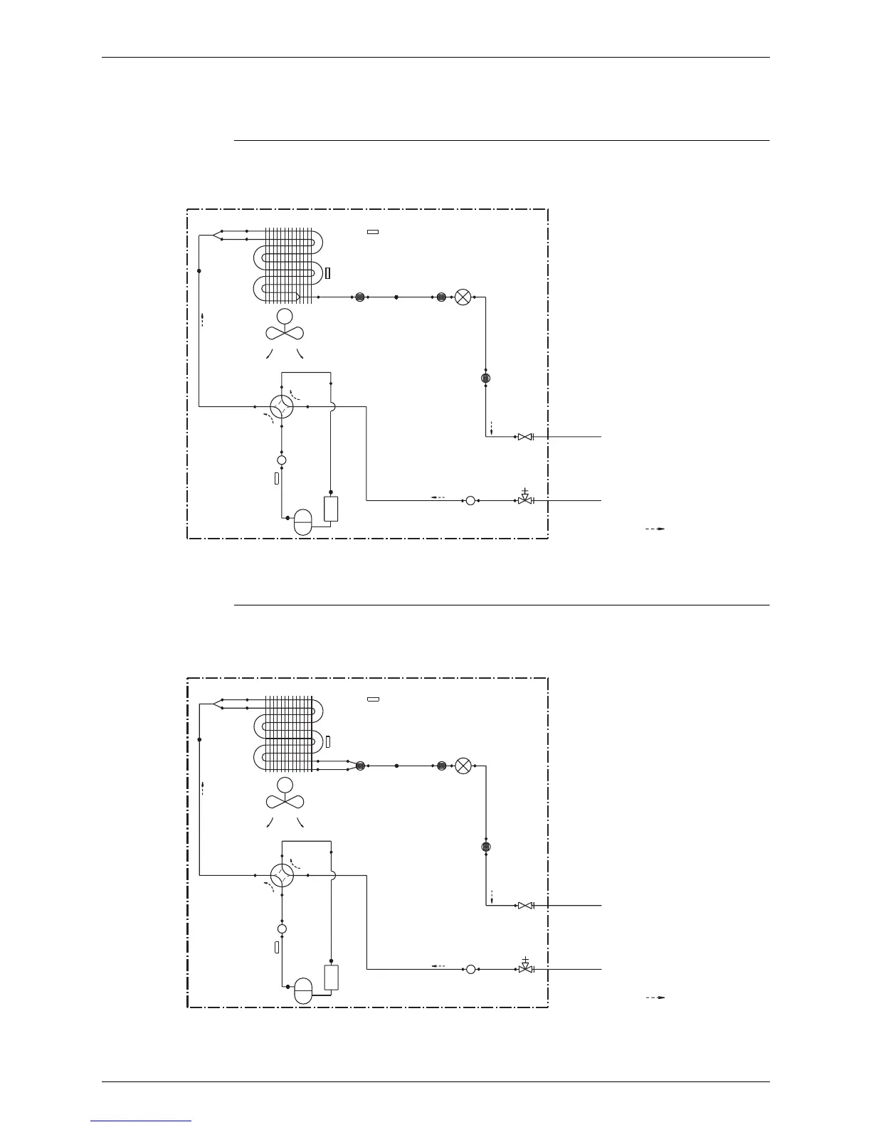
RKS20/25DVMB, RKS20/25D2VMB, RKS20/25D3VMB
RKS35DVMB, RKS35D2VMB, RKS35D3VMB
M
HEAT EXCHANGER
DISCHARGE PIPE
THERMISTOR
MUFFLER
FOUR WAY
VALVE
NORMALLY OFF
COMPRESSOR
ACCUMULATOR
MUFFLER
LIQUID STOP
VALVE
GAS STOP
VALVE
FIELD PIPING
(6.4CuT)
FIELD PIPING
(9.5CuT)
REFRIGERANT FLOW
COOLING
MUFFLER
WITH
FILTER
MUFFLER
WITH
FILTER
MUFFLER
WITH
FILTER
OUTDOOR UNIT
OUTDOOR TEMPERATURE
THERMISTOR
HEAT EXCHANGER
MOTOR OPERATED
VALVE
HEAT EXCHANGER
THERMISTOR
PROPELLER FAN
9.5CuT
7.0CuT
6.4CuT
6.4CuT
7.0CuT
7.0CuT
9.5CuT 9.5CuT
9.5CuT
9.5CuT
7.9CuT
9.5CuT
7.9CuT
6.4CuT
φ
. 4.0
×
ID. 2.0CuT
3D047317A
M
4.8CuT
OUTDOOR UNIT
OUTDOOR TEMPERATURE
THERMISTOR
HEAT EXCHANGER
HEAT EXCHANGER
THERMISTOR
9.5CuT
9.5CuT
9.5CuT
9.5CuT
9.5CuT
9.5CuT
7.0CuT
7.0CuT
7.9CuT
7.9CuT
PROPELLER FAN
FOUR WAY
VALVE
NORMALLY : OFF
COMPRESSOR
ACCUMULATOR
MUFFLER
WITH
FILTER
MUFFLER
MUFFLER
φ
. 4.0
×
ID. 2.0CuT
6.4CuT
GAS STOP
VALVE
FIELD PIPING
(
6.4CuT
)
FIELD PIPING
(
9.5CuT
)
LIQUID STOP
VALVE
DISCHARGE PIPE
THERMISTOR
MOTOR OPERATED
VALVE
4.8CuT
4.8CuT
6.4CuT
6.4CuT
MUFFLER
WITH
FILTER
MUFFLER
WITH
FILTER
REFRIGERANT FLOW
COOLING
3D047318A

Table of Contents

Related product manuals