EasyManua.ls Logo

Daikin RKD60BVM - Page 128

Daikin RKD60BVM
210 pages
Print Icon
To Next Page IconTo Next Page
To Next Page IconTo Next Page
To Previous Page IconTo Previous Page
To Previous Page IconTo Previous Page
Loading...
Si04-306 Troubleshooting
Service Diagnosis 119
Troubleshooting
Check No.7
Refer to P.129
Check No.8
Refer to P.130
Check No.13
Refer to P.132
Fully open the stop valve.
Keep on using as it is
(monitor).
Check the electricals'
connectors and other
fittings.
Inverter checker
Part No.: 1225477
Correct the power supply or
replace the SPM.
(Replace the outdoor unit
PCB.)
Replace the SPM.
(Replace the outdoor unit
PCB.)
Correct the power supply.
Replace the compressor.
(R2852)
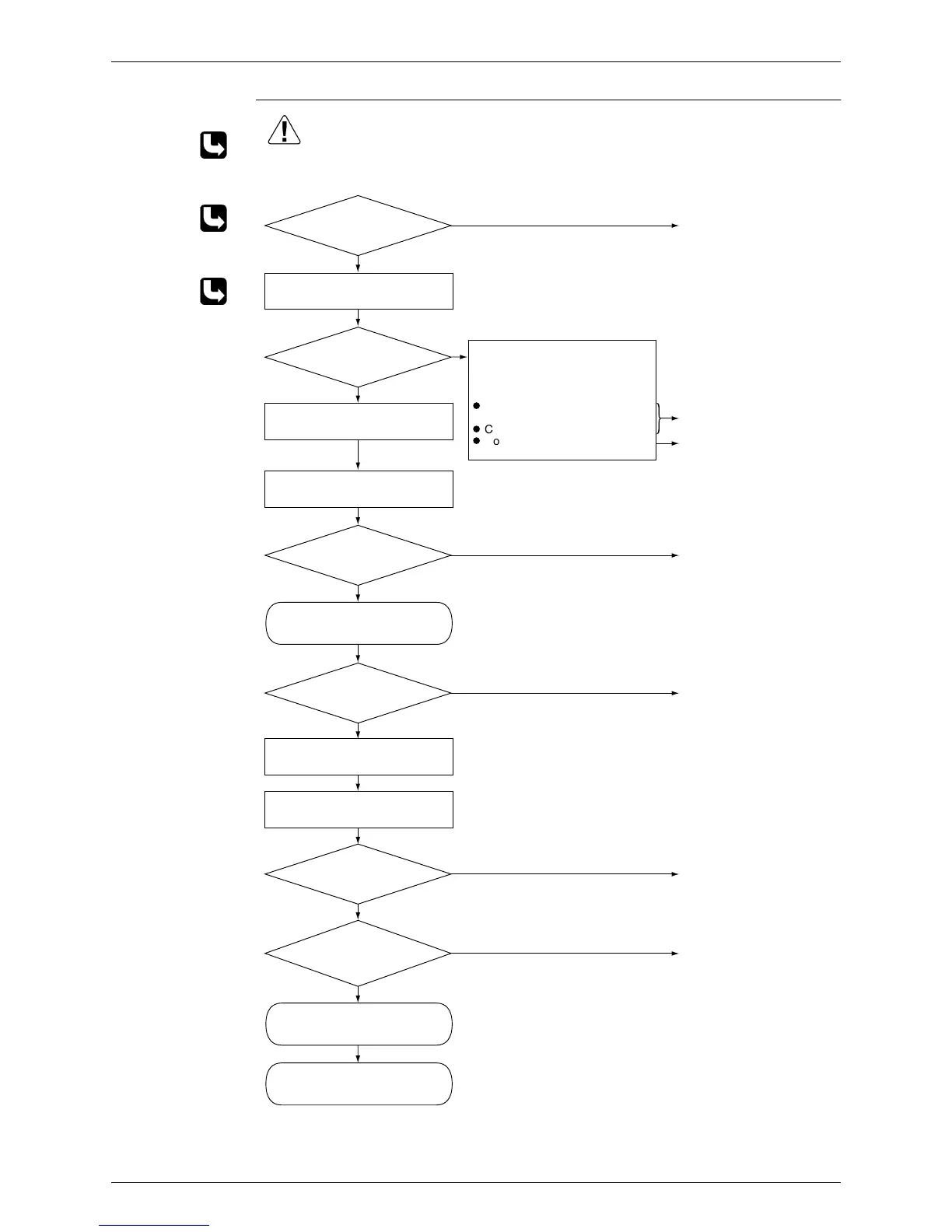
Caution
Be sure to turn off power switch before connect or disconnect connector,
or parts damage may be occurred.
Stop valve fully open?
NO
YES
An output over-current may result from wrong internal wiring. If the wires have been disconnected and
reconnected for part replacement, for example, and the system is interrupted by an output over-current,
take the following procedure.
Error again?
NO
YES
NO
YES
Voltage as rated?
YES
NO
Short-circuit
or breakage between
compressor's coil
phases?
NO
YES
Normal?
YES
NO
Any LED off?
Turn off the power and turn it on
again to get the system started.
See if the same error occurs.
Turn off the power and disconnect
the harnesses U, V and W.
Monitor the supply voltage,
discharge and suction pressures,
and other factors for a long term.
Possible causes
l
Instantaneous supply voltage
drop
l
Compressor motor overloaded
l
Contact-induced electrical short-
circuit
Check with the inverter checker ().
Turn off the power, and reconnect
the harnesses. Turn on the power
again and get restarted.
Check the supply voltage.
Check No. 13
Check the power transistor.
Check No. 8
Check the discharge pressure.
Check No. 7
Check the installation condition.

Table of Contents

Other manuals for Daikin RKD60BVM

Related product manuals