EasyManua.ls Logo

Daikin RXR28EV1B - Refrigerant Piping

Daikin RXR28EV1B
13 pages
Print Icon
To Next Page IconTo Next Page
To Next Page IconTo Next Page
To Previous Page IconTo Previous Page
To Previous Page IconTo Previous Page
Loading...
5 English
Outdoor Unit Installation
3.
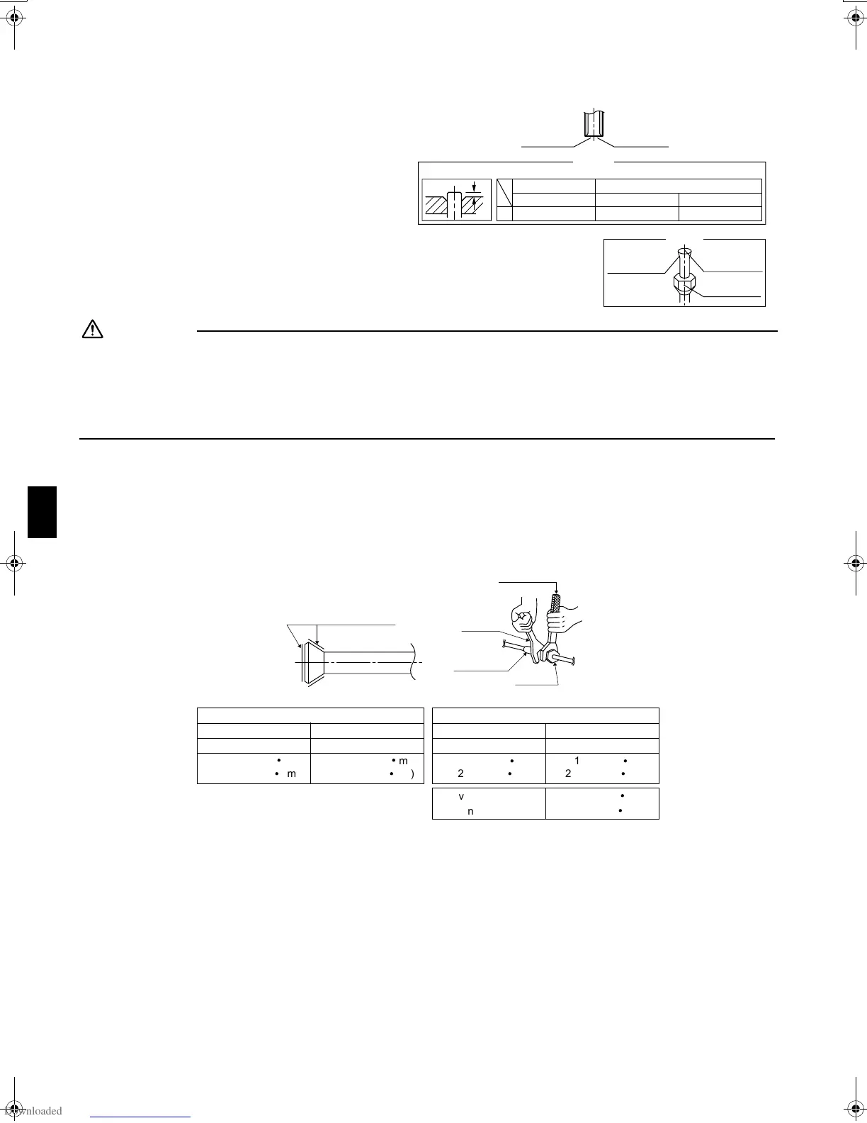
Flaring the pipe end.
1) Cut the pipe end with a pipe cutter.
2) Remove burrs with the cut surface facing
downward so that the chips do not enter the pipe.
3) Put the flare nut on the pipe.
4) Flare the pipe.
5) Check that the flaring is properly made.
WARNING
1) Do not use mineral oil on flared part.
2) Prevent mineral oil from getting into the system as this would reduce the lifetime of the units.
3) Never use piping which has been used for previous installations. Only use parts which are delivered with the unit.
4) Do never install a drier to this R410A unit in order to guarantee its lifetime.
5) The drying material may dissolve and damage the system.
6) Incomplete flaring may cause refrigerant gas leakage.
4.
Refrigerant piping.
1) Align the centres of both flares and tighten the flare nuts 3 or 4 turns by hand. Then tighten them fully with the torque
wrenches.
Use torque wrenches when tightening the flare nuts to prevent damage to the flare nuts and escaping gas.
2) To prevent gas leakage, apply refrigeration machine oil on both inner and outer surfaces of the flare. (Use refrigeration oil
for R410A.)
(Cut exactly at
right angles.) Remove burrs
Set exactly at the position shown below.
A
Flaring
Die
Check
Flare’s inner
surface must
be flaw-free.
The pipe end must
be evenly flared in
a perfect circle.
Make sure that the
flare nut is fitted.
A 0-0.5mm
Clutch-type
Flare tool for R410A
1.0-1.5mm
Clutch-type (Rigid-type)
1.5-2.0mm
Wing-nut type (Imperial-type)
Conventional flare tool
Coat here with refrigeration oil
Torque wrench
Piping union
Flare nut
Spanner
Flare nut tightening torque
Gas side Liquid side
3/8 inch 1/4 inch
32.7-39.9N
l
m 14.2-17.2N
l
m
(333-407kgf
l
cm) (144-175kgf
l
cm)
Valve cap tightening torque
Gas side Liquid side
3/8 inch 1/4 inch
21.6-27.4N
l
m 21.6-27.4N
l
m
(220-280kgf
l
cm) (220-280kgf
l
cm)
Service port cap 10.8-14.7N
l
m
tightening torque (110-150kgf
l
cm)
01_EN_3P177302-2.fm Page 5 Thursday, May 25, 2006 6:21 PM

Related product manuals