EasyManua.ls Logo

Daikin Super Multi NX FDKS60CVMB

Daikin Super Multi NX FDKS60CVMB
501 pages
To Next Page IconTo Next Page
To Next Page IconTo Next Page
To Previous Page IconTo Previous Page
To Previous Page IconTo Previous Page
Loading...
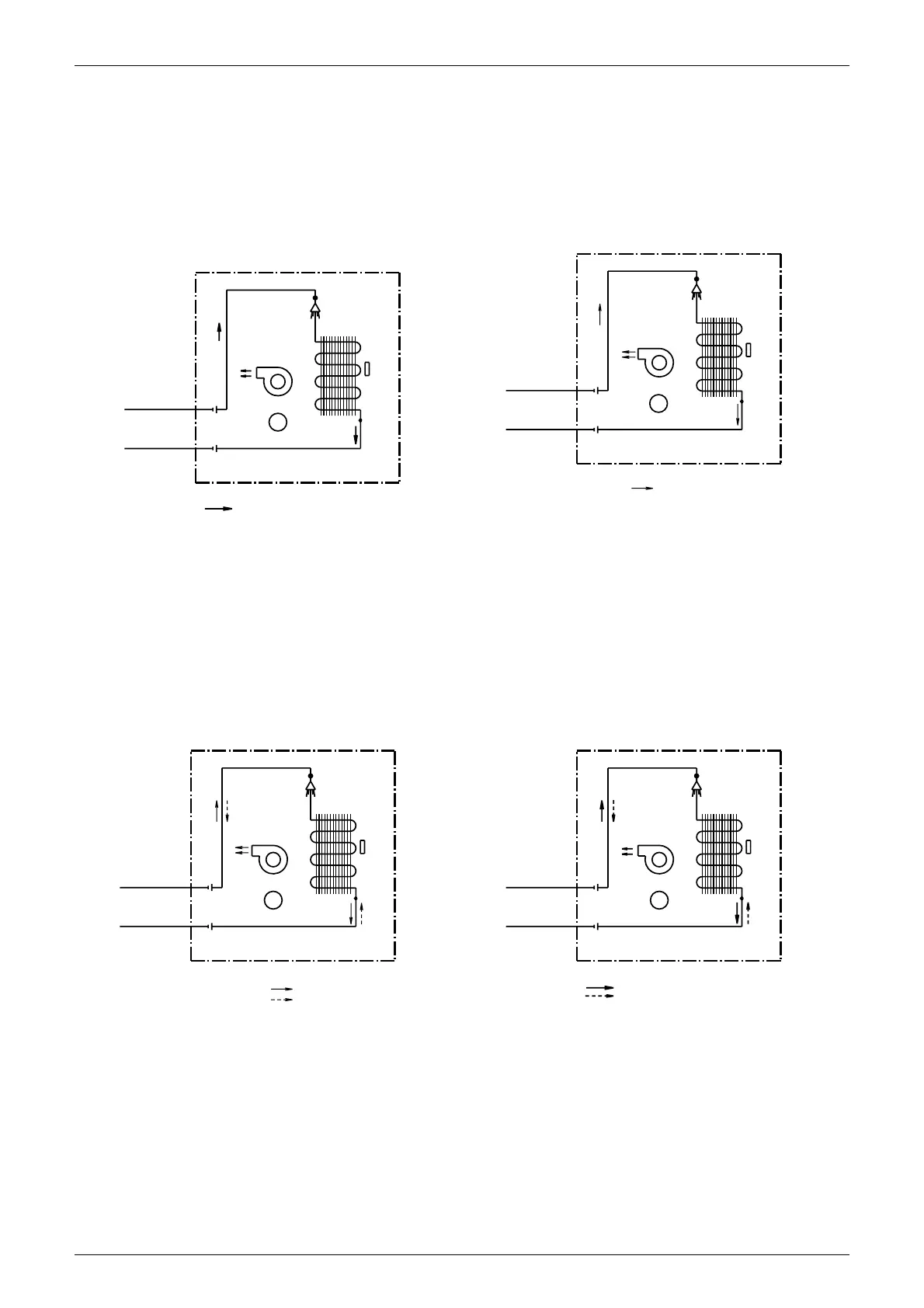
Piping Diagrams SiBE121021_C
466 Appendix
1.1.3 Floor / Ceiling Suspended Dual Type
FLKS25/35BAVMB FLKS50/60BAVMB
FLXS25/35BAVMB FLXS50/60BAVMB
(
9.5CuT
)
(
6.4CuT
)
(
6.4CuT
)
(
9.5CuT
)
THERMISTOR
ON HEAT
EXCH.
INDOOR UNIT
HEAT EXCHANGER
SIROCCO FAN
FAN MOTOR
M
FIELD PIPING
FIELD PIPING
REFRIGERANT FLOW
COOLING
4D034012E
(
9.5CuT
)
(
12.7CuT
)
THERMISTOR
ON HEAT
EXCH.
FIELD PIPING
(
6.4CuT
)
FIELD PIPING
(
12.7CuT
)
SIROCCO FAN
M
FAN MOTOR
REFRIGERANT FLOW
COOLING
HEAT EXCHANGER
4D048723A
INDOOR UNIT
(
6.4CuT
)
(
9.5CuT
)
THERMISTOR
ON HEAT
EXCH.
FIELD PIPING
(
6.4CuT
)
FIELD PIPING
(
9.5CuT
)
HEAT EXCHANGER
SIROCCO FAN
M
FAN MOTOR
REFRIGERANT FLOW
COOLING
HEATING
4D048722B
INDOOR UNIT
(
9.5CuT
)
(
12.7CuT
)
THERMISTOR
ON HEAT
EXCH.
FIELD PIPING
(
6.4CuT
)
FIELD PIPING
(
12.7CuT
)
INDOOR UNIT
HEAT EXCHANGER
SIROCCO FAN
FAN MOTOR
REFRIGERANT FLOW
COOLING
HEATING
M
4D048724B

Table of Contents

Related product manuals