EasyManua.ls Logo

DAISHIN SRM180K - Page 28

DAISHIN SRM180K
36 pages
Print Icon
To Next Page IconTo Next Page
To Next Page IconTo Next Page
To Previous Page IconTo Previous Page
To Previous Page IconTo Previous Page
Loading...
DAISHIN SRM180K Page 30
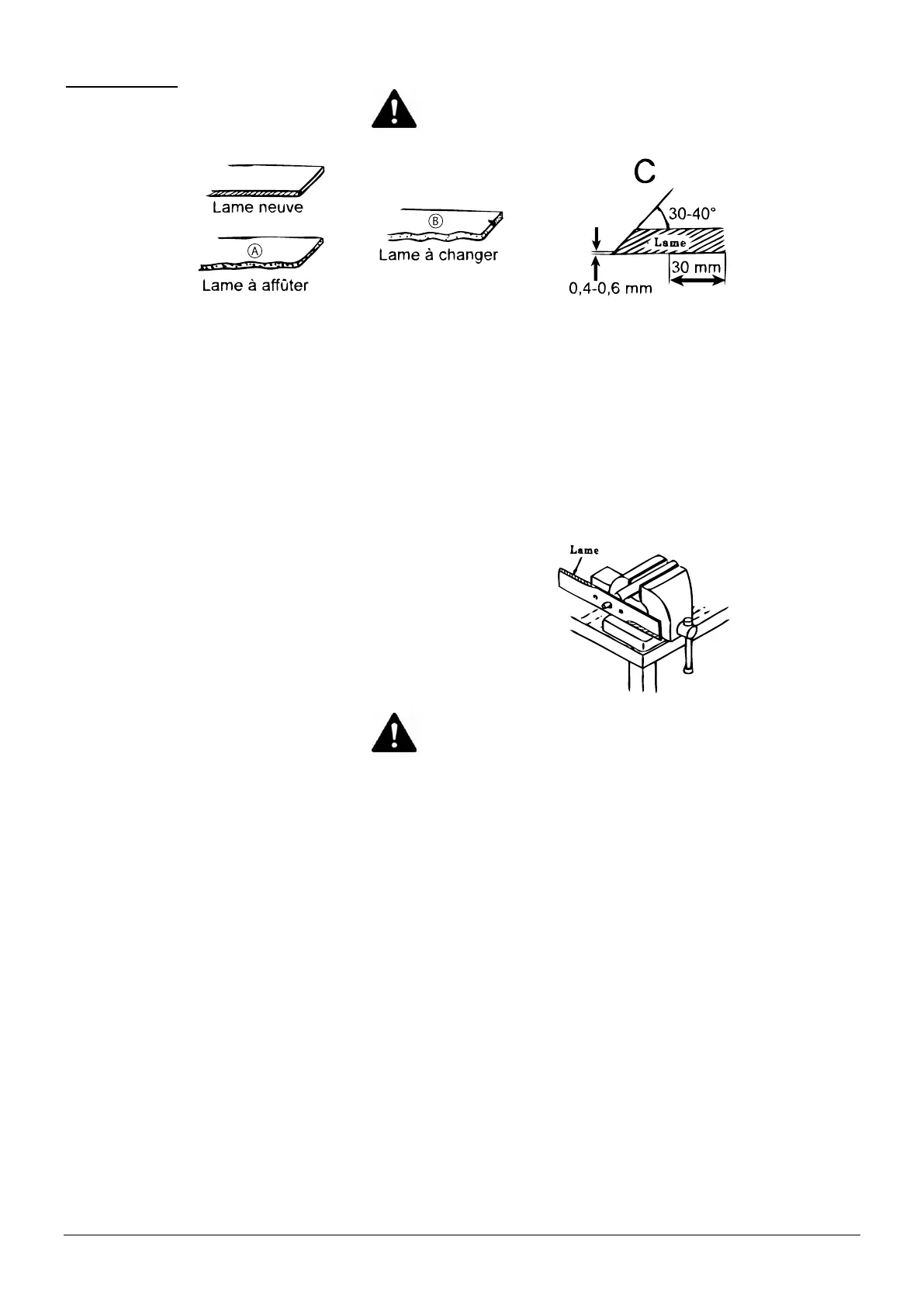
Etat de la lame :
ATTENTION
Les lames sont coupantes ! Portez toujours des gants lorsque vous manipulez les lames.
Figure 5
Afin d’avoir une coupe la plus nette possible, la lame doit toujours être affûtée. Une coupe irrégulière indique
une lame émoussée.
Si votre lame à l’aspect de celle schématisée sur la figure 5, repère A, affûtez-la.
Si votre lame a l’aspect de la lame schématisée sur la figure 5, repère B, changez-la.
Maintenez lors de l’affûtage, l’angle d’affûtage de la lame qui dans le cas présent doit être compris entre 30 et
40 degrés (figure 5, repère C).
Maintenez un rebord de coupe compris entre 0,4 à 0,6 mm (figure 5, repère C). Un rebord de coupe plus fin
s’émoussera et se cassera plus facilement.
La largeur de la lame pouvant être aiguisée doit être de 30 mm minimum. Changez la lame si vous atteignez
cette limite.
Vérifiez ensuite l’équilibrage de la lame comme suit :
Passez un axe dans le trou central de la lame (figure 6).
Si la lame penche d’un côté ou d’un autre, elle est
déséquilibrée. Meulez alors le côté de la lame le plus lourd,
c’est à dire le se trouvant en bas. Recontrôlez ensuite
l’équilibrage et procédez de nouveau au meulage du côté le
plus lourd si la lame est déséquilibrée.
ATTENTION
Utilisez toujours des lames DAISHIN, les pièces adaptables ne sont pas au niveau de qualité
requis. Elles vont s’user rapidement et peuvent être dangereuses.
Figure 6