EasyManua.ls Logo

DAITEM SC100AX - 6 Een Schootplaat Besturen; Tijdens Een Communicatie

DAITEM SC100AX
Print Icon
To Next Page IconTo Next Page
To Next Page IconTo Next Page
To Previous Page IconTo Previous Page
To Previous Page IconTo Previous Page
Loading...
NL
82
C
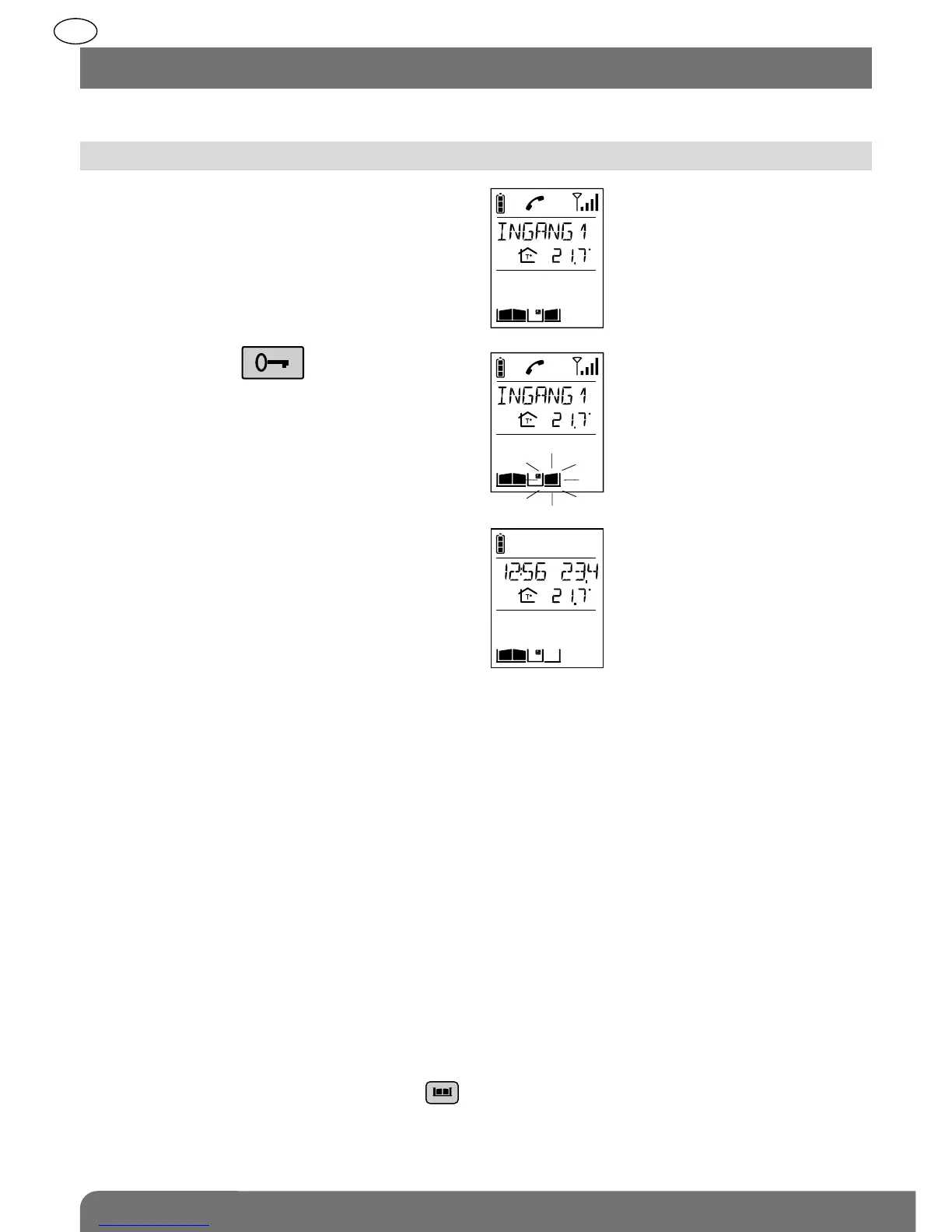
1. Druk op de toets (1).
C
2. De schootplaat van de toegang waar er
gebeld werd, wordt binnen de 5 seconden
ontgrendeld.
Op het einde van de communicatie zal het
symbool van de status van de schootplaat
geactualiseerd worden (indien een
positiecontact werd aangesloten).
C
De installatie beschikt over een schootplaat of over een schootplaat en een poort.
U bent bijvoorbeeld in gesprek met ingang 1.
6. Een schootplaat besturen
6.1. Tijdens een communicatie
(1) De schootplaat kan bestuurd worden via de toets (zie: menu HOORN/REGELEN/OPEN TOETS).

Table of Contents

Related product manuals