EasyManua.ls Logo

DAITEM SC900AX - 7 Een Poort Besturen; Tijdens Een Communicatie

DAITEM SC900AX
Print Icon
To Next Page IconTo Next Page
To Next Page IconTo Next Page
To Previous Page IconTo Previous Page
To Previous Page IconTo Previous Page
Loading...
NL
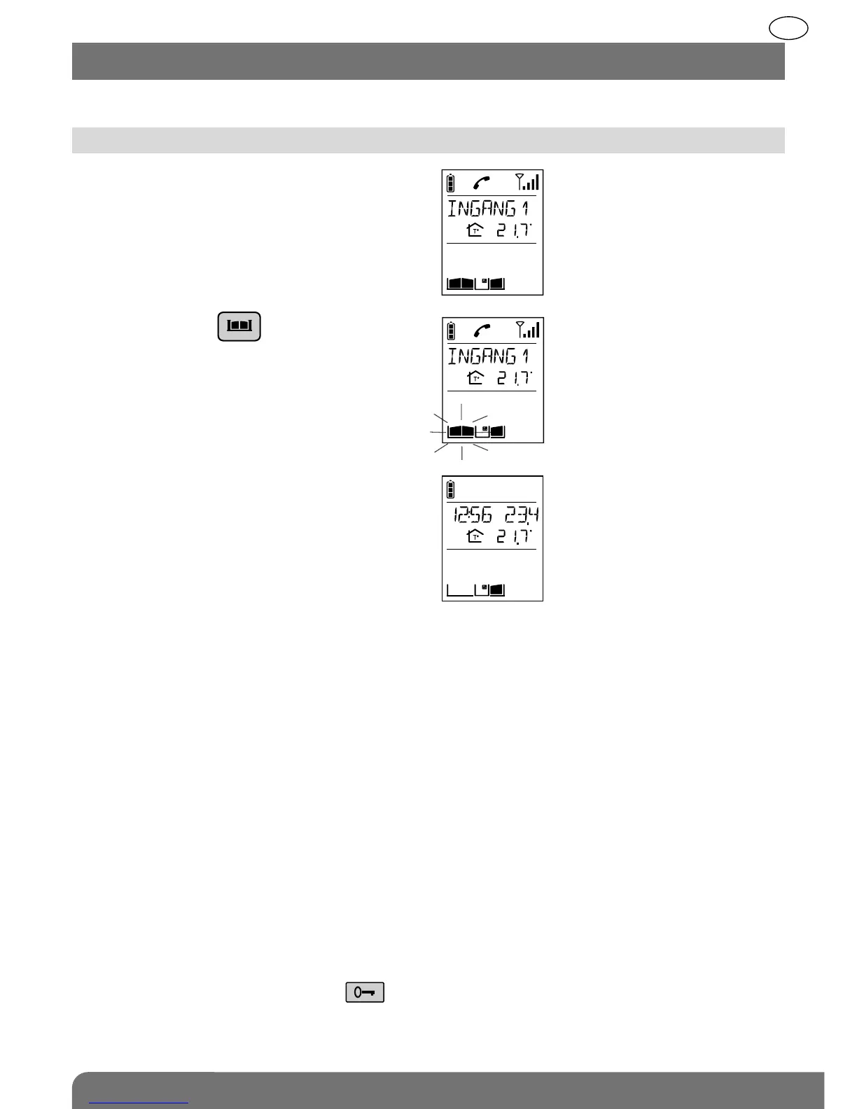
U bent bijvoorbeeld in gesprek met ingang 1.
C
1. Druk op de toets (1)
C
2. De poort van de toegang waar er gebeld
werd, treedt binnen de 5 seconden in
werking.
Op het einde van de communicatie zal het
symbool van de status van de poort
geactualiseerd worden (indien een
positiecontact werd aangesloten).
C
De installatie beschikt over een poort en een schootplaat.
7.1. Tijdens een communicatie
7. Een poort besturen
(1) De poort kan bestuurd worden via de toets (zie: menu HOORN/REGELEN/OPEN TOETS).
85

Table of Contents

Related product manuals