EasyManua.ls Logo

DALEMANS DAT 420 - Page 16

Default Icon
20 pages
Print Icon
To Next Page IconTo Next Page
To Next Page IconTo Next Page
To Previous Page IconTo Previous Page
To Previous Page IconTo Previous Page
Loading...
www.dalemans.com
| 16
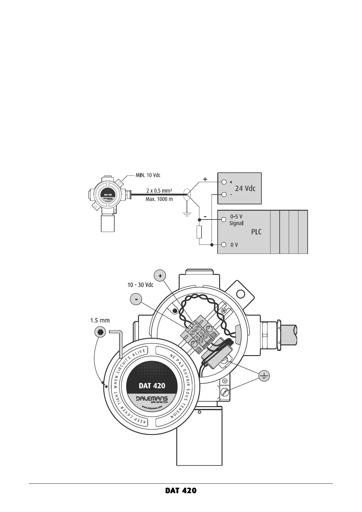
Connection to a PLC
To connect the DAT 420 gas detector to a PLC:
Loosen the locking screw of the junction box cover using the 1.5 mm hex key and completely
turn the cover counterclockwise to unscrew it.
Loosen the cable gland cap nut, insert the cable into the cable gland and tighten.
Connect the wires to the 2-position terminal block according to the diagram below.
The cable wires must be stripped and plugged so that the gap between the wire insulation
and the metal edge of the terminal connection does not exceed 1 mm distance.
Equipotential bonding may be provided using either the internal or the external connection.
For the external connection, the bonding conductor should be at least 4 mm².
Screw the cover back onto the junction box and hand tighten ¼ turn.
Put the locking screw of the cover back in place and tighten with the 1.5 mm hex key.
The cable shielding or screening must be grounded at the PLC.
Connect a shunt resistor across the PLC input. Choose the resistor value according to the
PLC input scale (see above). The resistor must have a power rating of at least 1 Watt.
Figure 9: connection to a PLC
R
Shunt
(min. 1 W)
Stabilised
power supply
Connections for
equipotential bonding

Other manuals for DALEMANS DAT 420