EasyManua.ls Logo

Danby DDR45A3GDB - Consignes Dutilisation

Danby DDR45A3GDB
40 pages
Print Icon
To Next Page IconTo Next Page
To Next Page IconTo Next Page
To Previous Page IconTo Previous Page
To Previous Page IconTo Previous Page
Loading...
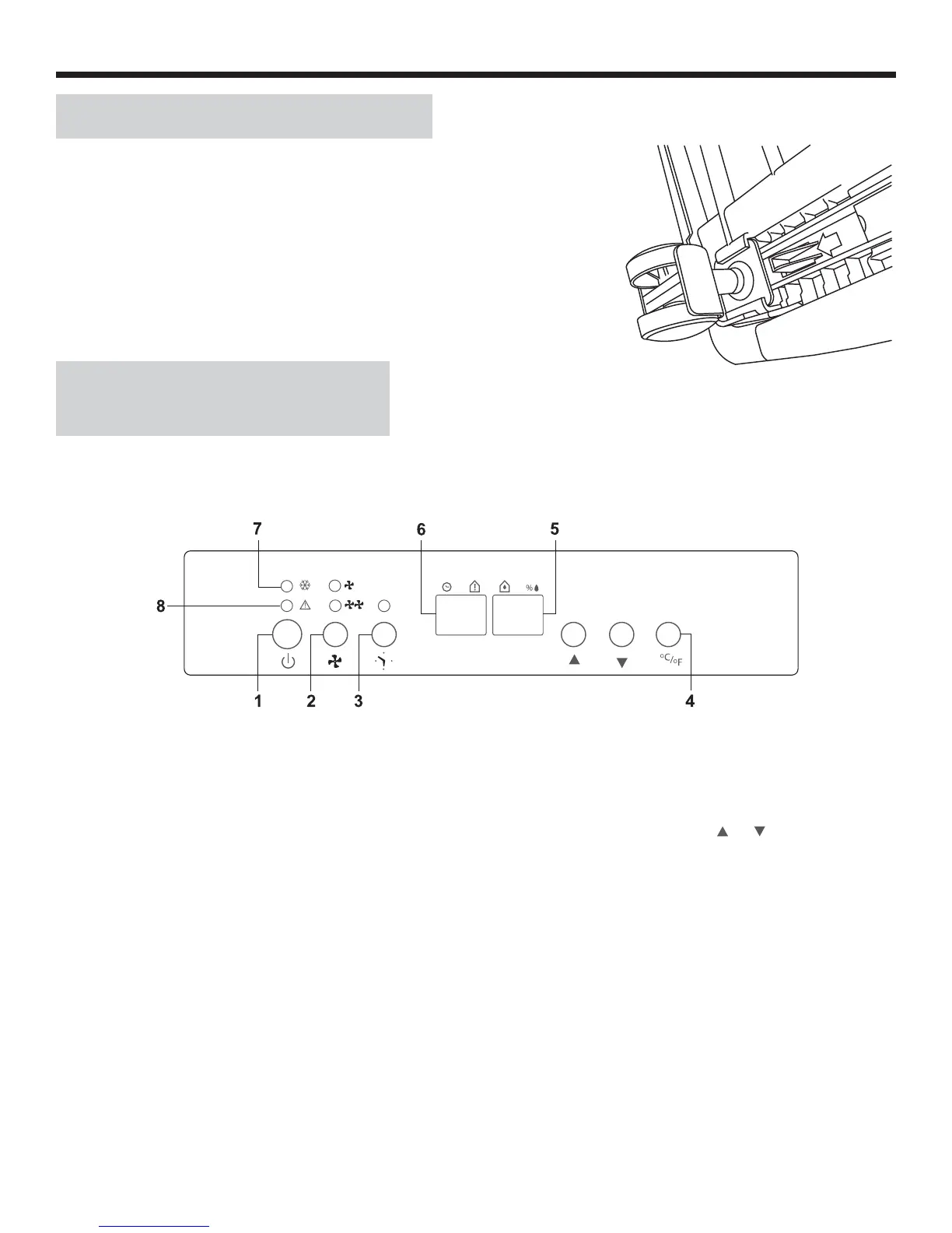
*REMARQUE : Le panneau de commande de l’appareil que vous avez acheté peut être légèrement différent en fonction
du numéro de modèle.
Lorsque vous poussez sur le bouton pour modi er les modes de fonctionnement, l’appareil émettra un signal
sonore pour indiquer un changement de modes.
1) BOUTON D’ALIMENTATION: Marche/ Arrêt
2) VITESSE DU VENTILATEUR: Bouton Haut/ Bas
3) Bouton de MINUTERIE: Lorsque l’appareil est en fonc-
tion, appuyez sur « MINUTERIE» a n de régler le nombre
d’heures de fonctionnement de l’appareil. Lorsque l’appareil
est en attente, appuyez sur « MINUTERIE» a n de régler
le nombre d’heures avant que l’appareil ne se mette en
marche. Réglez la minuterie de 1 à 24 heures. Pour an-
nuler la minuterie, procéder comme décrit plus haut, mais
réglez la « minuterie à arrêt», c.-àd. zéro heure.
Setting timer from 1-24 hours.
4) Le bouton º C/ º F: Appuyez sur le bouton interrupter
º C/ º F pour passer des degrés Celsius auz degrés Fahren-
heit.
5) AFFICHAGE DE L’HUMIDITÉ REGLÉE/ L’HUMIDITÉ
ACTUELLE: Lorsque l’appareil fonctionne, elle af che
l’humidite actuelle. Appuyez sur ou pour selectionner
le réglage d’humidité. La plage d’ajustement est à
l’intérieur de 30% à 90% HR. 10 secondes après avoir
réglé l’humidité, l’af chage retournera à l’humidité actuelle.
6) AFFICHAGE DE LA TEMPÉRATURE ACTUELLE/
MINUTERIE: Lorsque l’appareil fonctionne, elle af che la
température actuelle. Appuyez sur le bouton «MINUTE-
RIE» a n de régler l’appareil pour qu’il s’arrêt automa-
tiquement. 10 secondes après l’af chage de la minuterie,
l’af chage retournera à la température actuelle.
7) VOYANT LUMINEUX DE DÉGRIVAGE: Lorsque
la température est basse, l’appareil se met en mode
dégrivage et le boyant lumineux de dégrivage s’allume.
8) VOYANT LUMINEUX DE SEAU PLEIN: Lorsque le
réservoir d’eau est plein, le voyant lumineux de seau plein
d’allume.
CONSIGNES D’UTILISATION
17
CONSIGNES RELATIVES AU
PANNEAU DE COMMANDE
INSTALLATION DES ROULETTES
L’Installation des roulettes est recommandée a n d’éviter d’endommager le
plancher.
1. Dégager les roulettes du bac du déshumidi cateur.
2. Placer le déshumidi cateur en appui sur le côté.
3. Déterminer l’emplacement de la èche au bas du déshumidi cateur et
insérer la roulette selon la direction de la èche.
4. Enfoncer la roulette en la faisant glisser aussi loin que possible. La roulette
s’emboîte.
5. Répéter les étapes 1 à 4 pour les trois autres roulettes.

Related product manuals